Скачать СТО 50934765-001-2009 Система утепления стен, покрытий, фундаментов, полов и перегородок плитами из вспененного полистирола KNAUF Therm. Материалы для проектирования и рабочие чертежи узлов. Инструкции по монтажу. Техническое описаниеДата актуализации: 10.08.2017 СТО 50934765-001-2009
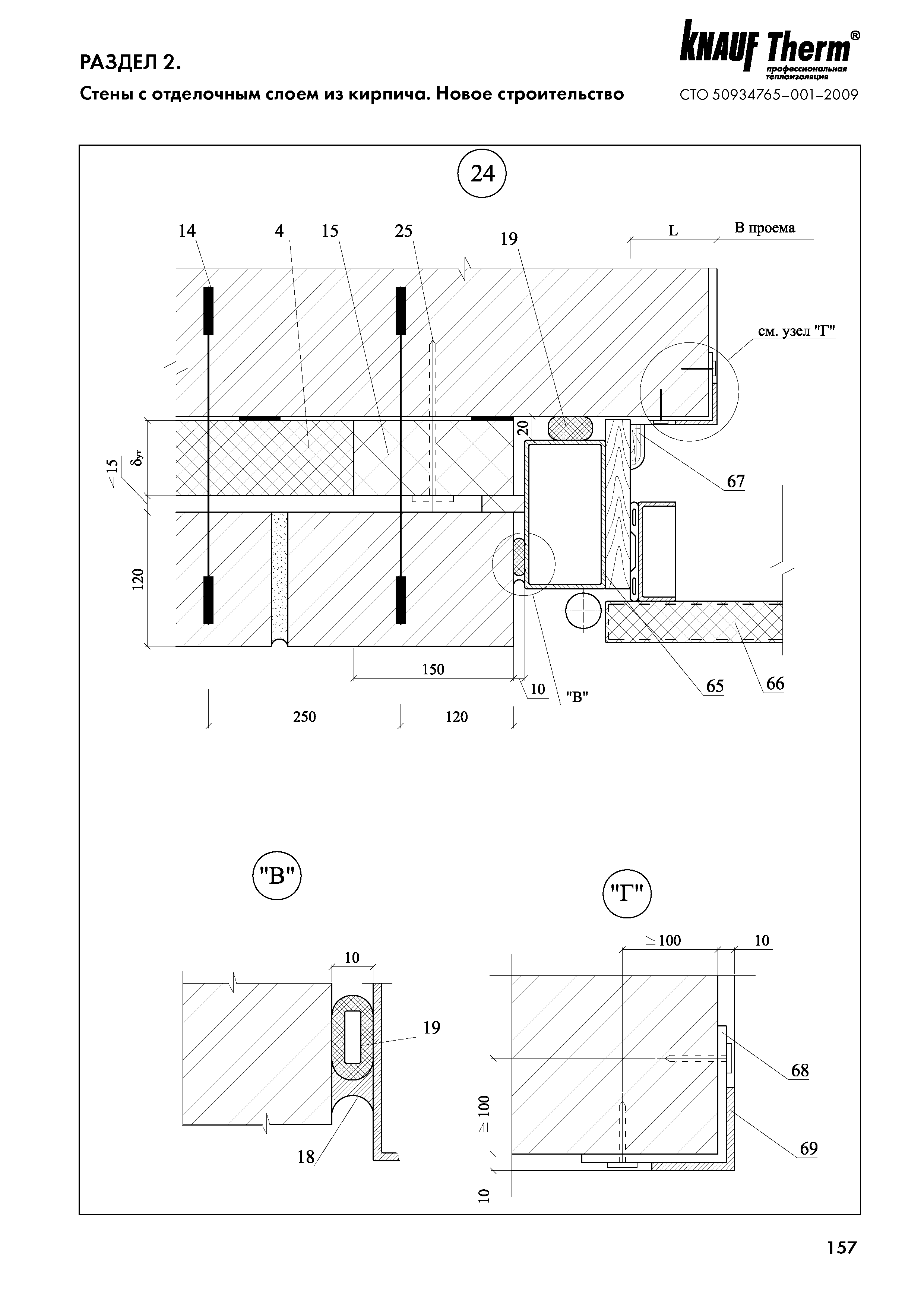
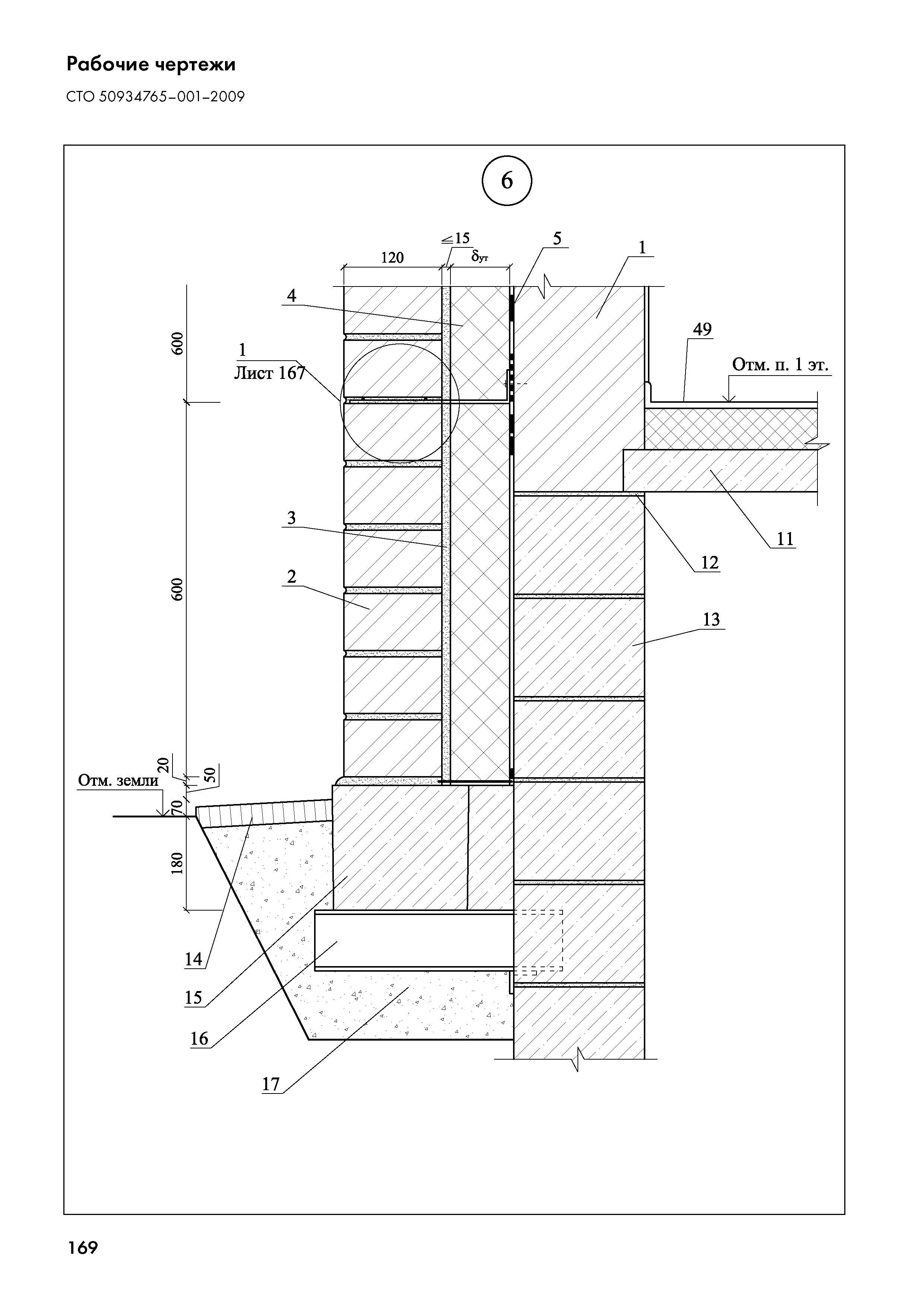
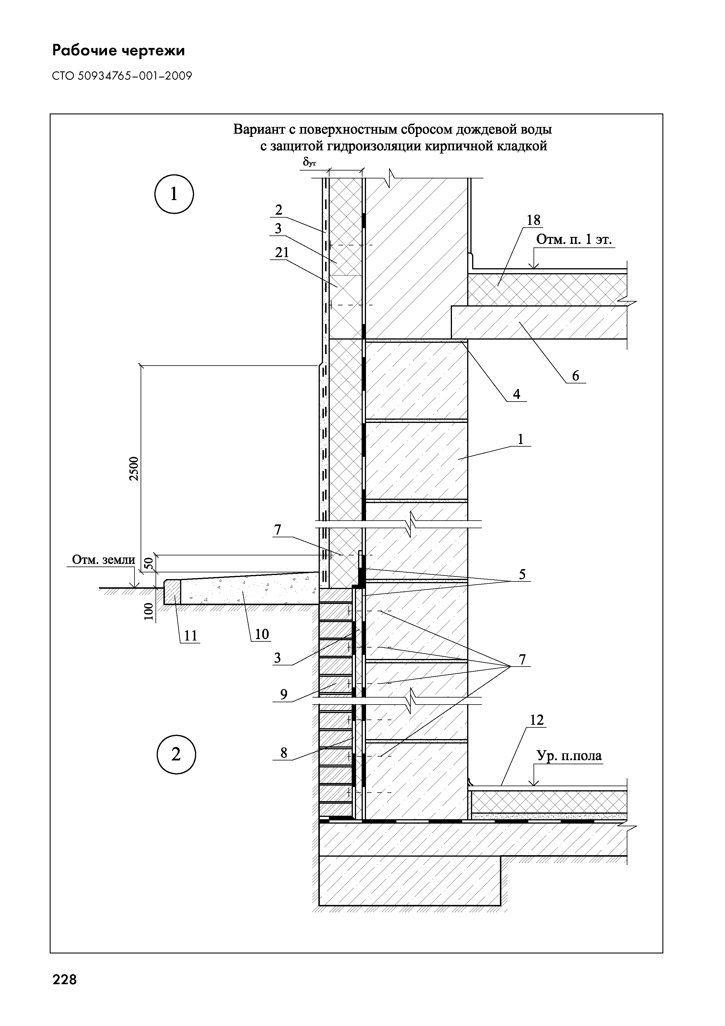
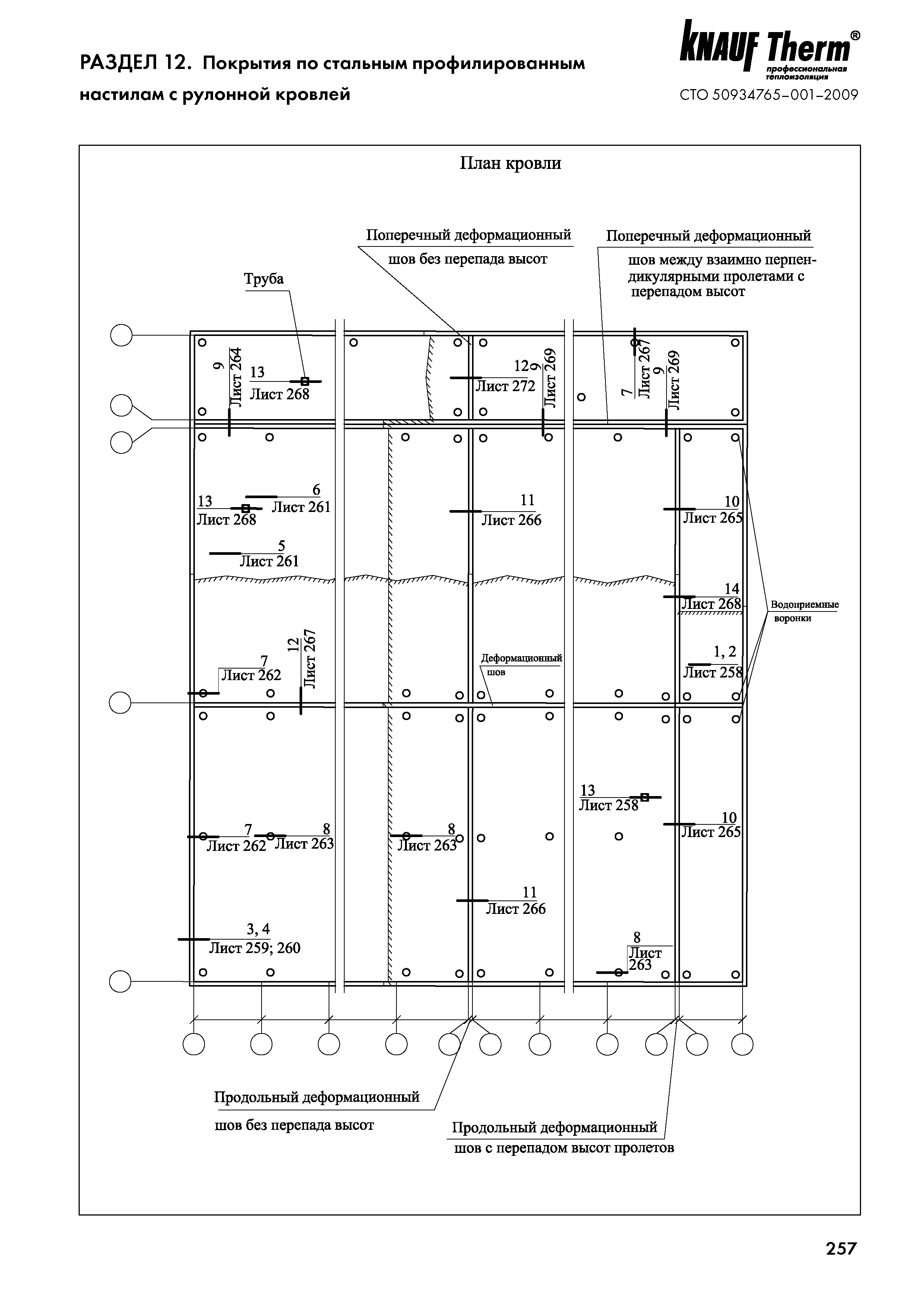
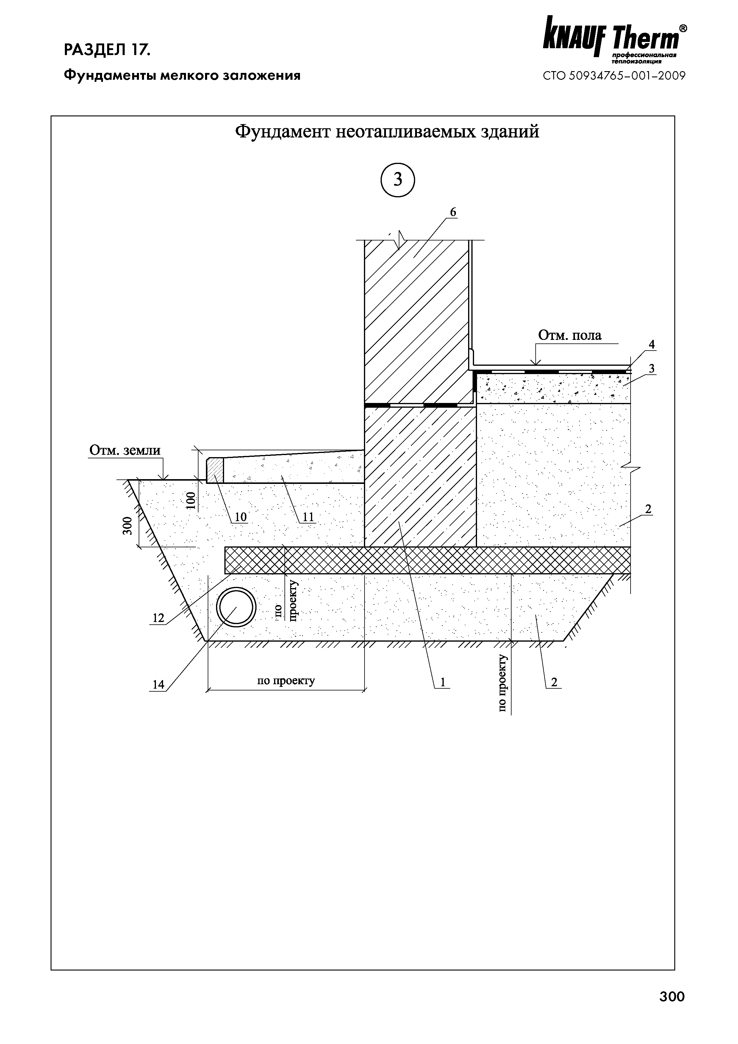
Система утепления стен, покрытий, фундаментов, полов и перегородок плитами из вспененного полистирола "KNAUF Therm". Материалы для проектирования и рабочие чертежи узлов. Инструкции по монтажу. Техническое описаниеОбозначение: | СТО 50934765-001-2009 | Обозначение англ: | STO 50934765-001-2009 | Статус: | действует | Название рус.: | Система утепления стен, покрытий, фундаментов, полов и перегородок плитами из вспененного полистирола "KNAUF Therm". Материалы для проектирования и рабочие чертежи узлов. Инструкции по монтажу. Техническое описание | Дата добавления в базу: | 01.09.2013 | Дата актуализации: | 05.05.2017 | Дата введения: | 01.06.2009 | Область применения: | Стандарт распространяется на систему тепло- и звукоизоляции стен, покрытий, полов, фундаментов и перегородок плитами из вспененного полистирола "KNAUF Therm" и устанавливает требования к проектированию и выполнению работ по монтажу таких систем. Стандарт организации разработан для применения во всех регионах России. KNAUF Therm является зарегистрированным товарным знаком. | Оглавление: | Введение 1. Область применения 2. Нормативные ссылки 3. Термины и определения 4. Общие положения 5. Требования к материалам и изделиям 6. Конструктивные решения стен 6.1 Стены с защитно-декоративным слоем из тонкослойной штукатурки 6.2 Стены с отделочным слоем из кирпича 6.3 Стены с теплоизоляцией, размещенной со стороны помещения 6.3.1 Стены с теплоизоляцией из гипсовых комбинированных панелей ГКП ПС (КНАУФ-ТЕРМОПАНЕЛЬ) 6.3.2 Стены поэлементной сборки с теплоизоляцией со стороны помещения 6.4 Стены с деревянным каркасом 6.5 Стены подвала 7. Конструктивные решения перегородок 8. Конструктивные решения покрытий 8.1 Покрытия со сборным или монолитным железобетонным основанием 8.2 Покрытия с профилированным настилом и рулонной кровлей 8.3 Конструктивные решения чердачных покрытий 9. Конструктивные решения полов 9.1 Полы жилых и промышленных зданий 9.2 Полы холодильников 10. Ограждающие конструкции мансард (скатные кровли) 11. Конструктивные решения фундаментов мелкого заложения Приложения | Разработан: | ОАО ЦНИИпромзданий ООО КНАУФ ПЕНОПЛАСТ
| Утверждён: | 01.06.2009 ООО КНАУФ ПЕНОПЛАСТ (22)
| Расположен в: |
| Нормативные ссылки: | |
                                                                                                                                                                                                                                                                                                                                                             
|