Информационная система
«Ёшкин Кот»

Скачать базу одним архивом
Скачать обновления
История создания базы
Карта сайта

Скачать МИ 2786-2003 Рекомендация. Государственная система обеспечения единства измерений. Установка массоизмерительная АСМА. Методики проверки

Дата актуализации: 10.08.2017

МИ 2786-2003

Рекомендация. Государственная система обеспечения единства измерений. Установка массоизмерительная "АСМА". Методики проверки

Обозначение: МИ 2786-2003
Обозначение англ: MI 2786-2003
Статус:действует
Название рус.:Рекомендация. Государственная система обеспечения единства измерений. Установка массоизмерительная "АСМА". Методики проверки
Дата добавления в базу:01.09.2013
Дата актуализации:05.05.2017
Дата введения:01.03.2003
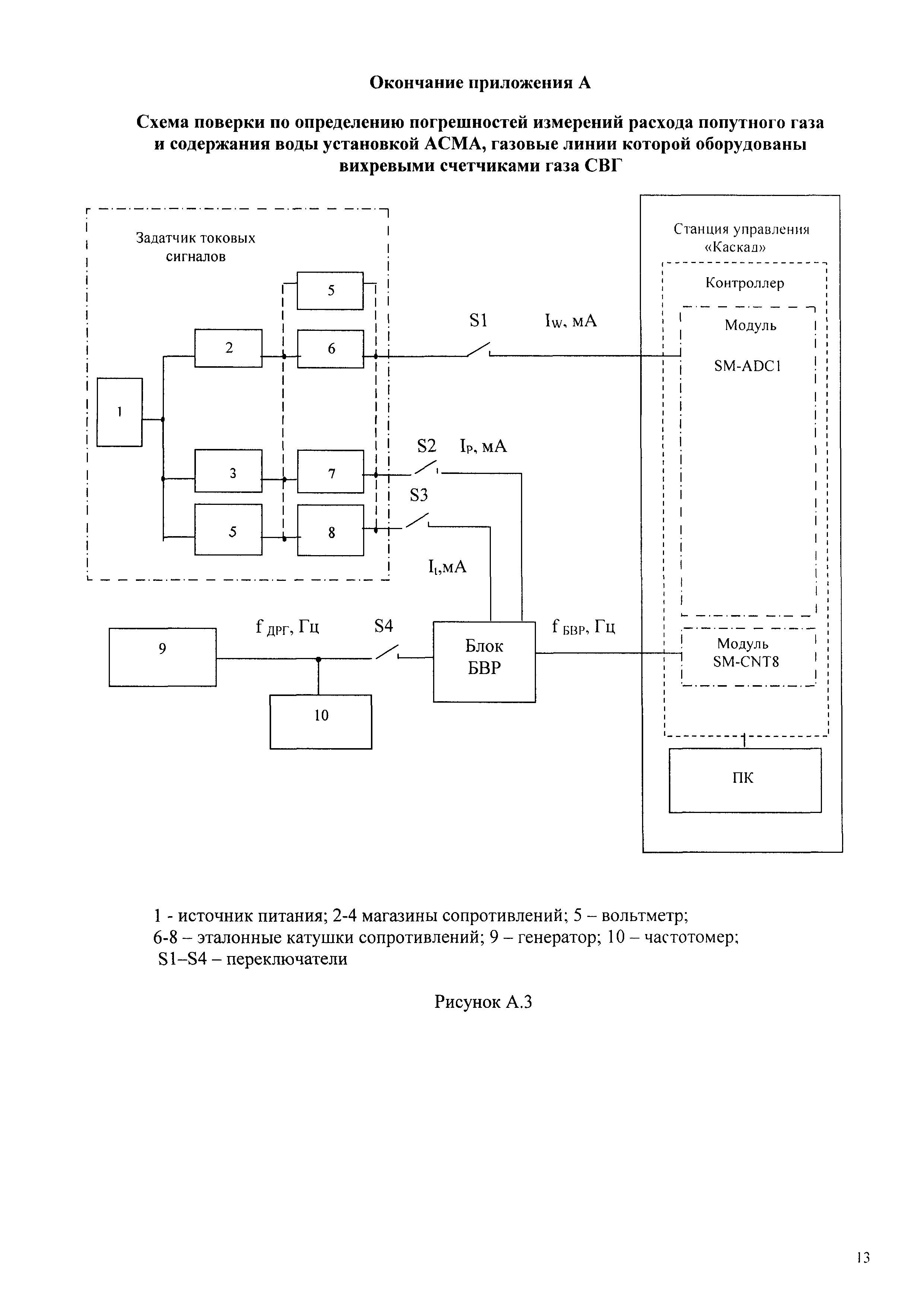
Область применения:Рекомендация распространяется на установку массоизмерительную АСМА стационарную или транспортабельную, предназначенную для измерений среднесуточных дебитов по жидкости, нефти и воде и расхода попутного газа нефтяных скважин, и устанавливает методику первичной и периодической поверок установки.
Оглавление:1. Операции поверки
2. Средства поверки
3. Требования безопасности и охраны окружающей среды
4. Условия поверки
5. Подготовка к поверке
6. Проведение поверки
7. Обработка результатов измерений
8. Оформление результатов поверки
Приложения
Разработан: ФГУП ГНМЦ ВНИИР
МОАО Нефтеавтоматика
Утверждён:10.12.2002 ГНМЦ ВНИИР
Расположен в:Техническая документация Экология ОБЩИЕ ПОЛОЖЕНИЯ. ТЕРМИНОЛОГИЯ. СТАНДАРТИЗАЦИЯ. ДОКУМЕНТАЦИЯ Стандартизация. Общие правила
Нормативные ссылки:
МИ 2786-2003МИ 2786-2003МИ 2786-2003МИ 2786-2003МИ 2786-2003МИ 2786-2003МИ 2786-2003МИ 2786-2003МИ 2786-2003МИ 2786-2003МИ 2786-2003МИ 2786-2003МИ 2786-2003МИ 2786-2003МИ 2786-2003МИ 2786-2003МИ 2786-2003МИ 2786-2003МИ 2786-2003МИ 2786-2003МИ 2786-2003МИ 2786-2003МИ 2786-2003

© 2013 Ёшкин Кот :-) Карта сайта