Информационная система
«Ёшкин Кот»

Скачать базу одним архивом
Скачать обновления
История создания базы
Карта сайта

Скачать СТО ЦКТИ 10.003-2007 Трубопроводы пара и горячей воды тепловых станций. Общие технические требования к изготовлению

Дата актуализации: 10.08.2017

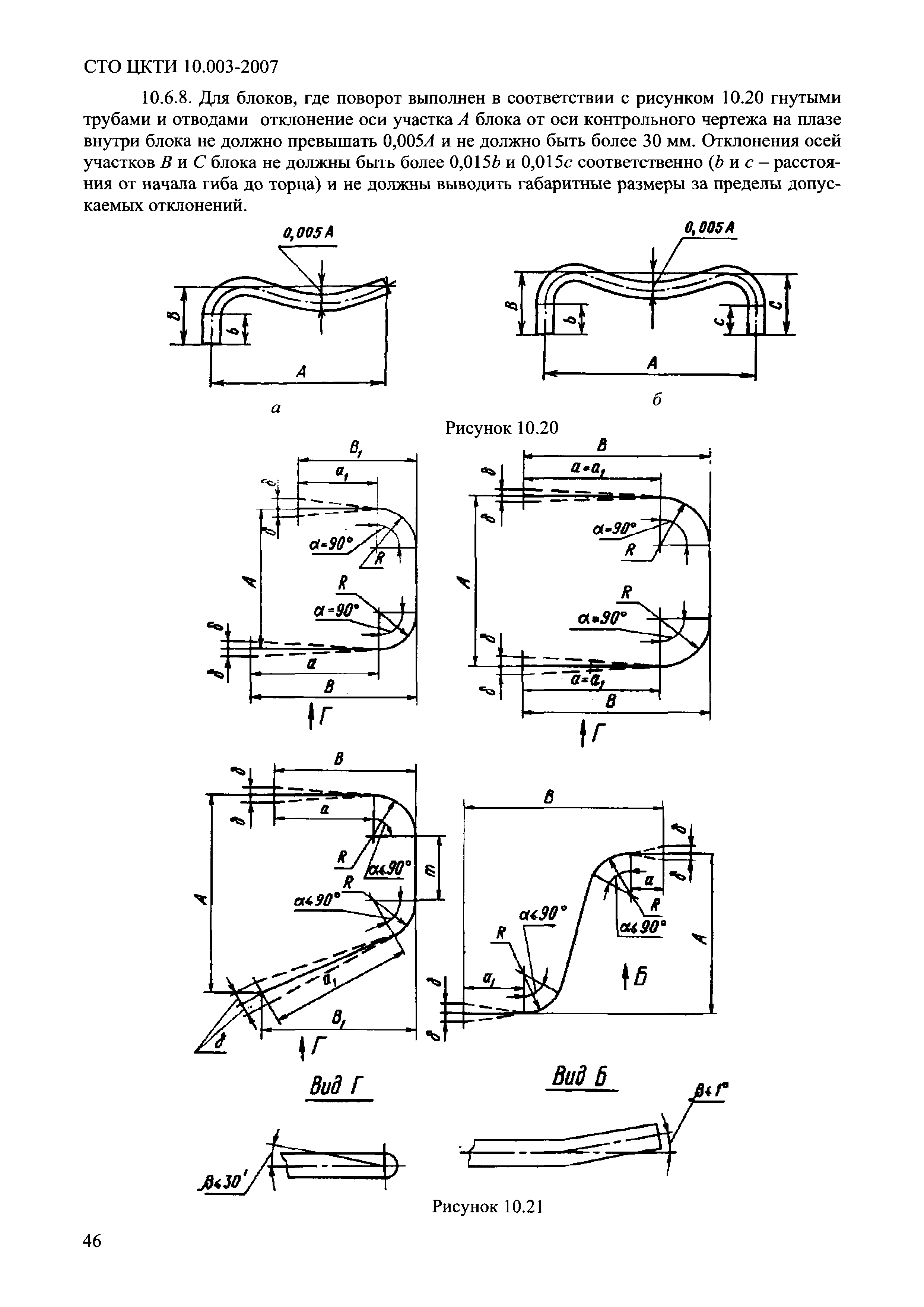
СТО ЦКТИ 10.003-2007

Трубопроводы пара и горячей воды тепловых станций. Общие технические требования к изготовлению

Обозначение: СТО ЦКТИ 10.003-2007
Обозначение англ: 10.003-2007
Статус:действует
Название рус.:Трубопроводы пара и горячей воды тепловых станций. Общие технические требования к изготовлению
Дата добавления в базу:01.09.2013
Дата актуализации:05.05.2017
Дата введения:01.09.2009
Область применения:Стандарт организации распространяется на детали и сборочные единицы трубопроводов пара и горячей воды тепловых станций и иных энергетических установок согласно ПБ 10-573 и устанавливает: - основные требования к изготовлению деталей, сборочных единиц и блоков трубопроводов, транспортирующих водяной пар с рабочим давлением более 0,07 МПа или горячую воду с температурой свыше 115 градусов Цельсия; - оценку качества изготовления трубопроводов по результатам неразрушающего и разрушающего контроля
Оглавление:1. Область применения
2. Нормативные ссылки
3. Термины, определения, сокращения, условные обозначения
4. Общие требования
5. Требования к конструкции
6. Требования к материалам и полуфабрикатам
7. Требования по подготовке материалов к запуску в производство
8. Требования к резке, разметке и маркировке заготовок
9. Требования подготовки элементов к сварке
10. Требования к изготовлению деталей и сборочных единиц
11. Требования к сварке
12. Контроль сварных соединений
13. Требования к термической обработке
14. Контрольные производственные соединения
15. Правила приемки
16. Методы контроля и испытаний
17. Оформление технической документации на сварочные работы
18. Комплектность
19. Маркировка, упаковка, транспортирование и хранение
20. Гарантии предприятия-изготовителя (поставщика)
Приложение А. Трубы бесшовные из углеродистых и кремнемарганцовистых сталей для трубопроводов тепловых станций. Сортамент на ресурс 200 тыс. часов
Приложение Б. Трубы бесшовные из хромомолибденованадиевых сталей для паропроводов тепловых станций. Сортамент на ресурс 200 тыс. часов
Приложение В. Швы сварных стыковых соединений трубопроводов тепловых станций. Типы и основные размеры
Приложение Г. Отбор, изготовление образцов и испытание деталей и сборочных единиц трубопроводов
Разработан: НПО ЦКТИ им. И.И. Ползунова
ООО Энергомаш (Белгород)
ОАО ТКЗ Красный котельщик
ОАО Машиностроительный завод ЗИО-ПОДОЛЬСК
ОАО Инжиниринговая компания ЗИОМАР
Производственный комплекс Сибэнергомаш ОАО ЭНЕРГОМАШКОРПОРАЦИЯ
Утверждён:30.07.2007 ОАО НПО ЦКТИ (261)
Принят:16.07.2007 Ростехнадзор (10-51/2106/4)
Издан: НПО ЦКТИ (2007 г. )
НПО ЦКТИ (2010 г. )
Расположен в:Техническая документация
Список изменений:
Заменяет собой:
Нормативные ссылки:
СТО ЦКТИ 10.003-2007СТО ЦКТИ 10.003-2007СТО ЦКТИ 10.003-2007СТО ЦКТИ 10.003-2007СТО ЦКТИ 10.003-2007СТО ЦКТИ 10.003-2007СТО ЦКТИ 10.003-2007СТО ЦКТИ 10.003-2007СТО ЦКТИ 10.003-2007СТО ЦКТИ 10.003-2007СТО ЦКТИ 10.003-2007СТО ЦКТИ 10.003-2007СТО ЦКТИ 10.003-2007СТО ЦКТИ 10.003-2007СТО ЦКТИ 10.003-2007СТО ЦКТИ 10.003-2007СТО ЦКТИ 10.003-2007СТО ЦКТИ 10.003-2007СТО ЦКТИ 10.003-2007СТО ЦКТИ 10.003-2007СТО ЦКТИ 10.003-2007СТО ЦКТИ 10.003-2007СТО ЦКТИ 10.003-2007СТО ЦКТИ 10.003-2007СТО ЦКТИ 10.003-2007СТО ЦКТИ 10.003-2007СТО ЦКТИ 10.003-2007СТО ЦКТИ 10.003-2007СТО ЦКТИ 10.003-2007СТО ЦКТИ 10.003-2007СТО ЦКТИ 10.003-2007СТО ЦКТИ 10.003-2007СТО ЦКТИ 10.003-2007СТО ЦКТИ 10.003-2007СТО ЦКТИ 10.003-2007СТО ЦКТИ 10.003-2007СТО ЦКТИ 10.003-2007СТО ЦКТИ 10.003-2007СТО ЦКТИ 10.003-2007СТО ЦКТИ 10.003-2007СТО ЦКТИ 10.003-2007СТО ЦКТИ 10.003-2007СТО ЦКТИ 10.003-2007СТО ЦКТИ 10.003-2007СТО ЦКТИ 10.003-2007СТО ЦКТИ 10.003-2007СТО ЦКТИ 10.003-2007СТО ЦКТИ 10.003-2007СТО ЦКТИ 10.003-2007СТО ЦКТИ 10.003-2007СТО ЦКТИ 10.003-2007СТО ЦКТИ 10.003-2007СТО ЦКТИ 10.003-2007СТО ЦКТИ 10.003-2007СТО ЦКТИ 10.003-2007СТО ЦКТИ 10.003-2007СТО ЦКТИ 10.003-2007СТО ЦКТИ 10.003-2007СТО ЦКТИ 10.003-2007СТО ЦКТИ 10.003-2007СТО ЦКТИ 10.003-2007СТО ЦКТИ 10.003-2007СТО ЦКТИ 10.003-2007СТО ЦКТИ 10.003-2007СТО ЦКТИ 10.003-2007СТО ЦКТИ 10.003-2007СТО ЦКТИ 10.003-2007СТО ЦКТИ 10.003-2007СТО ЦКТИ 10.003-2007СТО ЦКТИ 10.003-2007СТО ЦКТИ 10.003-2007СТО ЦКТИ 10.003-2007СТО ЦКТИ 10.003-2007СТО ЦКТИ 10.003-2007СТО ЦКТИ 10.003-2007СТО ЦКТИ 10.003-2007СТО ЦКТИ 10.003-2007СТО ЦКТИ 10.003-2007СТО ЦКТИ 10.003-2007СТО ЦКТИ 10.003-2007СТО ЦКТИ 10.003-2007СТО ЦКТИ 10.003-2007СТО ЦКТИ 10.003-2007СТО ЦКТИ 10.003-2007СТО ЦКТИ 10.003-2007СТО ЦКТИ 10.003-2007СТО ЦКТИ 10.003-2007СТО ЦКТИ 10.003-2007СТО ЦКТИ 10.003-2007СТО ЦКТИ 10.003-2007СТО ЦКТИ 10.003-2007СТО ЦКТИ 10.003-2007СТО ЦКТИ 10.003-2007СТО ЦКТИ 10.003-2007СТО ЦКТИ 10.003-2007СТО ЦКТИ 10.003-2007СТО ЦКТИ 10.003-2007СТО ЦКТИ 10.003-2007СТО ЦКТИ 10.003-2007СТО ЦКТИ 10.003-2007СТО ЦКТИ 10.003-2007СТО ЦКТИ 10.003-2007СТО ЦКТИ 10.003-2007СТО ЦКТИ 10.003-2007СТО ЦКТИ 10.003-2007СТО ЦКТИ 10.003-2007СТО ЦКТИ 10.003-2007

Текстовое изменение № 1 от 01.07.2009

№ 1№ 1№ 1№ 1№ 1№ 1№ 1№ 1№ 1№ 1№ 1№ 1№ 1№ 1№ 1№ 1№ 1

Текстовое изменение № 2 от 01.10.2009

№ 2№ 2№ 2№ 2№ 2№ 2№ 2№ 2№ 2№ 2№ 2№ 2№ 2№ 2№ 2№ 2

Текстовое изменение № 3 от 01.12.2009

№ 3

Текстовое изменение № 4 от 01.12.2014

№ 4№ 4№ 4№ 4№ 4№ 4№ 4№ 4№ 4№ 4№ 4№ 4№ 4№ 4№ 4

© 2013 Ёшкин Кот :-) Карта сайта