Скачать Шифр М24.04/07 Стены, покрытия (в т.ч. кровли), полы (в т.ч. холодильных камер), перегородки, ограждающие конструкции мансард и чердачные перекрытия с применением минераловатных плит ТЕХНО и пенополистирольных плит ТЕХНОПЛЕКС. Материалы для проектирования и рабочие чертежи узловДата актуализации: 10.08.2017 Шифр М24.04/07
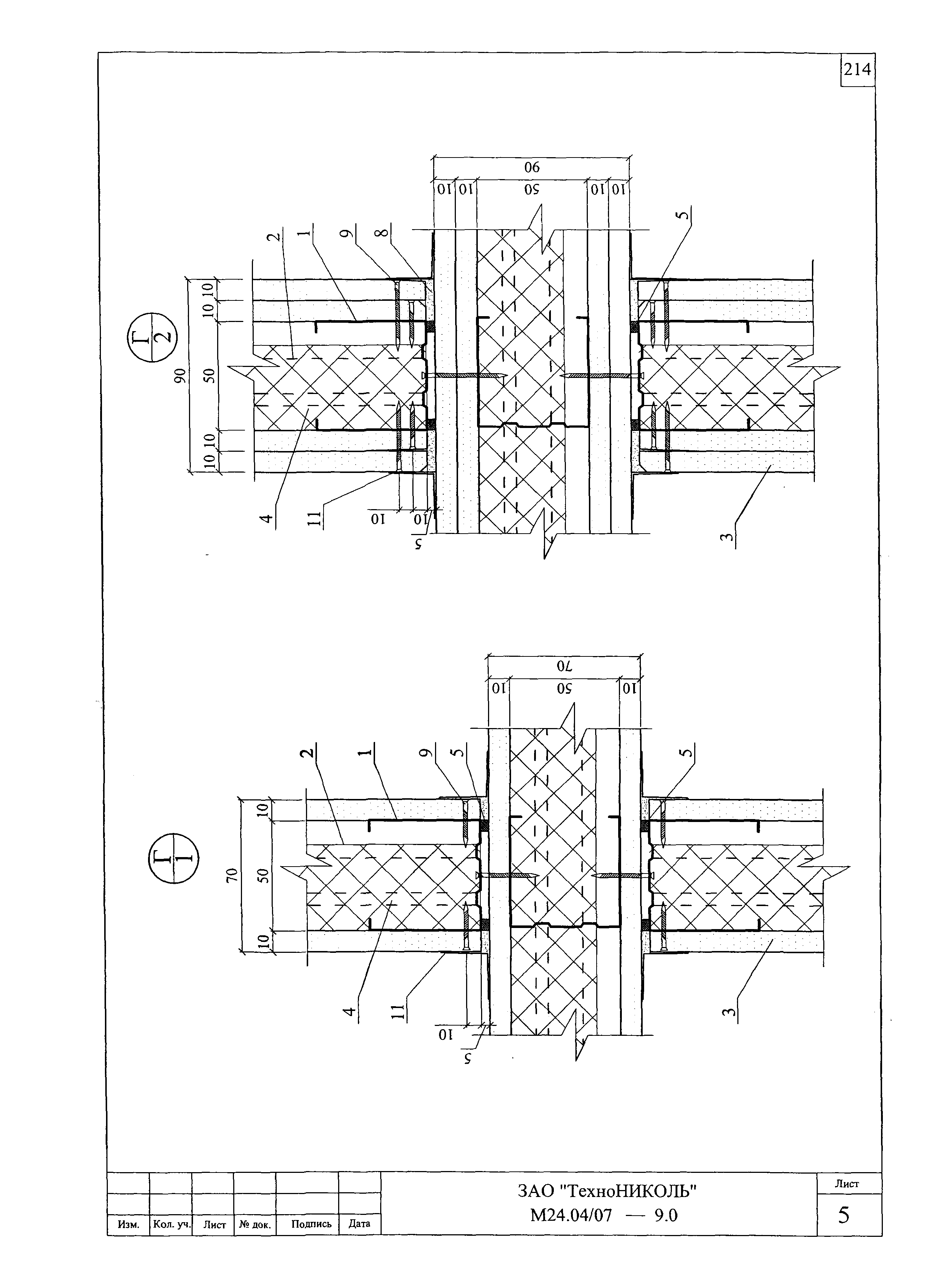
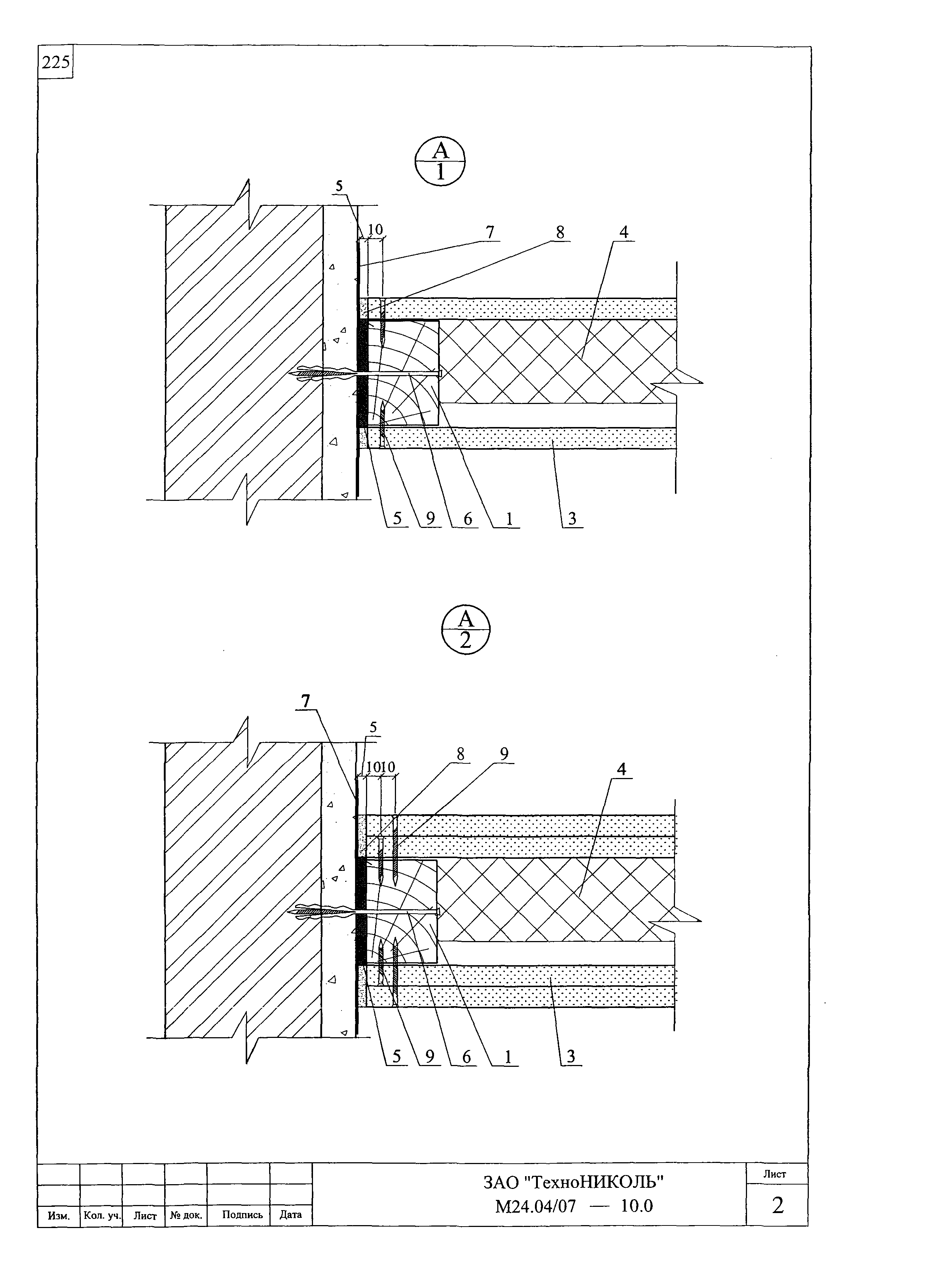
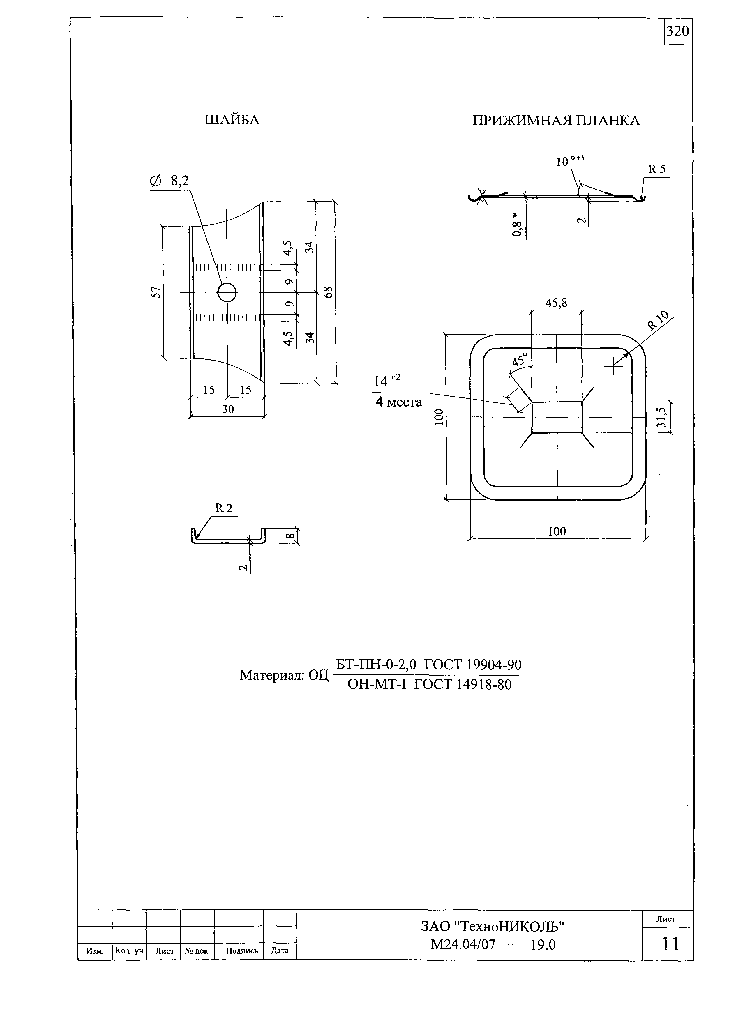
Стены, покрытия (в т.ч. кровли), полы (в т.ч. холодильных камер), перегородки, ограждающие конструкции мансард и чердачные перекрытия с применением минераловатных плит "ТЕХНО" и пенополистирольных плит "ТЕХНОПЛЕКС". Материалы для проектирования и рабочие чертежи узловОбозначение: | Шифр М24.04/07 | Обозначение англ: | М24.04/07 | Статус: | не определен законодательством | Название рус.: | Стены, покрытия (в т.ч. кровли), полы (в т.ч. холодильных камер), перегородки, ограждающие конструкции мансард и чердачные перекрытия с применением минераловатных плит "ТЕХНО" и пенополистирольных плит "ТЕХНОПЛЕКС". Материалы для проектирования и рабочие чертежи узлов | Дата добавления в базу: | 01.09.2013 | Дата актуализации: | 05.05.2017 | Дата введения: | 14.09.2007 | Оглавление: | Сертификат М24.04/07-ПЗ Пояснительная записка 1. Общие положения 2. Теплоизоляция 3. Нормы теплозащиты и данные по толщине теплоизоляции Конструктивные решения стен 4. Стены с отделочным слоем из традиционной штукатурки 5. Стены с отделочным слоем из тонкослойной штукатурки 6. Стены с защитной стенкой из кирпичной кладки 7. Каркасные стены 8. Стены с вентилируемой воздушной прослойкой 9. Стены подвала 10. Конструктивные решения покрытий 11. Железобетонные покрытия с рулонной кровлей. (Традиционная кровля) 12. Железобетонные покрытия с рулонной кровлей. (Инверсионная кровля) 13. Покрытия с профилированным настилом и рулонной кровлей 14. Покрытия с профилированным настилом и кровлей из оцинкованных стальных профлистов 15. Конструктивные решения чердачных перекрытий 16. Ограждающие конструкции мансард 17. Конструктивные решения полов 18. Полы холодильников 19. Перегородки М24.04/07-1 Раздел 1. Стены с защитно-декоративным слоем из традиционной штукатурки. Новое строительство и реконструкция М24.04/07-2 Раздел 2. Стены с защитно-декоративным слоем из тонкослойной штукатурки. Новое строительство и реконструкция М24.04/07-3 Раздел 3. Стены с отделочным слоем из кирпича. Новое строительство М24.04/07-4 Раздел 4. Стены с отделочным слоем из кирпича. Реконструкция М24.04/07-5 Раздел 5. Стены с теплоизоляционным слоем, расположенным со стороны помещения. Реконструкции М24.04/07-6 Раздел 6. Каркасные конструкции стен с обшивками из стального профлиста М24.04/07-7 Раздел 7. Стены подвала М24.04/07-8 Раздел 8 . Стены с вентилируемой воздушной прослойкой М24.04/07-9 Раздел 9. Перегородки с металлическим каркасом М24.04/07-10 Раздел 10. Перегородки с деревянным каркасом М24.04/07-11 Раздел 11. Чердачные перекрытия М24.04/07-12 Раздел 12. Полы жилых и промышленных зданий М24.04/07-13 Раздел 13. Полы холодильников М24.04/07-14 Раздел 14. Ограждающие конструкции мансард М24.04/07-15 Раздел 15. Покрытие со сборным или монолитным железобетонным основанием (традиционное покрытие) М24.04/07-16 Раздел 16. Покрытие со сборным или монолитным железобетонным основанием (инверсионное покрытие) М24.04/07-17 Раздел 17. Покрытия по стальным профилированным настилам с рулонной кровлей. М24.04/07-18 Раздел 18. Покрытия по стальным профилированным настилам с кровлей из стальных профилированных листов. М24.04/07-19 Раздел 19. Изделия комплектующие Приложение 1. Пример расчета повышения теплозащиты стены Приложение 2. Пример расчета парозащиты стены Приложение 3. Пример определения показателя теплоусвоения поверхности пола по СНиП 23-02-2003 Приложение 4. Пример определения индекса изоляции воздушного шума междуэтажным перекрытием жилого дома. Приложение 5. Пример определения индекса изоляции воздушного шума междуэтажным перекрытием жилого дома. Приложение 6. Пример определения индекса приведенного уровня ударного шума под железобетонным перекрытием жилого дома. | Разработан: | ОАО ЦНИИпромзданий
| Утверждён: | ОАО ЦНИИпромзданий (TsNIIpromzdaniy OAO )
| Издан: | ОАО ЦНИИпромзданий
| Расположен в: |
| Заменяет собой: | |
                                                                                                                                                                                                                                                                                                                                            
|