Скачать Шифр М24.32/05 Наружные стены, стены подвала, покрытия, чердачные перекрытия, перегородки, ограждающие конструкции мансард и полы с теплоизоляцией из минераловатных плит производства ЗАО ТЕХНОНИКОЛЬ. Материалы для проектирования и рабочие чертежи узловДата актуализации: 10.08.2017 Шифр М24.32/05
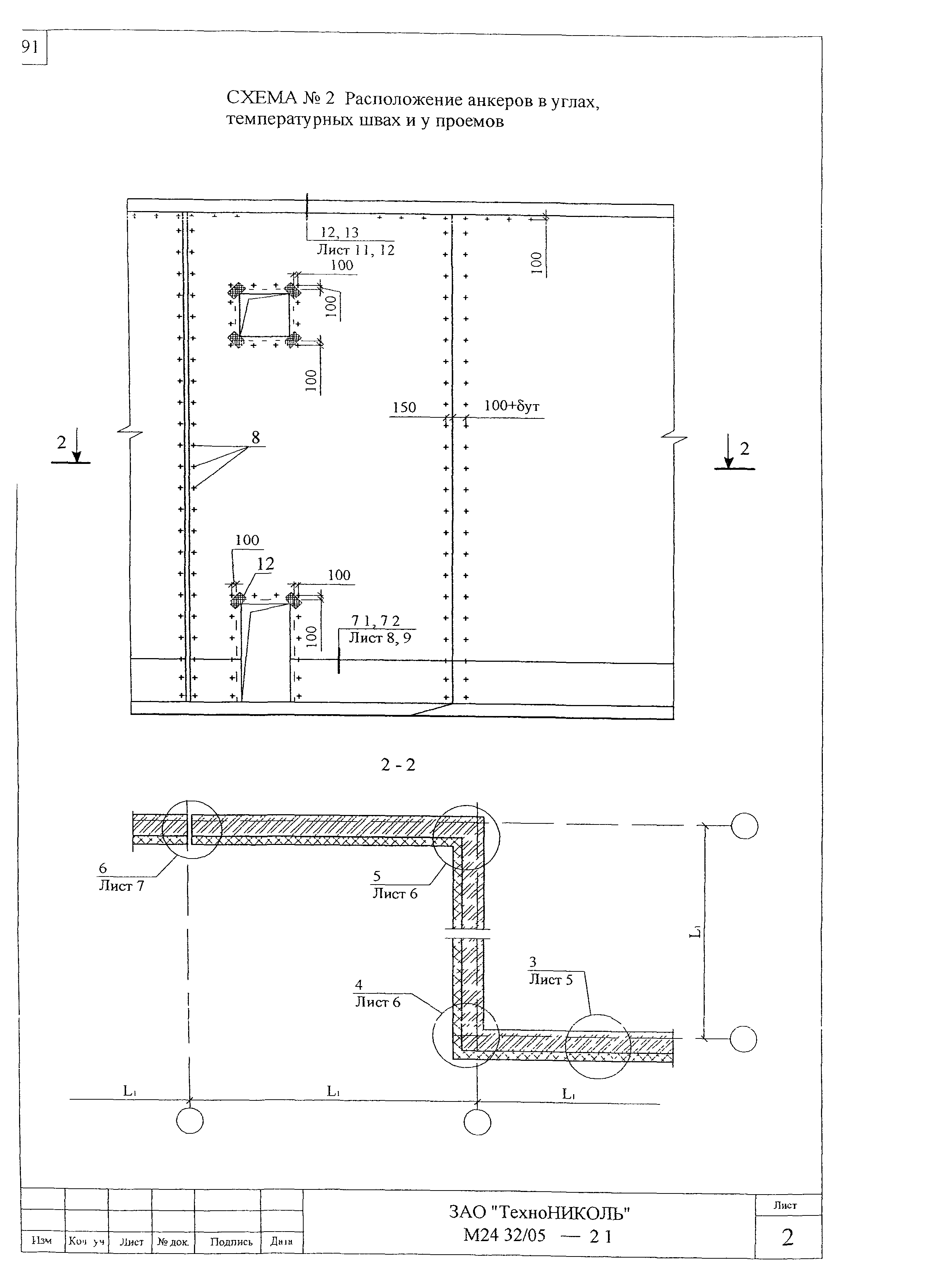
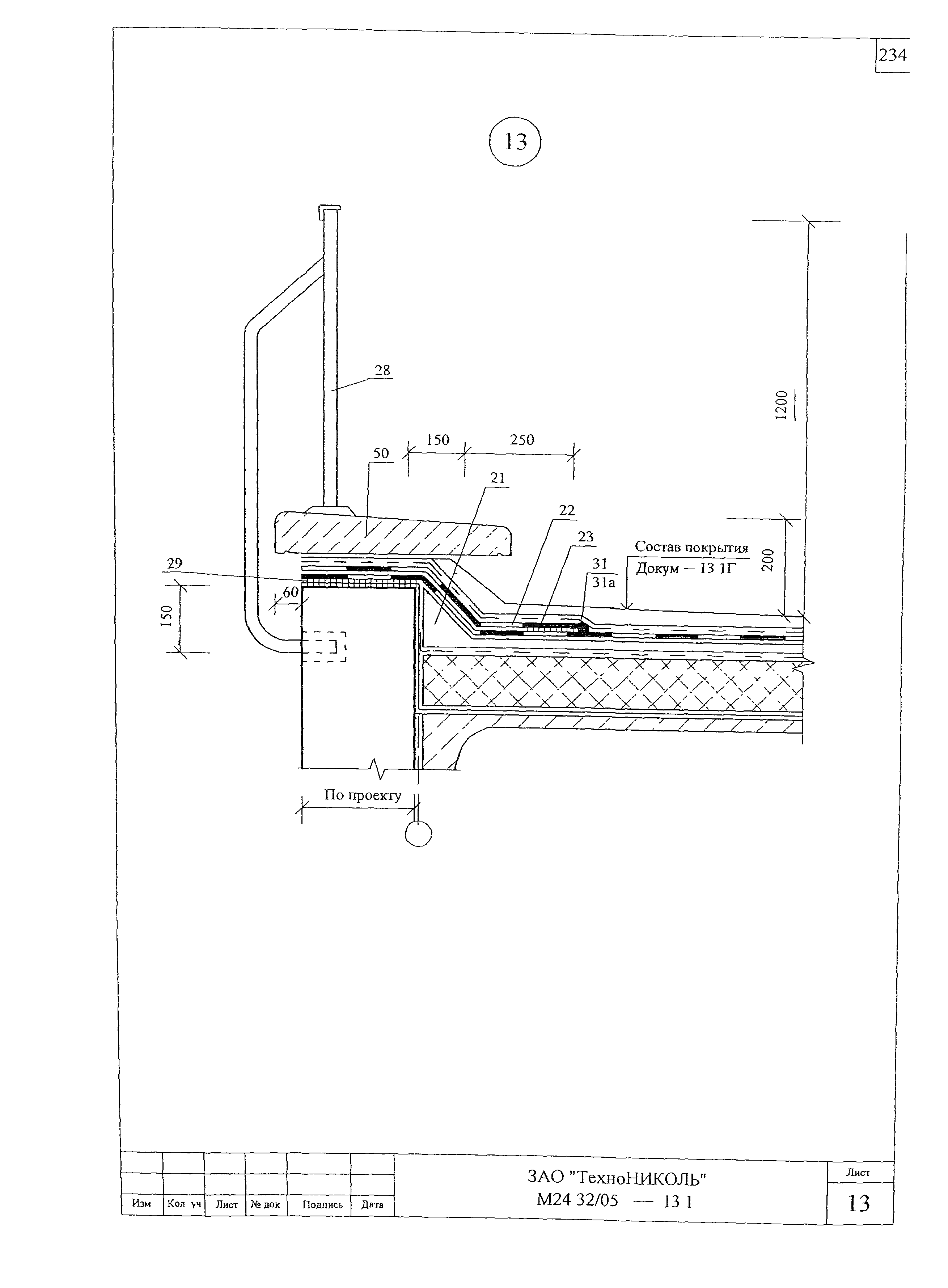
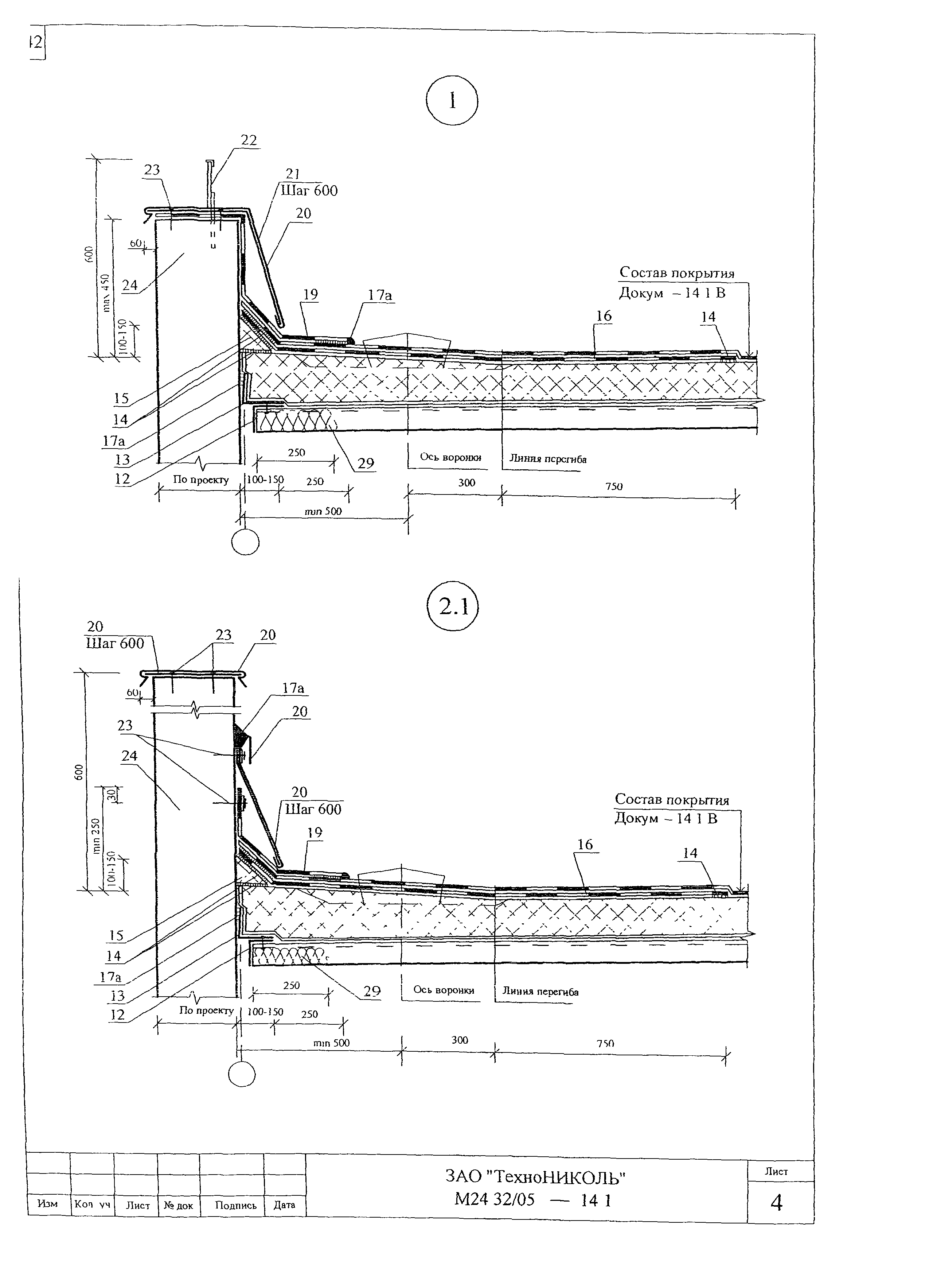
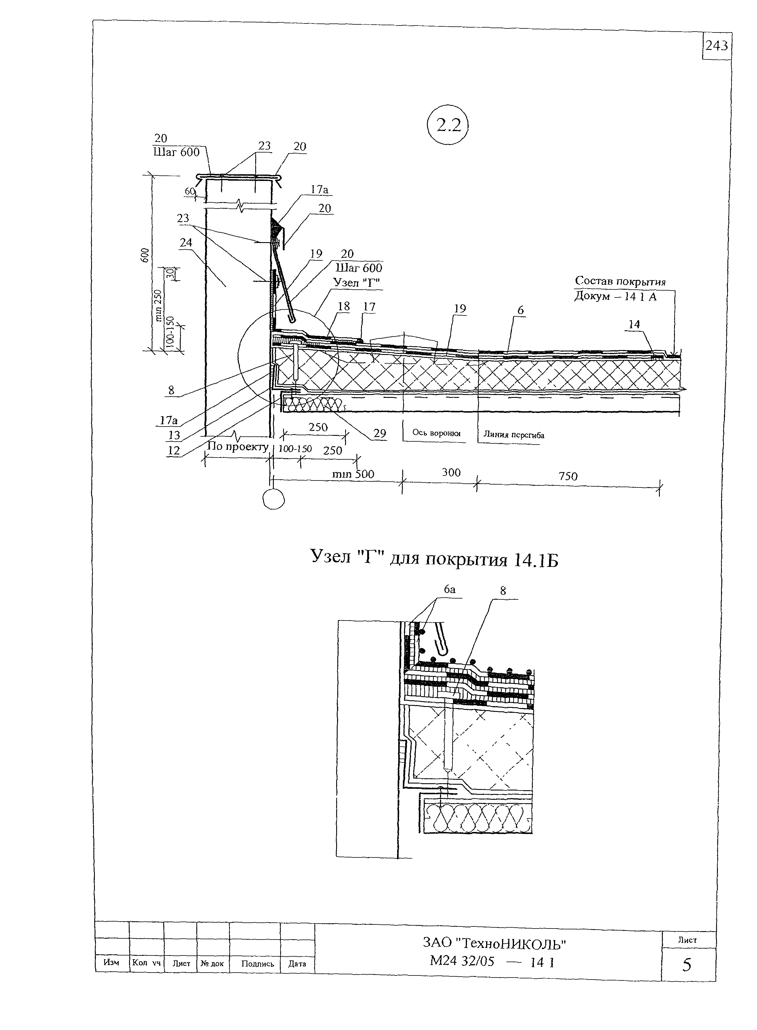
Наружные стены, стены подвала, покрытия, чердачные перекрытия, перегородки, ограждающие конструкции мансард и полы с теплоизоляцией из минераловатных плит производства ЗАО "ТЕХНОНИКОЛЬ". Материалы для проектирования и рабочие чертежи узловОбозначение: | Шифр М24.32/05 | Обозначение англ: | М24.32/05 | Статус: | не действует | Название рус.: | Наружные стены, стены подвала, покрытия, чердачные перекрытия, перегородки, ограждающие конструкции мансард и полы с теплоизоляцией из минераловатных плит производства ЗАО "ТЕХНОНИКОЛЬ". Материалы для проектирования и рабочие чертежи узлов | Дата добавления в базу: | 01.09.2013 | Дата актуализации: | 05.05.2017 | Дата введения: | 29.11.2005 | Область применения: | Альбом содержит материалы для проектирования и рабочие чертежи трехслойных стен, стен подвала, покрытий, чердачных перекрытий, перегородок, ограждающих конструкций мансард и полов отапливаемых зданий различного назначения с теплоизоляцией из минераловатных плит ТЕХНО БЛОК (ТУ 5762-013-17925162-2003), ТЕХНО ВЕНТ (ТУ 5762-016-17925162-2004), ТЕХНО ВЕНТ+ (ТУ 5762-016-17925162-2004), ТЕХНО ЛАЙТ (ТУ 5762-013-17925162-2003), ТЕХНО РУФ В (ТУ 5762-015-17925162-2004), ТЕХНО РУФ Н (ТУ 5762-015-179251162-2004), ТЕХНО РУФ (ТУ 5762-015-17925162-2004), ТЕХНО ФАС (ТУ 5762-025-17925162-2005), ТЕХНО ПЛАСТ (ТУ 5762-025-17925162-2005) и ТЕХНО ФЛОР и ТЕХНО ФЛОР+ (ТУ 5762-038-17925162-2005). | Оглавление: | Пояснительная записка 1. Общие положения 2. Теплоизоляция 3. Нормы теплозащиты 4. Стены без вентилируемой воздушной прослойки с отделочным слоем из штукатурки и кирпича 5. Каркасные стены 6. Стены с вентилируемой воздушной прослойкой 7. Стены подвала 8. Конструктивные решения покрытий 9. Железобетонные покрытия с рулонной кровлей 10. Покрытия с профилированным настилом и рулонной кровлей 11. Покрытия с профилированным настилом и кровлей из оцинкованных стальных профлистов 12. Конструктивные решения чердачных перекрытий 13. Ограждающие конструкции мансард 14. Конструктивные решения полов на лагах 15. Перегородки Раздел 1. Стены с защитно-декоративным слоем из традиционной штукатурки. Новое строительство и реконструкция Раздел 2. Стены с защитно-декоративным слоем из тонкослойной штукатурки. Новое строительство и реконструкция Раздел 3. Стены с отделочным слоем из кирпича. Новое строительство Раздел 4. Стены с отделочным слоем из кирпича. Реконструкция Раздел 5. Каркасные конструкции стен с обшивками из стального профлиста Раздел 6. Стены подвала Раздел 7. Стены с вентилируемой воздушной прослойкой Раздел 8. Перегородки с металлическим каркасом Раздел 9. Перегородки с деревянным каркасом Раздел 10. Чердачные перекрытия Раздел 11. Полы Раздел 12. Ограждающие конструкции мансард Раздел 13. Покрытие со сборным или монолитным железобетонным основанием Раздел 14. Покрытия по стальным профилированным настилам с рулонной кровлей Раздел 15. Покрытия по стальным профилированным настилам с кровлей из стальных профилированных листов Раздел 16. Изделия комплектующие Приложения Приложение 1. Пример расчета повышения теплозащиты станы Приложение 2. Пример расчета парозащиты стены Приложение 3. Пример определения показателя теплоусвоения поверхности пола по СНиП 23-02-2003 Приложение 4. Пример определения индекса изоляции воздушного шума междуэтажным перекрытием жилого дома Приложение 5. Пример определения индекса изоляции воздушного шума междуэтажным перекрытием жилого дома Приложение 6. Пример определения индекса приведенного уровня ударного шума под железобетонным перекрытием жилого дома | Разработан: | ОАО ЦНИИпромзданий
| Утверждён: | 29.11.2005 ОАО ЦНИИпромзданий (TsNIIpromzdaniy OAO )
| Расположен в: |
| Чем заменён: | | Нормативные ссылки: | |
                                                                                                                                                                                                                                                                                         
|