Информационная система
«Ёшкин Кот»

Скачать базу одним архивом
Скачать обновления
История создания базы
Карта сайта

Скачать Отраслевой руководящий документ. Техническая эксплуатация железобетонных конструкций производственных зданий. Часть I

Дата актуализации: 10.08.2017

Отраслевой руководящий документ. Техническая эксплуатация железобетонных конструкций производственных зданий. Часть I

Статус:действует
Название рус.:Отраслевой руководящий документ. Техническая эксплуатация железобетонных конструкций производственных зданий. Часть I
Дата добавления в базу:01.09.2013
Дата актуализации:05.05.2017
Область применения:Надзор за состоянием железобетонных конструкций, особенности надзора при воздействии на конструкции агрессивных сред, высоких и низких температур. Классификация технических состояний железобетонных конструкций. Дефекты и повреждения основных несущих железобетонных конструкций. Требования к содержанию и эксплуатации железобетонных конструкций.
Оглавление:Введение
1 Основные положения
2 Надзор за состоянием железобетонных конструкций
3 Особенности надзора за состоянием железобетонных конструкций при воздействии агрессивных сред
4 Особенности надзора за состоянием железобетонных конструкций при воздействии высоких температур
5 Особенности надзора за состоянием железобетонных конструкций при воздействии низких температур
6 Классификация технических состояний конструкций
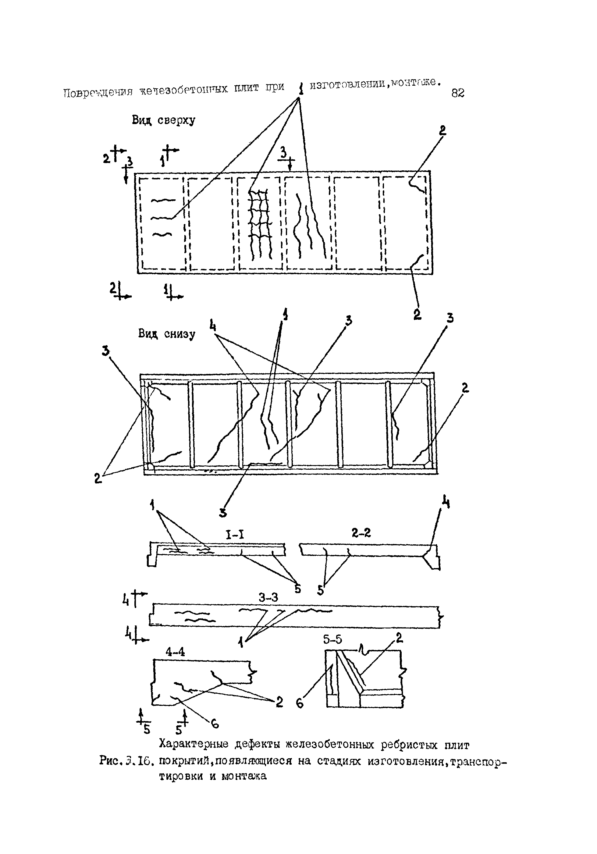
7 Дефекты и повреждения железобетонных колонн
8 Дефекты и повреждения железобетонных сборных подкрановых балок
9 Дефекты и повреждения железобетонных стропильных и подстропильных ферм
10 Дефекты и повреждения железобетонных стропильных и подстропильных балок
11 Дефекты и повреждения железобетонных плит покрытий
12 Дефекты и повреждения плит перекрытий
13 Дефекты стен промышленных зданий из железобетонных панелей
14 Дефекты и повреждения монолитных железобетонных конструкций индивидуального изготовления
15 Требования к содержанию и эксплуатации железобетонных конструкций
Приложение 1. Основные термины и определения
Приложение 2. Предельные прогибы элементов железобетонных конструкций
Приложение 3. Данные о степени агрессивности производств
Приложение 4. Основные виды арматурной стали и область ее применения в железобетонных конструкциях
Приложение 5. Область применения углеродистой стали для закладных деталей
Разработан: Харьковский Промстройниипроект
НИИЖБ
Научно-инженерная Ассоциация ЭРКОН
ЧТБ Новые технологии
Экспертно-консультативный центр Металлург
Утверждён:21.04.1993 Комитет Российской Федерации по металлургии
Принят:30.04.1993 Отдел содержания основных фондов Комитета РФ по металлургии
Расположен в:Техническая документация Экология СТРОИТЕЛЬНЫЕ МАТЕРИАЛЫ И СТРОИТЕЛЬСТВО Строительство Торговые и промышленные здания Строительство Нормативные документы Отраслевые и ведомственные нормативно-методические документы Проектирование и строительство объектов других министерств
Нормативные ссылки:

© 2013 Ёшкин Кот :-) Карта сайта