Скачать Шифр М24.30/06 Наружные стены, стены подвала, покрытия, чердачные перекрытия и полы с теплоизоляцией из пеностекла FOAMGLAS фирмы Pittsburgh Corning (Бельгия)Дата актуализации: 10.08.2017 Шифр М24.30/06
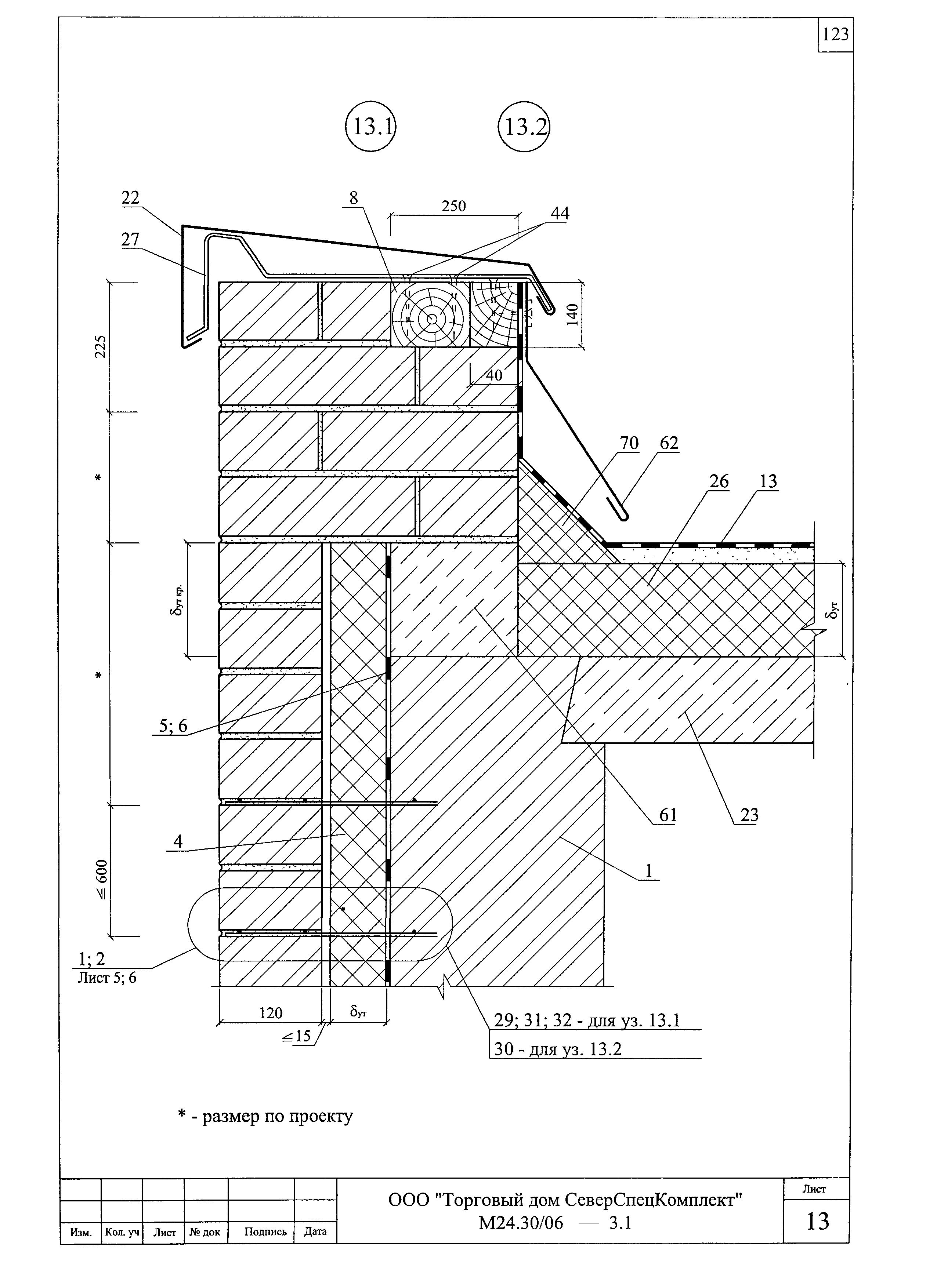
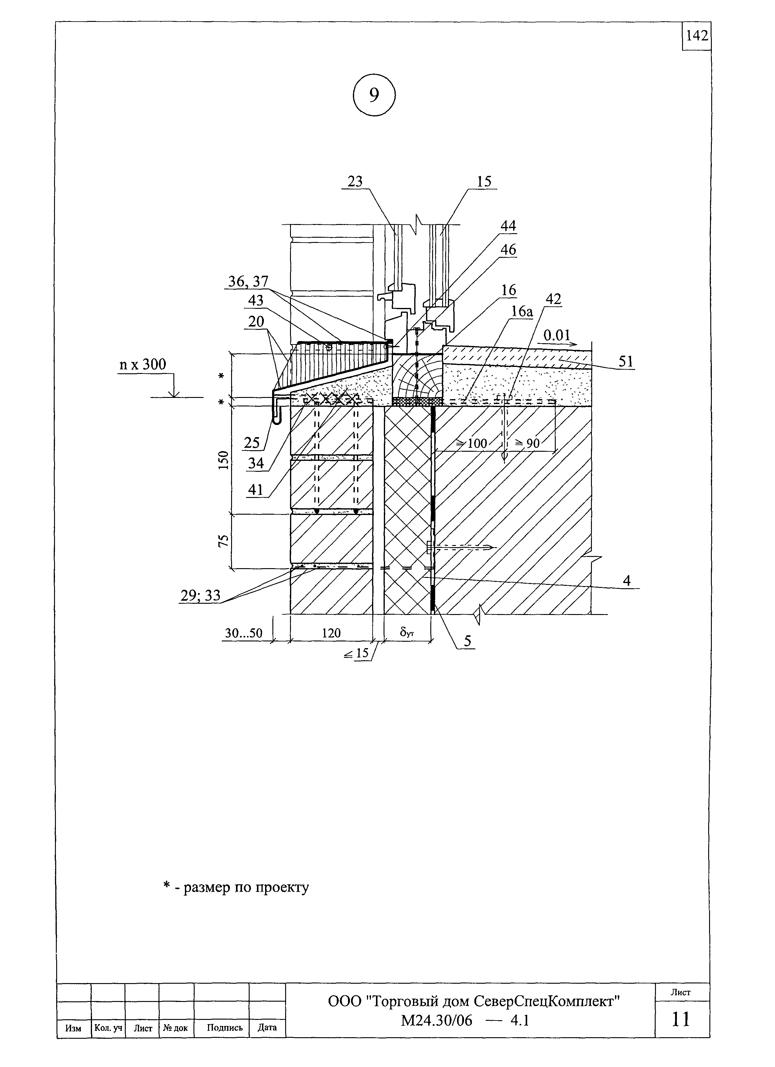
Наружные стены, стены подвала, покрытия, чердачные перекрытия и полы с теплоизоляцией из пеностекла "FOAMGLAS" фирмы "Pittsburgh Corning" (Бельгия)Обозначение: | Шифр М24.30/06 | Обозначение англ: | М24.30/06 | Статус: | не определен законодательством | Название рус.: | Наружные стены, стены подвала, покрытия, чердачные перекрытия и полы с теплоизоляцией из пеностекла "FOAMGLAS" фирмы "Pittsburgh Corning" (Бельгия) | Дата добавления в базу: | 01.09.2013 | Дата актуализации: | 05.05.2017 | Дата введения: | 27.09.2006 | Область применения: | Альбом содержит материалы для проектирования и рабочие чертежи наружных стен, стен подвала, покрытий и полов отапливаемых зданий различного назначения и полов холодильников с теплоизоляцией из плитного пеностекла "Фоамглас". | Оглавление: | Сертификат М24.30/06-ПЗ Пояснительная записка 1. Общие положения 2. Теплоизоляция 3. Нормы теплозащиты и данные по толщине теплоизоляции 4. Стены без вентилируемой воздушной прослойки с отделочным слоем из штукатурки и кирпича 5. Стены с вентилируемой воздушной прослойкой 6. Стены подвала 7. Конструктивные решения полов 8. Полы холодильников 9. Конструктивные решения покрытий 10. Железобетонные покрытия с рулонной или мастичной кровлей 11. Покрытия с профилированным настилом и рулонной или мастичной кровлей 12. покрытия мансард, в т.ч. с деревянными несущими конструкциями 13. Покрытие с кровлей из металлических листов 14. Конструктивные решения чердачных перекрытий М24.30/06-1 Раздел 1. Стены с защитно-декоративным слоем из традиционной штукатурки. Новое строительство и реконструкция М24.30/06-2 Раздел 2. Стены с защитно-декоративным слоем из тонкослойной штукатурки. Новое строительство и реконструкция М24.30/06-3 Раздел 3. Стены с отделочным слоем из кирпича. Новое строительство М24.30/06-4 Раздел 4. Стены с отделочным слоем из кирпича. Реконструкция М24.30/06-5 Раздел 5. Стены с вентилируемой воздушной прослойкой М24.30/06-6 Раздел 6. Стены подвала М24.30/06-7 Раздел 7. Полы М24.30/06-8 Раздел 8. Полы холодильников М24.30/06-9 Раздел 9. Покрытие по сборному или монолитному железобетонному основанию М24.30/06-10 Раздел 10. Покрытие по стальным профилированным настилами М24.30/06-11 Раздел 11. Покрытия мансард, в т.ч. Деревянному основанию М24.30/06-12 Раздел 12. Покрытия с кровлей из металлических листов М24.30/06-13 Раздел 13. Чердачные перекрытия М24.30/06-14 Раздел 14. Комплектующие изделия Приложение 1. Пример расчета толщины теплоизоляции стены подвала Приложение 2. Пример расчета повышения теплозащиты стены Приложение 3. Пример расчета парозащиты стены Приложение 4. Пример определения показателя теплоусвоения поверхности пола по СНиП 23-02-2003 | Разработан: | ЦНИИпромзданий
| Утверждён: | 25.09.2006 ОАО ЦНИИпромзданий (TsNIIpromzdaniy OAO 426с/06)
| Издан: | ЦНИИпромзданий (2006 г. )
| Расположен в: |
| Нормативные ссылки: | |
                                                                                                                                                                                                                                                                 
|