Информационная система
«Ёшкин Кот»

Скачать базу одним архивом
Скачать обновления
История создания базы
Карта сайта

Скачать Рекомендации Рекомендации по проектированию и применению для строительства и реконструкции зданий в г. Москве фасадной системы с вентилируемым воздушным зазором АРТ-Система ВФС-V/2005

Дата актуализации: 10.08.2017

Рекомендации

Рекомендации по проектированию и применению для строительства и реконструкции зданий в г. Москве фасадной системы с вентилируемым воздушным зазором "АРТ-Система ВФС-V/2005"

Обозначение: Рекомендации
Обозначение англ: Recommendations
Статус:действует
Название рус.:Рекомендации по проектированию и применению для строительства и реконструкции зданий в г. Москве фасадной системы с вентилируемым воздушным зазором "АРТ-Система ВФС-V/2005"
Дата добавления в базу:01.09.2013
Дата актуализации:05.05.2017
Область применения:Рекомендации содержат: назначение и область применения системы, конструктивные решения системы, состав исходных данных для проектирования, методики расчетов всех необходимых параметров системы, способы производства работ, правила эксплуатации системы и ее технико-экономические показатели.
Оглавление:1 Введение
2 Назначение и область применения
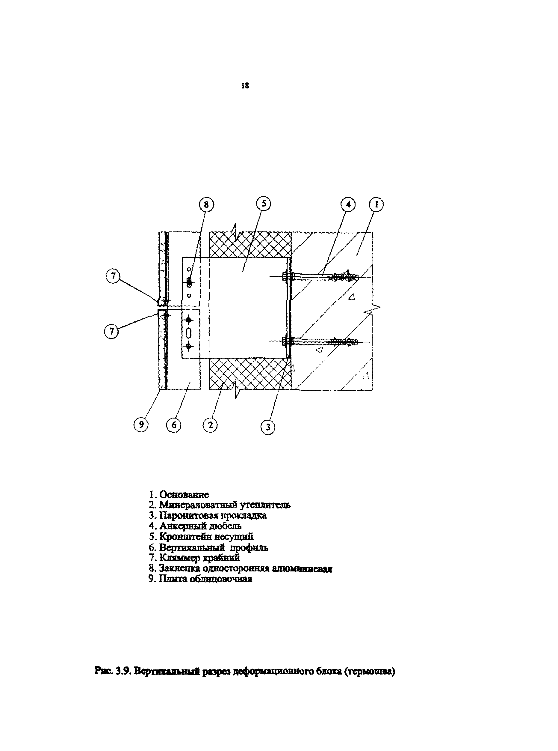
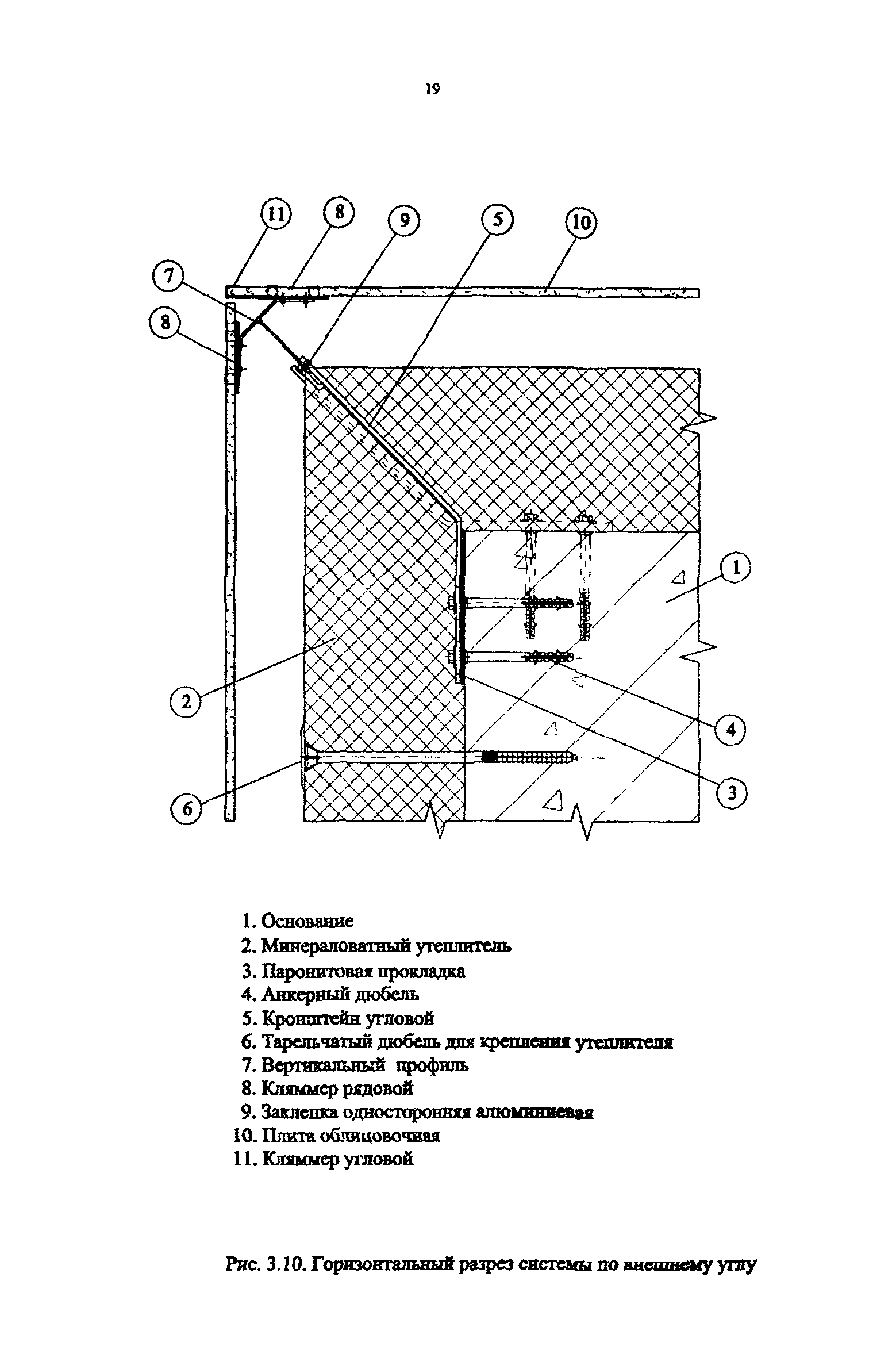
3 Конструктивное решение системы
4 Исходные данные для проектирования системы
5 Определение основных параметров системы
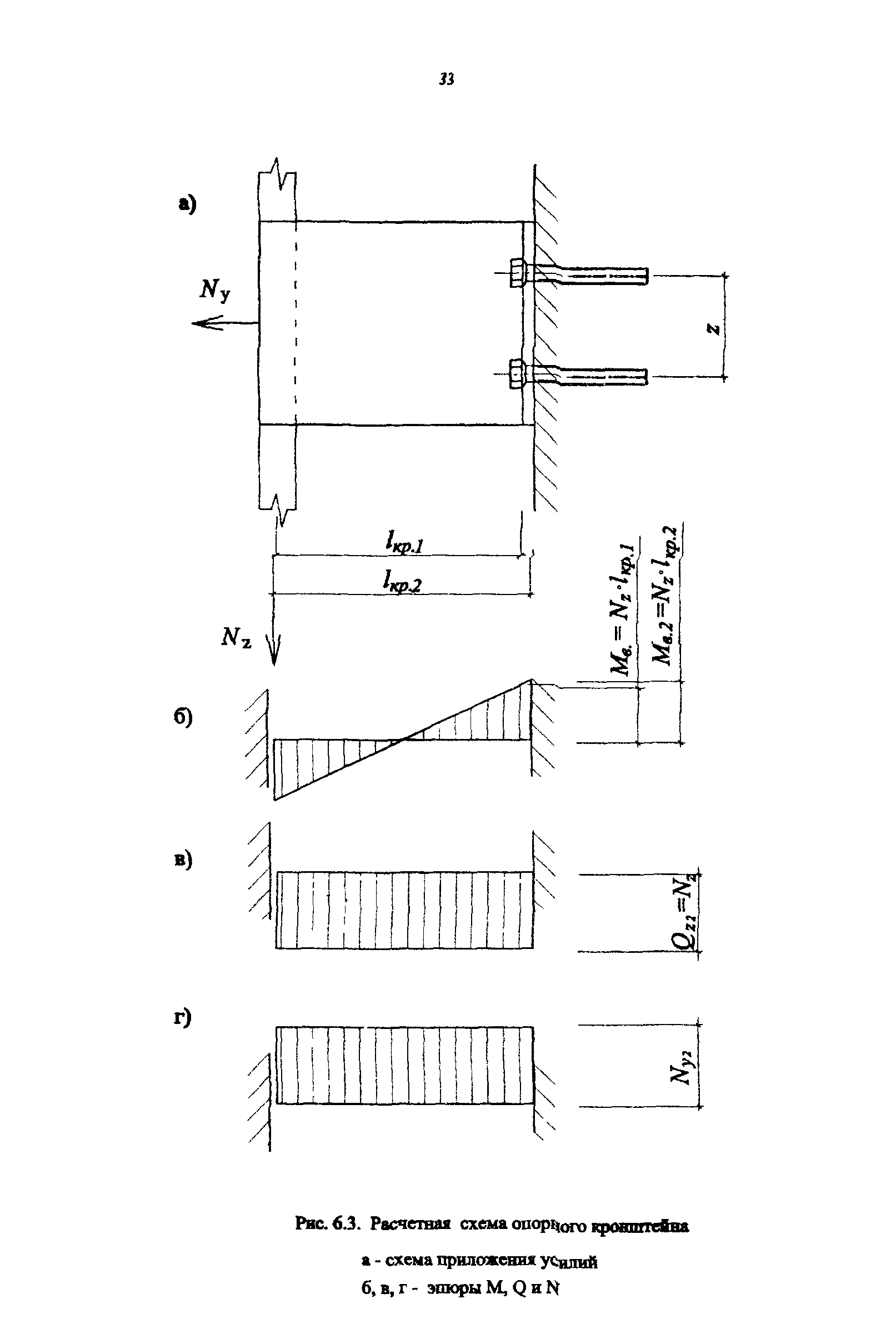
6 Прочностные расчеты
7 Теплотехнические расчеты с приложением
8 Состав проектно-сметной документации
9 Технико-экономические показатели
10 Основные положения по производству работ и системе контроля качества
11 Правила эксплуатации системы
12 Перечень нормативной документации
Разработан: ЦНИИЭП жилища
Утверждён:31.10.2005 Москомархитектура (Moskomarkhitektura 143)
Издан: ГУП НИАЦ (2005 г. )
Расположен в:Техническая документация Экология СТРОИТЕЛЬНЫЕ МАТЕРИАЛЫ И СТРОИТЕЛЬСТВО Строительные элементы Стены. Перегородки. Фасады Строительство Нормативные документы Нормативные документы субъектов Российской Федерации Нормативные документы г. Москвы
Нормативные ссылки:
Рекомендации Рекомендации Рекомендации Рекомендации Рекомендации Рекомендации Рекомендации Рекомендации Рекомендации Рекомендации Рекомендации Рекомендации Рекомендации Рекомендации Рекомендации Рекомендации Рекомендации Рекомендации Рекомендации Рекомендации Рекомендации Рекомендации Рекомендации Рекомендации Рекомендации Рекомендации Рекомендации Рекомендации Рекомендации Рекомендации Рекомендации Рекомендации Рекомендации Рекомендации Рекомендации Рекомендации Рекомендации Рекомендации Рекомендации Рекомендации Рекомендации Рекомендации Рекомендации Рекомендации Рекомендации Рекомендации Рекомендации Рекомендации Рекомендации Рекомендации Рекомендации Рекомендации Рекомендации Рекомендации Рекомендации Рекомендации Рекомендации Рекомендации Рекомендации Рекомендации Рекомендации Рекомендации Рекомендации Рекомендации Рекомендации Рекомендации Рекомендации Рекомендации Рекомендации Рекомендации Рекомендации Рекомендации Рекомендации Рекомендации Рекомендации Рекомендации Рекомендации

© 2013 Ёшкин Кот :-) Карта сайта