Информационная система
«Ёшкин Кот»

Скачать базу одним архивом
Скачать обновления
История создания базы
Карта сайта

Скачать Часть II

Дата актуализации: 10.08.2017

Часть II

Статус:действует
Название рус.:Часть II
Дата добавления в базу:01.09.2013
Дата актуализации:05.05.2017
Дата введения:21.12.1995
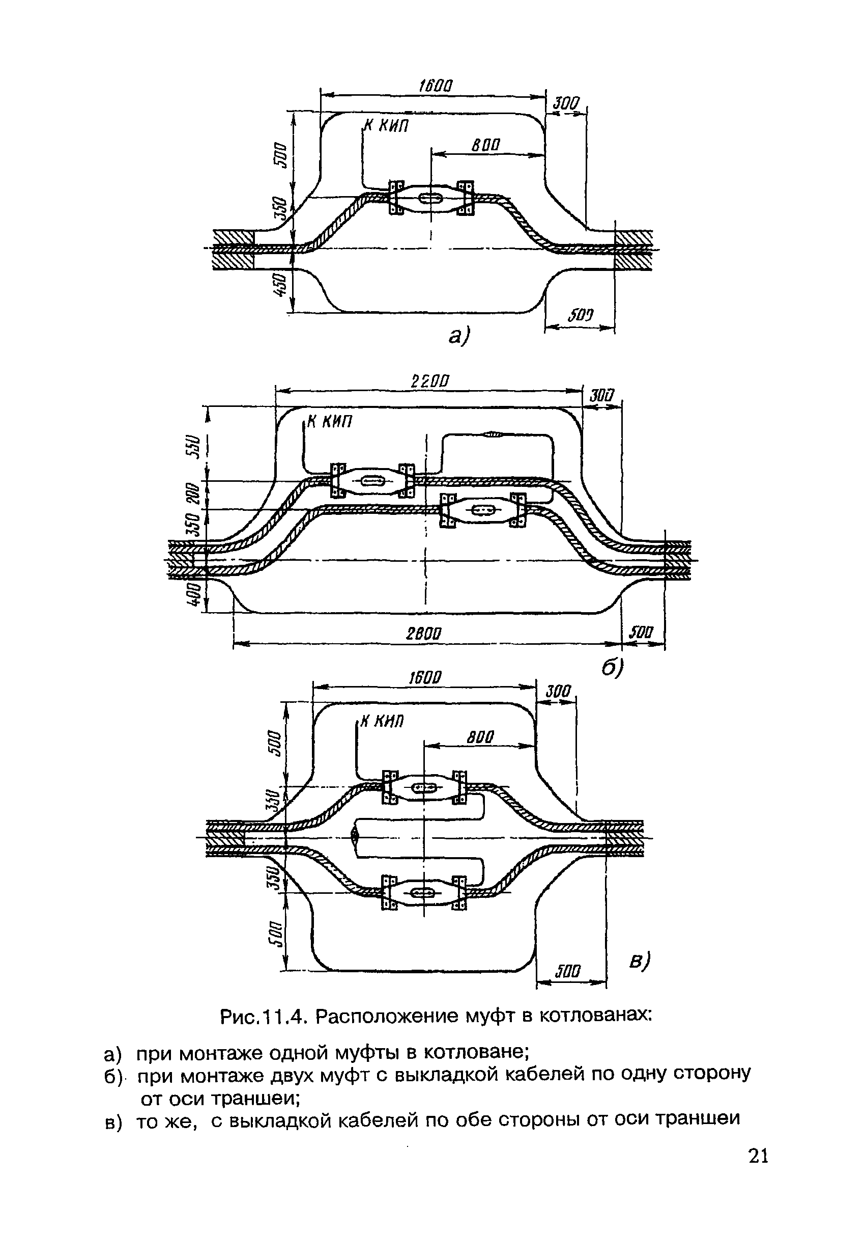
Оглавление:Раздел 10 Устройство абонентских пунктов
Раздел 11 Монтаж электрических кабелей местных сетей связи
Раздел 12 Монтаж оптических кабелей местных сетей связи
Раздел 13 Включение в кабельную линию контейнеров аппаратуры ИКМ
Раздел 14 Электрические измерения и испытания электрических кабелей местных сетей связи
Раздел 15 Измерения и испытания оптических кабелей местных сетей связи
Раздел 16 Испытание герметичности кабелей и постановка их под постоянное избыточное воздушное давление
Раздел 17 Защита подземных металлических сооружений связи от коррозии
Раздел 18 Защита линейных сооружений от опасных напряжений и токов
Раздел 19 Приемка в эксплуатацию законченных строительством линейных сооружений местных сетей связи
Разработан: АООТ ССКТБ-ТОМАСС
Утверждён:21.12.1995 Минсвязи РФ (Russian Federation Minsvyazi )
Издан: АООТ ССКТБ-ТОМАСС (1995 г. )
Расположен в:Техническая документация Экология ТЕЛЕКОММУНИКАЦИИ. АУДИО-И ВИДЕОТЕХНИКА Телекоммуникационные системы Телефонные сети Строительство Нормативные документы Отраслевые и ведомственные нормативно-методические документы Проектирование и строительство объектов связи
Список изменений:
Нормативные ссылки:

© 2013 Ёшкин Кот :-) Карта сайта