Информационная система
«Ёшкин Кот»

Скачать базу одним архивом
Скачать обновления
История создания базы
Карта сайта

Скачать Рекомендации Рекомендации по проектированию и применению для строительства и реконструкции зданий в г. Москве фасадной системы с вентилируемым воздушным зазором Краспан ВСт о(н)

Дата актуализации: 10.08.2017

Рекомендации

Рекомендации по проектированию и применению для строительства и реконструкции зданий в г. Москве фасадной системы с вентилируемым воздушным зазором "Краспан ВСт о(н)"

Обозначение: Рекомендации
Обозначение англ: Recommendations
Статус:действует
Название рус.:Рекомендации по проектированию и применению для строительства и реконструкции зданий в г. Москве фасадной системы с вентилируемым воздушным зазором "Краспан ВСт о(н)"
Дата добавления в базу:01.09.2013
Дата актуализации:05.05.2017
Дата введения:09.10.2003
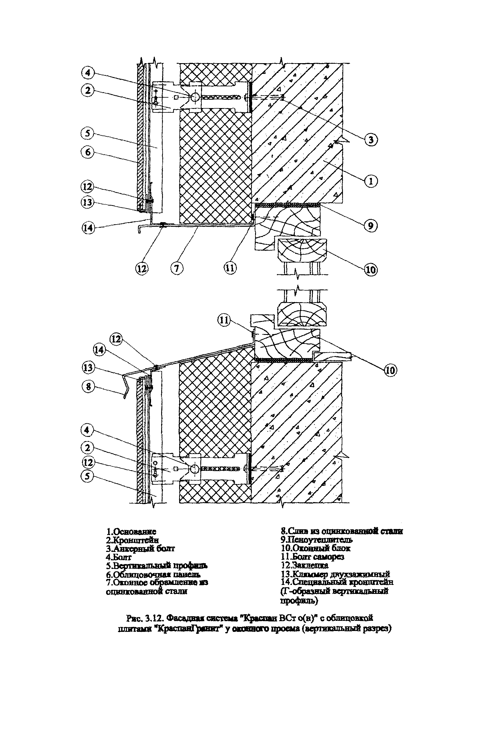
Область применения:Рекомендации являются методическим и справочным пособием для принятия решений и разработки проектов по наружной отделке и утеплению зданий с применением навесной фасадной системы с вентилируемым воздушным зазором «Краспан ВСт о(н)», которая, как все навесные фасадные системы с вентилируемым воздушным зазором, является одним из наиболее эффективных способов утепления и отделки фасадов зданий за счет следующих конструктивных особенностей этих систем: - утепляющий слой сплошным массивом располагается с внешней стороны наружной стены с незначительным количеством холодных мостиков, что позволяет вынести точку росы из внутреннего слоя стены; - экран, установленный с воздушным зазором относительно утепляющего слоя, хорошо защищает конструкции стены от атмосферных осадков и обеспечивает эффективное удаление из утеплителя влаги, мигрирующей из жилых помещений; - такая конструкция наружной стены хорошо защищает жилые помещения от потерь тепла зимой и от перегрева летом; - отсутствие «мокрых» процессов позволяет выполнять работы по монтажу системы в любое время года; - облицовочные материалы и несущие конструкции фасадных систем обеспечивают долговечность фасадной отделки и утеплителя наружных стен, одновременно они позволяют легко ремонтировать поврежденные участки фасада.
Оглавление:1 Введение
2 Назначение и область применения
3 Конструктивное решение
4 Исходные данные для проектирования системы
5 Определение основных параметров системы
6 Прочностные расчеты
7 Теплотехнические расчеты
8 Состав проектно-сметной документации
9 Технико-экономические показатели
10 Основные положения по производству работ и системе контроля качества
11 Правила эксплуатации системы
12 Перечень нормативных документов и литературы
Приложение
Разработан: ООО Краспан
ООО Фаско-Строй
ЦНИИЭП жилища
Утверждён:09.10.2003 Москомархитектура (Moskomarkhitektura 41)
Издан: ГУП НИАЦ (2003 г. )
Расположен в:Техническая документация Экология СТРОИТЕЛЬНЫЕ МАТЕРИАЛЫ И СТРОИТЕЛЬСТВО Строительные элементы Стены. Перегородки. Фасады Строительство Нормативные документы Нормативные документы субъектов Российской Федерации Нормативные документы г. Москвы
Заменяет собой:
  • Рекомендации «Рекомендации по проектированию и применению для строительства и реконструкции зданий в г. Москве фасадной системы с вентилируемым воздушным зазором "Краспан"» (утв. 21.01.02 указанием № 4 Москомархитектуры)
Нормативные ссылки:
Рекомендации Рекомендации Рекомендации Рекомендации Рекомендации Рекомендации Рекомендации Рекомендации Рекомендации Рекомендации Рекомендации Рекомендации Рекомендации Рекомендации Рекомендации Рекомендации Рекомендации Рекомендации Рекомендации Рекомендации Рекомендации Рекомендации Рекомендации Рекомендации Рекомендации Рекомендации Рекомендации Рекомендации Рекомендации Рекомендации Рекомендации Рекомендации Рекомендации Рекомендации Рекомендации Рекомендации Рекомендации Рекомендации Рекомендации Рекомендации Рекомендации Рекомендации Рекомендации Рекомендации Рекомендации Рекомендации Рекомендации Рекомендации Рекомендации Рекомендации Рекомендации Рекомендации Рекомендации Рекомендации Рекомендации Рекомендации Рекомендации Рекомендации Рекомендации Рекомендации Рекомендации Рекомендации Рекомендации Рекомендации Рекомендации Рекомендации Рекомендации Рекомендации Рекомендации Рекомендации Рекомендации Рекомендации Рекомендации Рекомендации Рекомендации

© 2013 Ёшкин Кот :-) Карта сайта