Информационная система
«Ёшкин Кот»

Скачать базу одним архивом
Скачать обновления
История создания базы
Карта сайта

Скачать ЦП-751 Инструкция по снегоборьбе на железных дорогах Российской Федерации

Дата актуализации: 10.08.2017

ЦП-751

Инструкция по снегоборьбе на железных дорогах Российской Федерации

Обозначение: ЦП-751
Обозначение англ: ЦП-751
Статус:действует
Название рус.:Инструкция по снегоборьбе на железных дорогах Российской Федерации
Дата добавления в базу:01.09.2013
Дата актуализации:05.05.2017
Дата введения:25.04.2000
Область применения:Инструкция направлена на предотвращение сбоев перевозочного процесса, нарушений безопасности и бесперебойности движения поездов при снегопадах и метелях, а также определяет основные требования к хозяйствам железных дорог и порядок взаимодействия между ними при подготовке путевого хозяйства к работе в зимних условиях и при их совместной работе в зимний эксплуатационный период.
Оглавление:1 Общие положения
2 Защита пути от снежных заносов на перегонах и станциях
3 Руководство работами по подготовке хозяйств железных дорог к работе в зимних условиях и к снегоборьбе
4 Организационно-технические мероприятия по подготовке путевого хозяйства к работе в зимних условиях
5 Организация работ по снегоборьбе
6 Очистка путей от снега на перегонах
7 Очистка путей от снего и уборка снего на станциях
8 Очистка от снега и льда стрелочных переводов
9 Меры безопасности при работе и обслуживании снегоочистительной, снегоуборочной техники и стационарных устройств очистки стрелок от снега
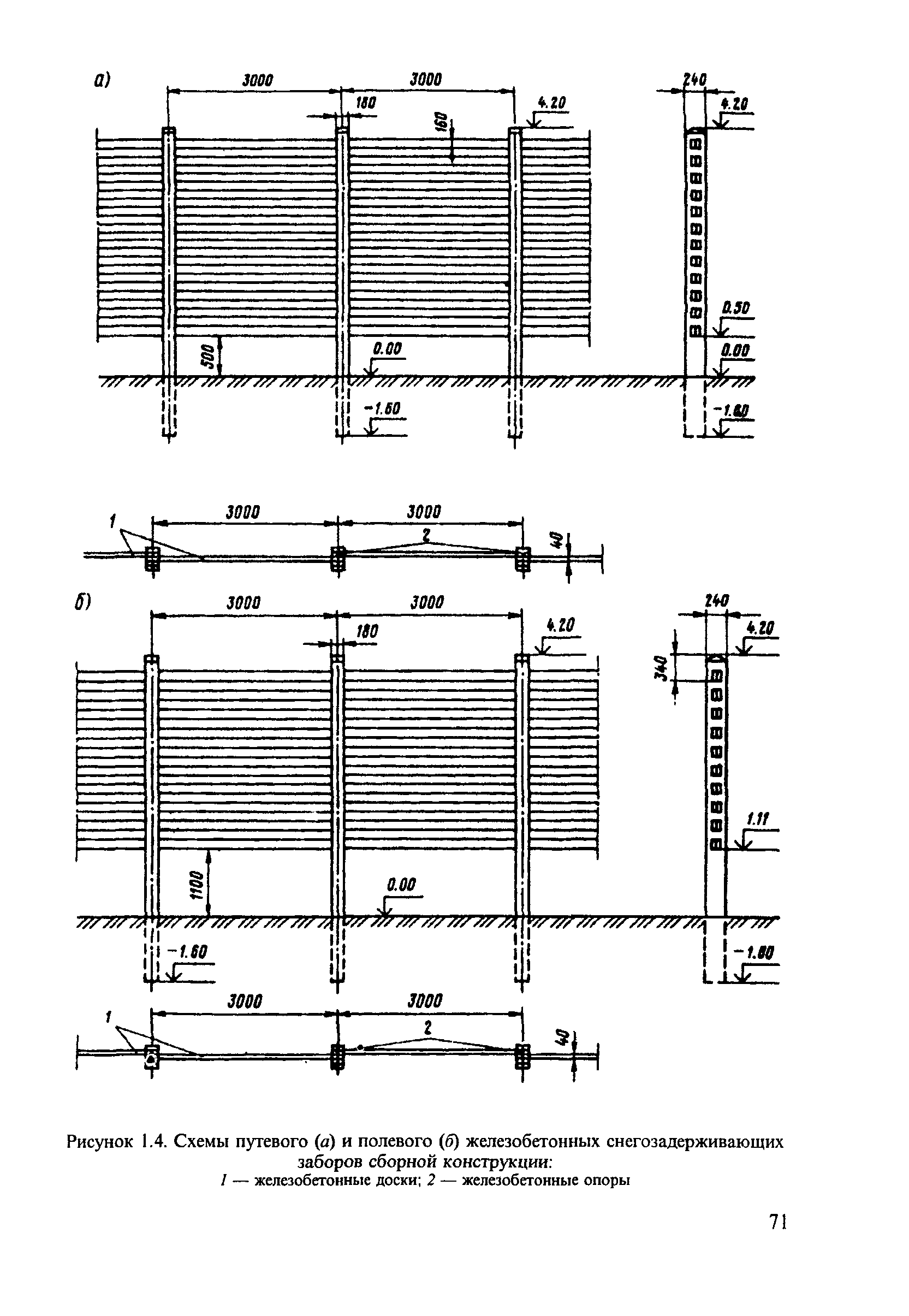
Приложение 1 Типы и конструкции постоянных снегозадерживающих и снегопередувающих заборов и переносных щитов
Приложение 2 Схемы ограждения железнодорожных переездов, приспособлений для забивки кольев, разбивки контрольного снегосерного створа, карты снегозаносимых участков пути и снежных траншей
Приложение 3 Ведомость данных о заносимых местах и их ограждении
Приложение 4 Технологические схемы очистки и уборки пути от снега машинным способом
Приложение 5 Плужные снегоочистители, струги-снегоочистители, роторные снегоочиститетли для очистки пути от снега на перегонах и станциях
Приложение 6 Машины для уборки снега на станциях
Приложение 7 Стационарные устройства для очистки стрелок от снега
Разработан: ВНИИЖТ МПС
ЦП МПС
Утверждён:25.04.2000 Министерство путей сообщения РФ (Russian Federation Ministry of Railroads )
Издан: Издательство Транспорт (2000 г. )
Расположен в:Техническая документация Экология ГРАЖДАНСКОЕ СТРОИТЕЛЬСТВО Сооружение железных дорог Строительство Нормативные документы Отраслевые и ведомственные нормативно-методические документы Проектирование и строительство железных дорог
Заменяет собой:
  • ЦП-4390 «Инструкция по снегоборьбе на железных дорогах Союза ССР» (утв. МПС СССР 18.07.1986 г.)
Нормативные ссылки:
ЦП-751ЦП-751ЦП-751ЦП-751ЦП-751ЦП-751ЦП-751ЦП-751ЦП-751ЦП-751ЦП-751ЦП-751ЦП-751ЦП-751ЦП-751ЦП-751ЦП-751ЦП-751ЦП-751ЦП-751ЦП-751ЦП-751ЦП-751ЦП-751ЦП-751ЦП-751ЦП-751ЦП-751ЦП-751ЦП-751ЦП-751ЦП-751ЦП-751ЦП-751ЦП-751ЦП-751ЦП-751ЦП-751ЦП-751ЦП-751ЦП-751ЦП-751ЦП-751ЦП-751ЦП-751ЦП-751ЦП-751ЦП-751ЦП-751ЦП-751ЦП-751ЦП-751ЦП-751ЦП-751ЦП-751ЦП-751ЦП-751ЦП-751ЦП-751ЦП-751ЦП-751ЦП-751ЦП-751ЦП-751ЦП-751ЦП-751ЦП-751ЦП-751ЦП-751ЦП-751ЦП-751ЦП-751ЦП-751ЦП-751ЦП-751ЦП-751ЦП-751ЦП-751ЦП-751ЦП-751ЦП-751ЦП-751ЦП-751ЦП-751ЦП-751ЦП-751ЦП-751ЦП-751ЦП-751ЦП-751ЦП-751ЦП-751ЦП-751ЦП-751ЦП-751ЦП-751ЦП-751

© 2013 Ёшкин Кот :-) Карта сайта