Информационная система
«Ёшкин Кот»

Скачать базу одним архивом
Скачать обновления
История создания базы
Карта сайта

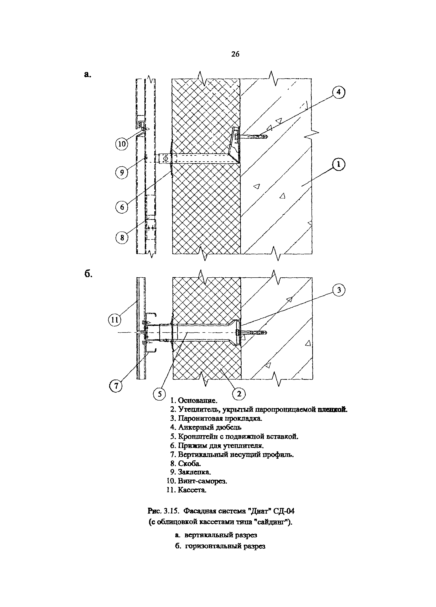
Скачать Рекомендации Рекомендации по проектированию и применению для строительства и реконструкции зданий в г. Москве фасадной системы с вентилируемым воздушным зазором ДИАТ-2000

Дата актуализации: 10.08.2017

Рекомендации

Рекомендации по проектированию и применению для строительства и реконструкции зданий в г. Москве фасадной системы с вентилируемым воздушным зазором "ДИАТ-2000"

Обозначение: Рекомендации
Обозначение англ: Recommendations
Статус:действует
Название рус.:Рекомендации по проектированию и применению для строительства и реконструкции зданий в г. Москве фасадной системы с вентилируемым воздушным зазором "ДИАТ-2000"
Дата добавления в базу:01.09.2013
Дата актуализации:05.05.2017
Дата введения:08.10.2004
Область применения:Рекомендации являются методическим и справочным пособием для разработки проектов наружной отделки и утепления зданий и сооружений с применением навесных фасадных систем с вентилируемым воздушным зазором «Диат».
Оглавление:1 Введение
2 Назначение и область применения
3 Конструктивное решение систем
4 Исходные данные для проектирования системы
5 Определение основных параметров системы
6 Прочностные расчеты
7 Теплотехнические расчеты
8 Состав проектно-сметной документации
9 Технико-экономические показатели
Разработан: ЦНИИЭП жилища
Утверждён:08.10.2004 Москомархитектура (Moskomarkhitektura 148)
Издан: ГУП НИАЦ (2004 г. )
Расположен в:Техническая документация Экология СТРОИТЕЛЬНЫЕ МАТЕРИАЛЫ И СТРОИТЕЛЬСТВО Строительные элементы Стены. Перегородки. Фасады Строительство Нормативные документы Нормативные документы субъектов Российской Федерации Нормативные документы г. Москвы
Нормативные ссылки:
Рекомендации Рекомендации Рекомендации Рекомендации Рекомендации Рекомендации Рекомендации Рекомендации Рекомендации Рекомендации Рекомендации Рекомендации Рекомендации Рекомендации Рекомендации Рекомендации Рекомендации Рекомендации Рекомендации Рекомендации Рекомендации Рекомендации Рекомендации Рекомендации Рекомендации Рекомендации Рекомендации Рекомендации Рекомендации Рекомендации Рекомендации Рекомендации Рекомендации Рекомендации Рекомендации Рекомендации Рекомендации Рекомендации Рекомендации Рекомендации Рекомендации Рекомендации Рекомендации Рекомендации Рекомендации Рекомендации Рекомендации Рекомендации Рекомендации Рекомендации Рекомендации Рекомендации Рекомендации Рекомендации Рекомендации Рекомендации Рекомендации Рекомендации Рекомендации Рекомендации Рекомендации Рекомендации Рекомендации Рекомендации Рекомендации Рекомендации Рекомендации Рекомендации Рекомендации Рекомендации Рекомендации Рекомендации Рекомендации Рекомендации Рекомендации Рекомендации Рекомендации Рекомендации Рекомендации Рекомендации Рекомендации Рекомендации Рекомендации Рекомендации Рекомендации Рекомендации Рекомендации

© 2013 Ёшкин Кот :-) Карта сайта