| ||||||||||||||||||||||||||||||||||||||
Скачать ГОСТ 20419-75 Материалы электротехнические фарфоровыеДата актуализации: 10.08.2017
|
| Обозначение: | ГОСТ 20419-75 |
| Обозначение англ: | GOST 20419-75 |
| Статус: | заменен |
| Название рус.: | Материалы электротехнические фарфоровые |
| Название англ.: | Porcelain elektrikal materials |
| Дата добавления в базу: | 21.05.2015 |
| Дата актуализации: | 05.05.2017 |
| Дата введения: | 01.01.1985 |
| Область применения: | Стандарт распространяется на электротехнические фарфоровые материалы, предназначенные для изготовления методами пластической технологии, литьем, изостатическим прессованием, прессованием из пресспорошков электротехнических изоляторов и изделий, работающих при постоянном и переменном токе частотой до 60 Гц. |
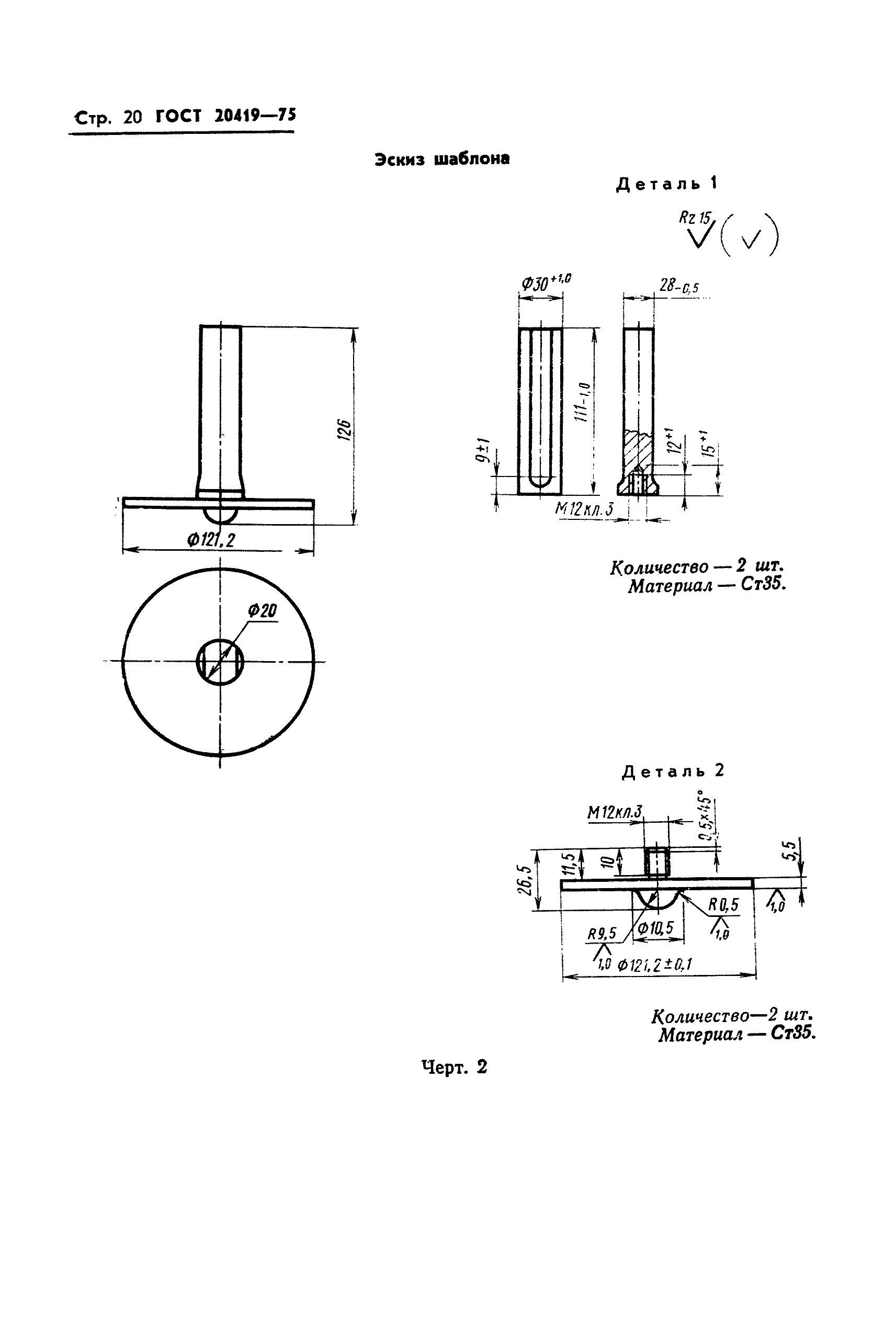
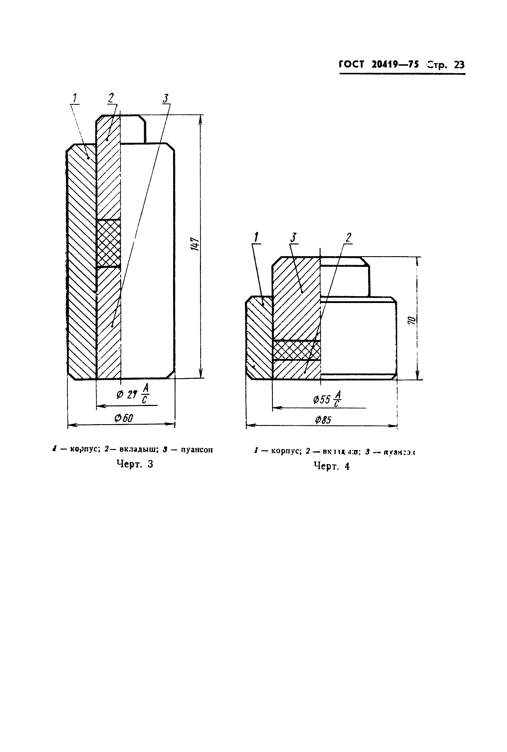
| Оглавление: | 1 Технические требования 2 Правила приемки 3 Методы испытаний Приложение 1 Изготовление образцов для проведения типовых испытаний фарфорового электротехнического материала, изготовленных методом пластической технологии Приложение 2 Изготовление образцов для проведения типовых испытаний фарфорового электротехнического материала, изготовляемого методом прессования из прессовщиков Приложение 3 (рекомендуемое) Формы протоколов испытаний фарфоровых материалов |
| Разработан: | ВНИИЭК |
| Утверждён: | 16.01.1975 Государственный комитет стандартов Совета Министров СССР (USSR National Committee on Standards at the Cabinet of Ministers 78) |
| Издан: | Издательство стандартов (1975 г. ) |
| Расположен в: | |
| Список изменений: |
|
| Чем заменён: | |
| Нормативные ссылки: |
|


































Текстовое изменение № 1 от 01.04.1978

Текстовое изменение № 2 от 01.01.1981
