Информационная система
«Ёшкин Кот»

Скачать базу одним архивом
Скачать обновления
История создания базы
Карта сайта

Скачать Р 78.36.010-2000 Инженерно-техническая защита нетелефонизированных объектов

Дата актуализации: 10.08.2017

Р 78.36.010-2000

Инженерно-техническая защита нетелефонизированных объектов

Обозначение: Р 78.36.010-2000
Обозначение англ: R 78.36.010-2000
Статус:утратил силу
Название рус.:Инженерно-техническая защита нетелефонизированных объектов
Дата добавления в базу:01.09.2013
Дата актуализации:05.05.2017
Дата введения:10.06.2014
Область применения:Рассмотрены вопросы выбора и применения средств инженерно-технической укрепленности, технических средств охраны (ТСО), сбора, обработки и передачи служебной и тревожной информации в подразделения вневедомственной охраны с нетелефонизированных объектов хранения личного имущества граждан. Даны рекомендации и изложены требования, которые необходимо учитывать организациям, осуществляющим проектные и монтажные работы по оборудованию нетелефонизированных объектов ТСО и средствами инженерно-технической укрепленности. Предназначены для инженерно-технических работников вневедомственной охраны, а также специалистов служб безопасности организаций, занимающихся вопросами поставки, проектирования и монтажа ТСО и инженерных средств защиты на объектах.
Оглавление:I Общие положения
II Категорирование охраняемых объектов
III Инженерно-техническая укрепленность
IV Технические средства охраны
V Системы контроля и управления доступом
VI Системы охранные телевизионные
VII Домофоны
VIII Сбор, обработка и вывод тревожных извещений
IX Монтаж электропроводок
X Электроснабжение технических средств охраны, заземление
Список литературы
Приложение А Классификация ограждений
Приложение Б Классификация ворот
Приложение В Классификация строительных конструкций
Приложение Г Классификация дверных конструкций
Приложение Д Классификация оконных конструкций
Приложение Е Классификация врезных и накладных замков
Приложение Ж Классификация гаражных замков
Приложение З Классификация навесных замков
Приложение И Рубежность охранной сигнализации
Приложение К Дополнительные способы защиты объекта
Приложение Л Требования к конструкции гаражных ворот
Приложение М Способы усиления дверных конструкций
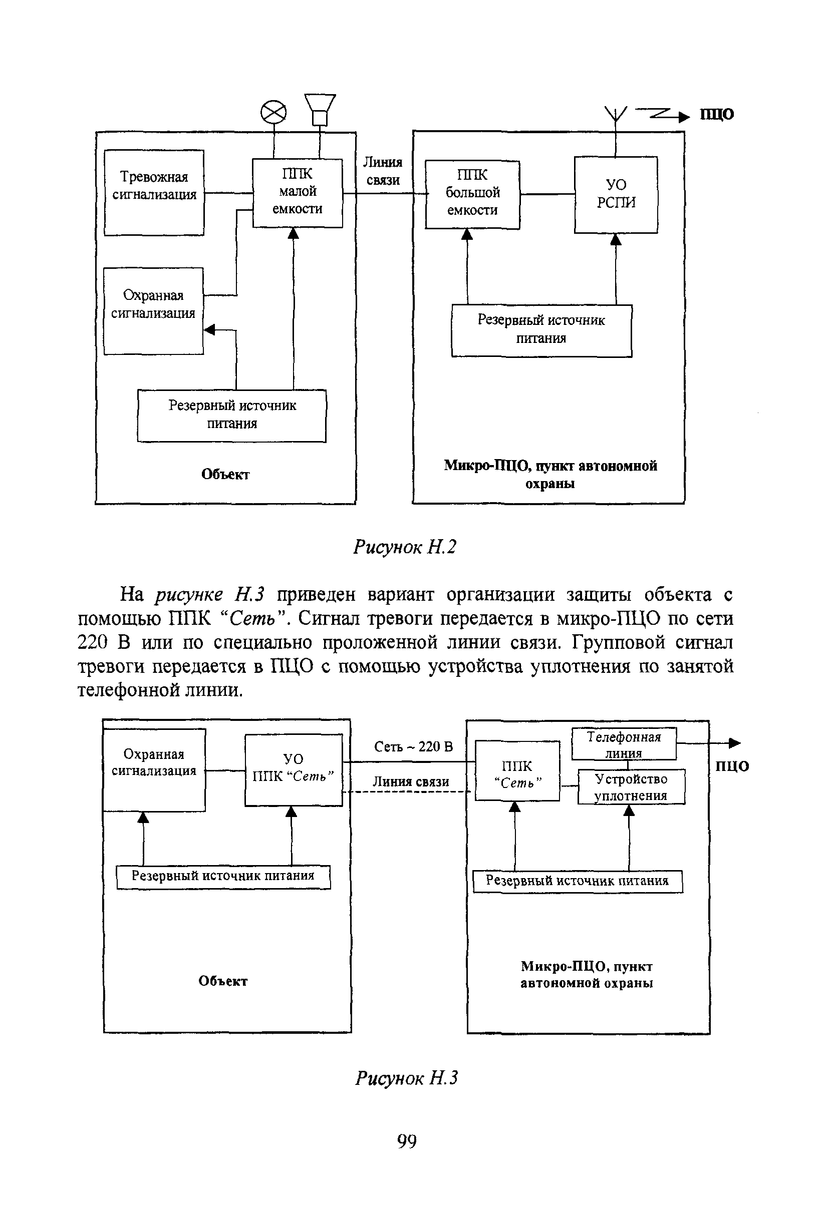
Приложение Н Примерные схемы оборудования объекта
Разработан: НИЦ Охрана ГУВО МВД России
Утверждён:20.03.2000 ГУВО МВД России (Security Guard Service Administration at the Russian Federation Ministry of Internal Affairs )
Издан: НИЦ Охрана ГУВО МВД России (2000 г. )
Расположен в:Техническая документация Экология ОХРАНА ОКРУЖАЮЩЕЙ СРЕДЫ, ЗАЩИТА ЧЕЛОВЕКА ОТ ВОЗДЕЙСТВИЯ ОКРУЖАЮЩЕЙ СРЕДЫ. БЕЗОПАСНОСТЬ Защита от преступлений Строительство Нормативные документы Нормативные документы органов надзора Нормативные документы Государственной противопожарной службы и вневедомственной охраны МВД
Нормативные ссылки:
Р 78.36.010-2000Р 78.36.010-2000Р 78.36.010-2000Р 78.36.010-2000Р 78.36.010-2000Р 78.36.010-2000Р 78.36.010-2000Р 78.36.010-2000Р 78.36.010-2000Р 78.36.010-2000Р 78.36.010-2000Р 78.36.010-2000Р 78.36.010-2000Р 78.36.010-2000Р 78.36.010-2000Р 78.36.010-2000Р 78.36.010-2000Р 78.36.010-2000Р 78.36.010-2000Р 78.36.010-2000Р 78.36.010-2000Р 78.36.010-2000Р 78.36.010-2000Р 78.36.010-2000Р 78.36.010-2000Р 78.36.010-2000Р 78.36.010-2000Р 78.36.010-2000Р 78.36.010-2000Р 78.36.010-2000Р 78.36.010-2000Р 78.36.010-2000Р 78.36.010-2000Р 78.36.010-2000Р 78.36.010-2000Р 78.36.010-2000Р 78.36.010-2000Р 78.36.010-2000Р 78.36.010-2000Р 78.36.010-2000Р 78.36.010-2000Р 78.36.010-2000Р 78.36.010-2000Р 78.36.010-2000Р 78.36.010-2000Р 78.36.010-2000Р 78.36.010-2000Р 78.36.010-2000Р 78.36.010-2000Р 78.36.010-2000Р 78.36.010-2000Р 78.36.010-2000Р 78.36.010-2000Р 78.36.010-2000Р 78.36.010-2000Р 78.36.010-2000Р 78.36.010-2000Р 78.36.010-2000Р 78.36.010-2000Р 78.36.010-2000Р 78.36.010-2000Р 78.36.010-2000Р 78.36.010-2000Р 78.36.010-2000Р 78.36.010-2000Р 78.36.010-2000Р 78.36.010-2000Р 78.36.010-2000Р 78.36.010-2000Р 78.36.010-2000Р 78.36.010-2000Р 78.36.010-2000Р 78.36.010-2000Р 78.36.010-2000Р 78.36.010-2000Р 78.36.010-2000Р 78.36.010-2000Р 78.36.010-2000Р 78.36.010-2000Р 78.36.010-2000Р 78.36.010-2000Р 78.36.010-2000Р 78.36.010-2000Р 78.36.010-2000Р 78.36.010-2000Р 78.36.010-2000Р 78.36.010-2000Р 78.36.010-2000Р 78.36.010-2000Р 78.36.010-2000Р 78.36.010-2000Р 78.36.010-2000Р 78.36.010-2000Р 78.36.010-2000Р 78.36.010-2000Р 78.36.010-2000Р 78.36.010-2000Р 78.36.010-2000Р 78.36.010-2000Р 78.36.010-2000

© 2013 Ёшкин Кот :-) Карта сайта