Информационная система
«Ёшкин Кот»

Скачать базу одним архивом
Скачать обновления
История создания базы
Карта сайта

Скачать РД 34.27.103-81 Методические указания по выбору схем и оборудования для бессточных систем золошлакоудаления тепловых электростанций

Дата актуализации: 10.08.2017

РД 34.27.103-81

Методические указания по выбору схем и оборудования для бессточных систем золошлакоудаления тепловых электростанций

Обозначение: РД 34.27.103-81
Обозначение англ: RD 34.27.103-81
Статус:не действует
Название рус.:Методические указания по выбору схем и оборудования для бессточных систем золошлакоудаления тепловых электростанций
Название англ.:Recommended Practice for Selection of Schemes and Equipment for Zero-Discharge Ash and Slag Removal Systems for Thermal Power Stations
Дата добавления в базу:01.09.2013
Дата актуализации:05.05.2017
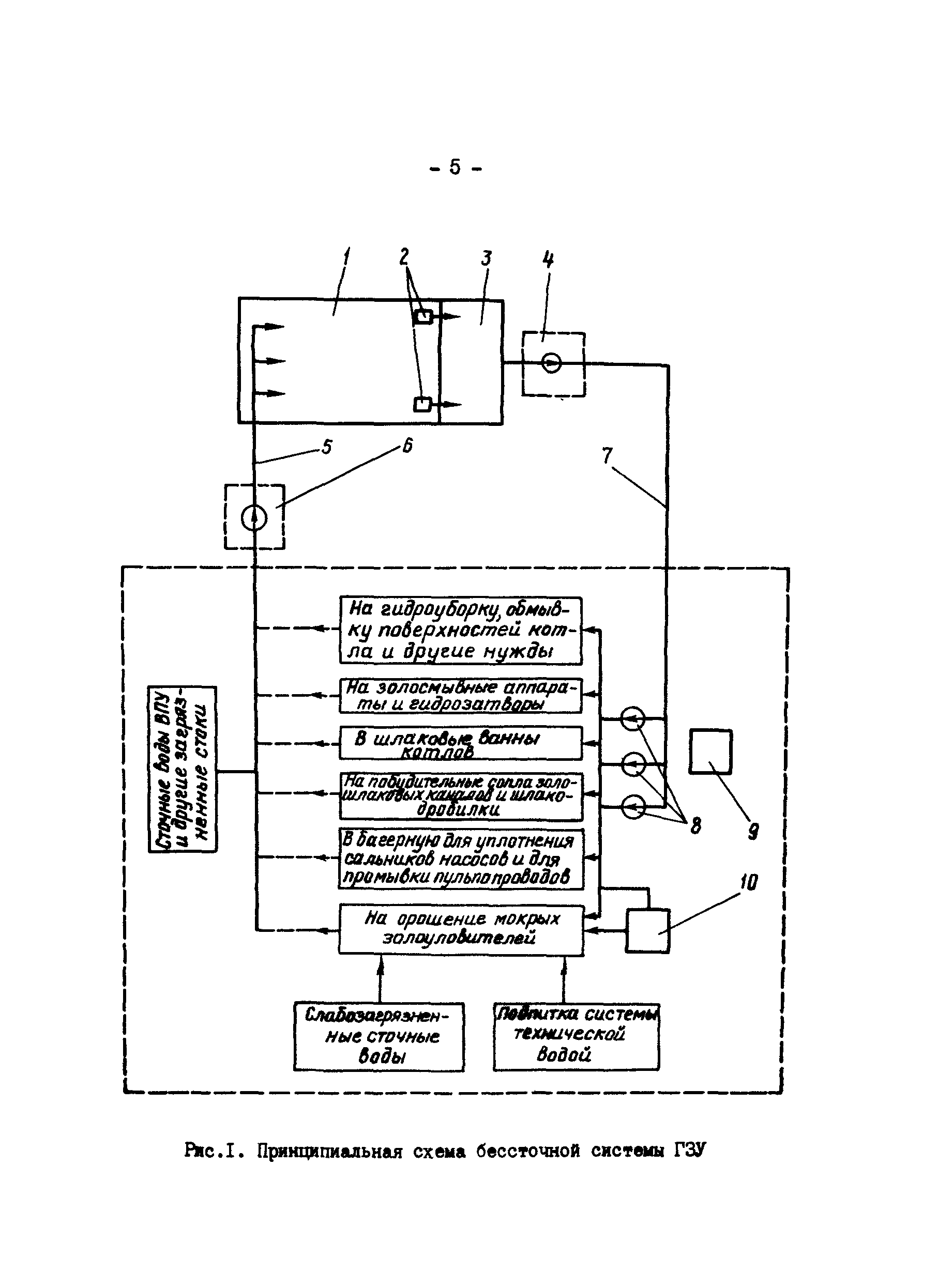
Область применения:Рекомендации предназначены для организаций, проектирующих системы золоудаления ТЭС и крупных котельных, а также научно-исследовательских и наладочных организаций, занимающихся вопросами золоудаления. Даны основные принципы выбора оборудования и условия, определяющие необходимость его резервирования в бессточных системах золоудаления.
Оглавление:1 Общие положения
2 Схемы бессточных систем золоудаления
3 Схемы сухого удаления летучей золы
4 Выбор оборудования для бессточных систем золоудаления
Разработан: ВТИ
Утверждён:25.12.1981 Минэнерго СССР (USSR Minenergo )
Издан: ВТИ (1983 г. )
Расположен в:Техническая документация Экология ЭНЕРГЕТИКА И ТЕПЛОТЕХНИКА Горелки. Котлы Горелки и котлы в целом Мостостроение Устройства золоулавливания, золошлакоудаления. Очистка наружных поверхностей нагрева
Список изменений:
РД 34.27.103-81РД 34.27.103-81РД 34.27.103-81РД 34.27.103-81РД 34.27.103-81РД 34.27.103-81РД 34.27.103-81РД 34.27.103-81РД 34.27.103-81РД 34.27.103-81РД 34.27.103-81РД 34.27.103-81РД 34.27.103-81РД 34.27.103-81РД 34.27.103-81РД 34.27.103-81РД 34.27.103-81РД 34.27.103-81РД 34.27.103-81РД 34.27.103-81РД 34.27.103-81РД 34.27.103-81РД 34.27.103-81РД 34.27.103-81РД 34.27.103-81РД 34.27.103-81РД 34.27.103-81РД 34.27.103-81

Текстовое изменение № 1 от 01.04.1993

№ 1№ 1№ 1

© 2013 Ёшкин Кот :-) Карта сайта