Информационная система
«Ёшкин Кот»

Скачать базу одним архивом
Скачать обновления
История создания базы
Карта сайта

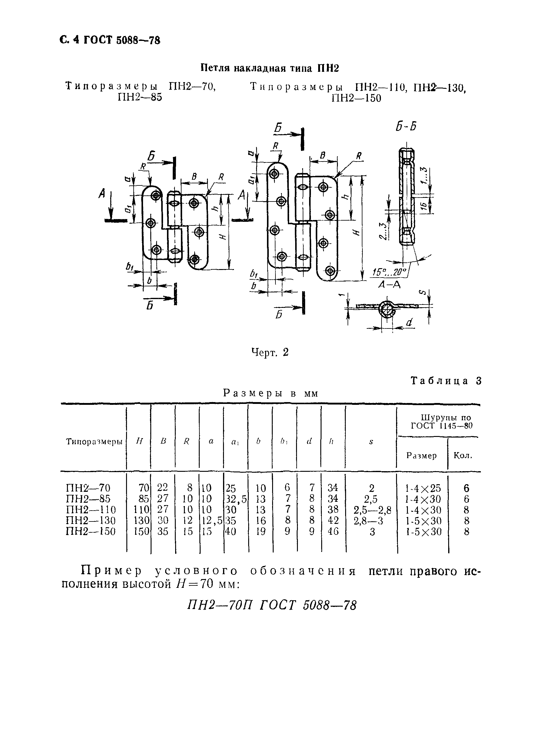
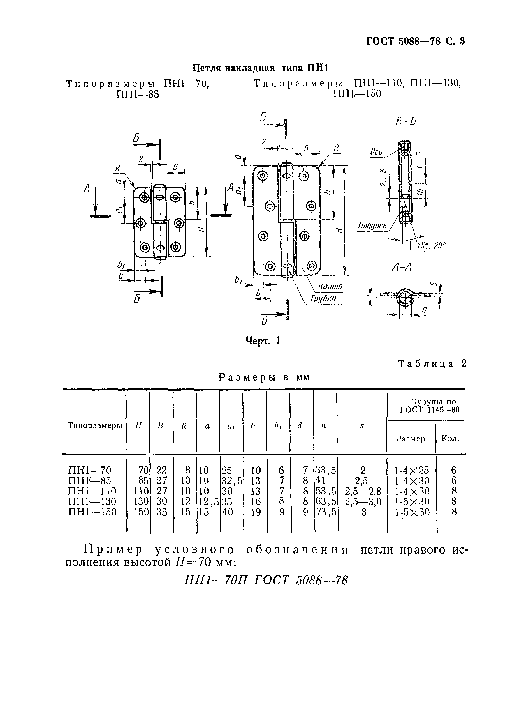
Скачать ГОСТ 5088-78 Петли для деревянных окон и дверей. Типы и основные размеры

Дата актуализации: 10.08.2017

ГОСТ 5088-78

Петли для деревянных окон и дверей. Типы и основные размеры

Обозначение: ГОСТ 5088-78
Обозначение англ: GOST 5088-78
Статус:заменен
Название рус.:Петли для деревянных окон и дверей. Типы и основные размеры
Название англ.:Wooden window and door hinges. Types and main dimensions
Дата добавления в базу:01.10.2014
Дата актуализации:05.05.2017
Дата введения:01.09.1995
Область применения:Стандарт распространяется на металлические петли для деревянных окон и дверей.
Утверждён:09.06.1978 Государственный комитет Совета Министров СССР по делам строительства (112)
Издан: Издательство стандартов (1978 г. )
Издательство стандартов (1993 г. )
Расположен в:Техническая документация Электроэнергия СТРОИТЕЛЬНЫЕ МАТЕРИАЛЫ И СТРОИТЕЛЬСТВО Строительные элементы Двери и окна Экология СТРОИТЕЛЬНЫЕ МАТЕРИАЛЫ И СТРОИТЕЛЬСТВО Строительные элементы Двери и окна
Заменяет собой:
Чем заменён:
Нормативные ссылки:
ГОСТ 5088-78ГОСТ 5088-78ГОСТ 5088-78ГОСТ 5088-78ГОСТ 5088-78ГОСТ 5088-78ГОСТ 5088-78ГОСТ 5088-78ГОСТ 5088-78ГОСТ 5088-78ГОСТ 5088-78ГОСТ 5088-78ГОСТ 5088-78ГОСТ 5088-78ГОСТ 5088-78ГОСТ 5088-78ГОСТ 5088-78ГОСТ 5088-78

© 2013 Ёшкин Кот :-) Карта сайта