| ||||||||||||||||||||||||||||||||
Скачать ГОСТ 25762-83 Обработка резанием. Термины, определения и обозначения общих понятийДата актуализации: 10.08.2017
|
| Обозначение: | ГОСТ 25762-83 |
| Обозначение англ: | GOST 25762-83 |
| Статус: | действует |
| Название рус.: | Обработка резанием. Термины, определения и обозначения общих понятий |
| Название англ.: | Machining. Terms, definitions |
| Дата добавления в базу: | 01.09.2013 |
| Дата актуализации: | 05.05.2017 |
| Дата введения: | 01.07.1984 |
| Область применения: | Стандарт устанавливает применяемые в науке, технике и производстве термины и определения общих понятий, относящихся ко всем видам обработки резанием, а также буквенные обозначения величин кинематических элементов резания, координатных плоскостей и элементов лезвия. |
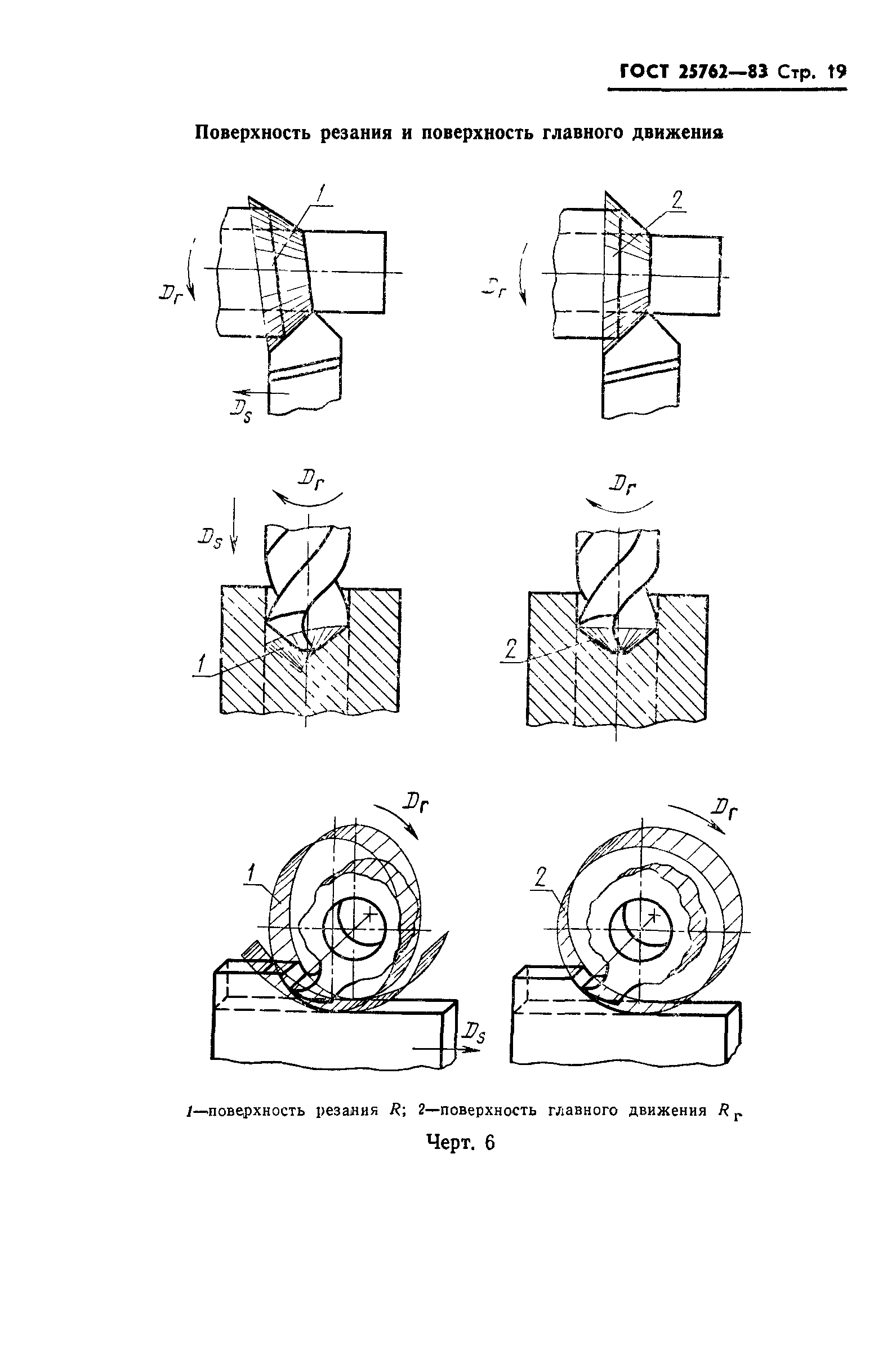
| Оглавление: | Общие понятия Кинематические элементы и характеристики резания Системы координатных плоскостей и координатные плоскости Элементы и характеристики срезаемого слоя и стружки Элементы лезвия Характеристики стружки Сила резания Приложение 1 Таблица буквенных обозначений элементов обработки резанием, плоскостей и величин, установленных в настоящем стандарте, и соответствующих им обозначений по стандарту ИСО 3002/1-77 Алфавитный указатель терминов на русском языке Алфавитный указатель терминов на немецком языке Алфавитный указатель терминов на английском языке Алфавитный указатель терминов на французском языке |
| Утверждён: | 26.04.1983 Госстандарт СССР (USSR Gosstandart 2086) |
| Издан: | Издательство стандартов (1985 г. ) |
| Расположен в: | |
| Нормативные ссылки: |












































