Информационная система
«Ёшкин Кот»

Скачать базу одним архивом
Скачать обновления
История создания базы
Карта сайта

Скачать ГОСТ 12.4.177-89 Система стандартов безопасности труда. Средства индивидуальной защиты ног от прокола. Общие технические требования и метод испытания антипрокольных свойств

Дата актуализации: 10.08.2017

ГОСТ 12.4.177-89

Система стандартов безопасности труда. Средства индивидуальной защиты ног от прокола. Общие технические требования и метод испытания антипрокольных свойств

Обозначение: ГОСТ 12.4.177-89
Обозначение англ: GOST 12.4.177-89
Статус:действует
Название рус.:Система стандартов безопасности труда. Средства индивидуальной защиты ног от прокола. Общие технические требования и метод испытания антипрокольных свойств
Название англ.:Occupational safety standards system. Personal foot protection against punctured injuries. General requirements and test method for resistance to puncture
Дата добавления в базу:01.09.2013
Дата актуализации:05.05.2017
Дата введения:01.07.1990
Оглавление:1. Технические требования
2. Метод испытания
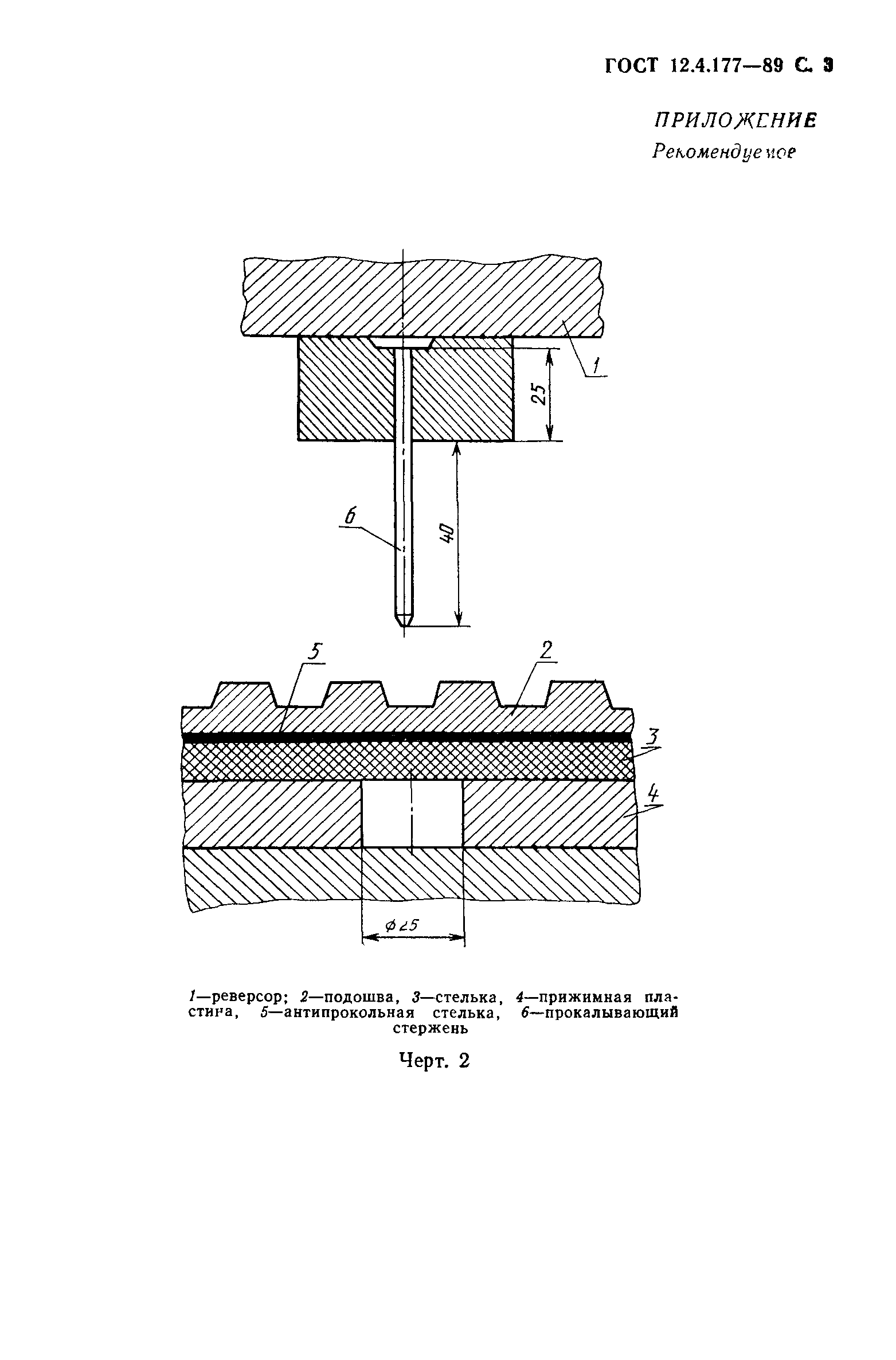
Приложение
Утверждён:30.10.1989 Госстандарт СССР (USSR Gosstandart 3254)
Расположен в:Техническая документация Электроэнергия ОХРАНА ОКРУЖАЮЩЕЙ СРЕДЫ, ЗАЩИТА ЧЕЛОВЕКА ОТ ВОЗДЕЙСТВИЯ ОКРУЖАЮЩЕЙ СРЕДЫ. БЕЗОПАСНОСТЬ Защитные средства Защитные средства для ног Экология ОХРАНА ОКРУЖАЮЩЕЙ СРЕДЫ, ЗАЩИТА ЧЕЛОВЕКА ОТ ВОЗДЕЙСТВИЯ ОКРУЖАЮЩЕЙ СРЕДЫ. БЕЗОПАСНОСТЬ Защитные средства Защитные средства для ног
Заменяет собой:
  • ГОСТ 12.4.057-78 «ССБТ. Обувь специальная. Метод определения сопротивления проколу»
ГОСТ 12.4.177-89ГОСТ 12.4.177-89ГОСТ 12.4.177-89ГОСТ 12.4.177-89ГОСТ 12.4.177-89ГОСТ 12.4.177-89ГОСТ 12.4.177-89

© 2013 Ёшкин Кот :-) Карта сайта