| ||||||||||||||||||||||||||||||||||||
Скачать Методические рекомендации Методические рекомендации по применению габионных конструкций в дорожно-мостовом строительствеДата актуализации: 10.08.2017
|
| Обозначение: | Методические рекомендации |
| Обозначение англ: | Recommended Practice |
| Статус: | действует |
| Название рус.: | Методические рекомендации по применению габионных конструкций в дорожно-мостовом строительстве |
| Название англ.: | Recommended Practice for the Use of Gabion Structures in Road and Bridge Construction |
| Дата добавления в базу: | 01.09.2013 |
| Дата актуализации: | 05.05.2017 |
| Дата введения: | 25.10.2000 |
| Область применения: | Методические рекомендации предусматривают применение габионных конструкций при проектировании нового строительства, реконструкции и защите автомобильных дорог и переходов через водотоки от опасных природно-техногенных процессов гидрометеорологического и геологического происхождения. |
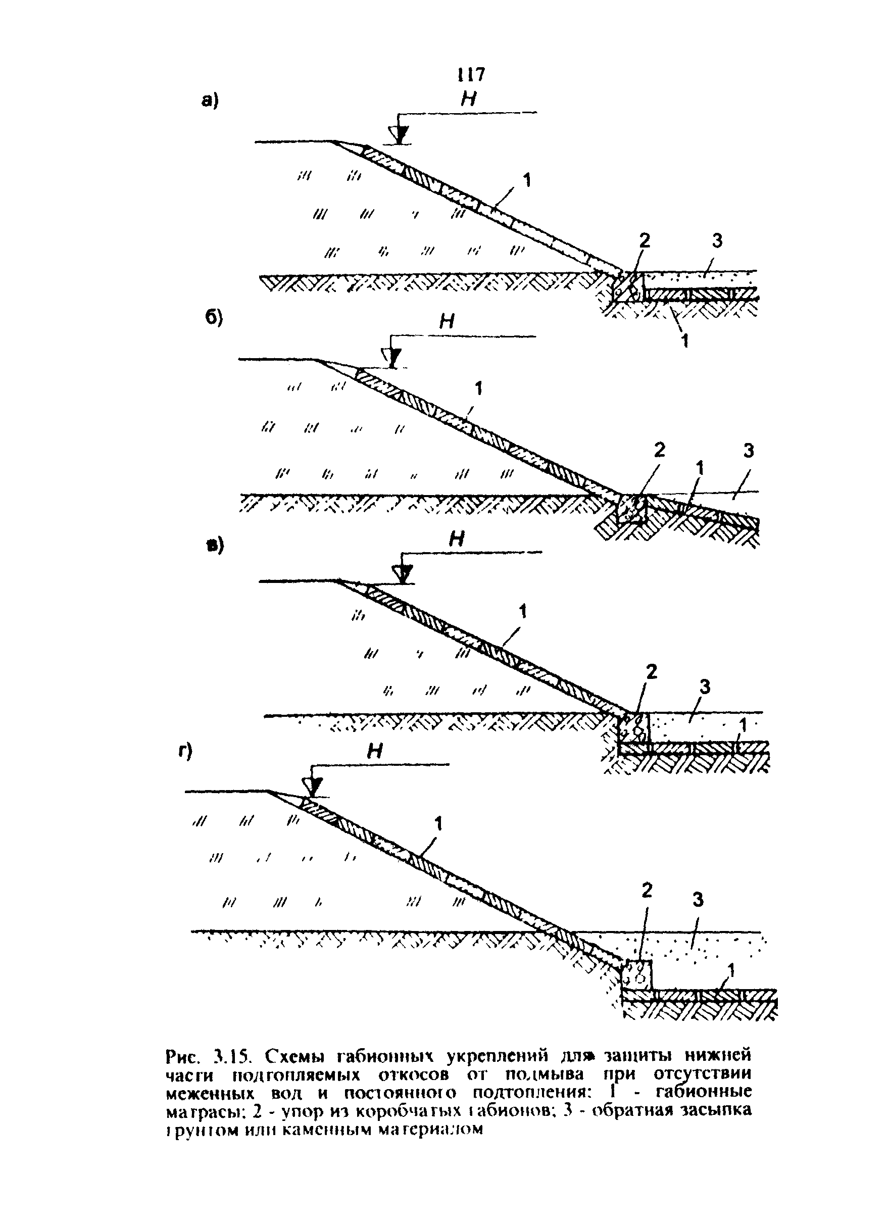
| Оглавление: | Предисловие 1 Общие положения и требования 2 Типы габионных конструкций А Разновидности габионных конструкций Б Габионы конструкций Мосгипротранса и их предназначение В Габионные и сопрягаемые с ними конструкции, используемые НПО "Эколандшафт" и ЗАО ТПО "Ландшафтная архитектура" Г Нетрадиционные и сопрягаемые с ними габионные конструкции Д Габионы из пластмассовых сеток фирмы NETLON (Великобритания) 3 Укрепление откосов земляного полотна и склонов А Технические указания и основные правила проектирования Б Откосы неподтопляемых сооружений В Откосы подтопляемых сооружений 4 Укрепление подмостовых конусов, русел, регуляционных и вдольбереговых сооружений А Исходные положения проектирования Б Подмостовые конуса В Укрепляемые опоры мостов и подмостовые русла Г Вдольбереговые укрепительные сооружения Д Регуляционные сооружения 5 Подпорно-удерживающие, защитные, усиливающие, стабилизирующие и противофильтрационные габионные конструкции и сооружения 6 Габионные конструкции и сооружения для целей водоперепуска, водоотведения и очистки сточных вод А Водопропускные, водоотводные и сопрягающие сооружения Б Очистные сооружения 7 Периодически затопляемые, селезащитные и фильтрующие водопропускные сооружения с применением габионных конструкций А Периодически затопляемые дорожно-мостовые сооружения Б Фильтрующие водопропускные сооружения В Селезащитные сооружения Приложение 1 Основные параметры и размеры отечественных проволочных сеток двойного кручения для изготовления сетчатых габионных конструкций и ограждений Приложение 2 Основные параметры и размеры отечественных сетчатых конструкций для изготовления габионных структур Список литературы |
| Разработан: | Союздорпроект Минтрансстроя Гипротрансмост ЗАО ЭЛГАД Интернешнл |
| Утверждён: | 25.10.2000 Союздорпроект Минтрансстроя (Soyuzdorproject, Mintransstroy 522) |
| Принят: | 18.10.2000 Союздорнии (Soyuzdornii 1317/1-14) 12.10.2000 Корпорация Трансстрой (Transstroy Corporation ШВ-193) 19.10.2000 МАДИ (MADI 2-23/20) 20.10.2000 МИИТ (MIIT 156/2538) |
| Издан: | Союздорпроект (2001 г. ) |
| Расположен в: | |
| Нормативные ссылки: |
|
















































































































































































































































































