| ||||||||||||||||||||||||||||||||||
Скачать РД 10-210-98 Методические указания по проведению технического освидетельствования металлоконструкций паровых и водогрейных котловДата актуализации: 10.08.2017
|
| Обозначение: | РД 10-210-98 |
| Обозначение англ: | RD 10-210-98 |
| Статус: | действует |
| Название рус.: | Методические указания по проведению технического освидетельствования металлоконструкций паровых и водогрейных котлов |
| Название англ.: | Procedural Guidelines for Technical Inspection of Metal Structures of Steam and Hot Water Boilers |
| Дата добавления в базу: | 01.09.2013 |
| Дата актуализации: | 05.05.2017 |
| Дата введения: | 05.03.1998 |
| Область применения: | Методические указания определяют порядок проведения технического освидетельствования металлоконструкций паровых и водогрейных котлов, на которые распространяются "Правила устройства и безопасной эксплуатации паровых и водогрейных котлов", утвержденные Госгортехнадзором России 28.05.93. |
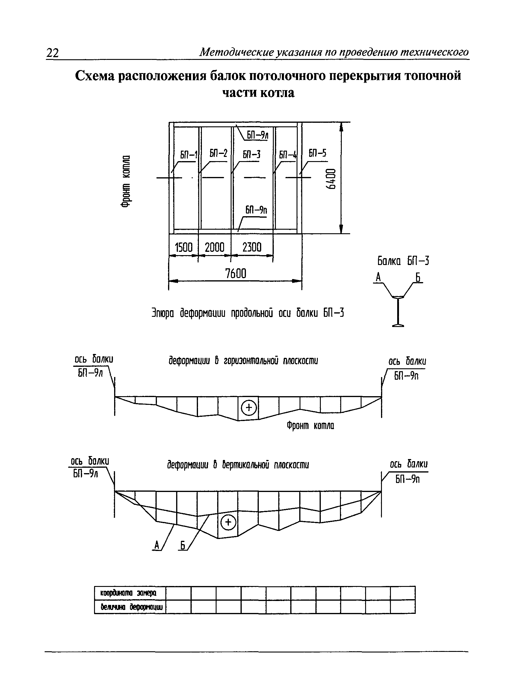
| Оглавление: | 1 Общие положения 2 Требования к организации работ, исполнителям, средствам и объекту технического освидетельствования 3 Алгоритм оценки технического состояния 4 Ознакомление с технической документацией, анализ конструктивных особенностей металлоконструкций котла и условий эксплуатации 5 Наружный осмотр, измерения и контроль 6 Оценка технического состояния металлоконструкций котлов 7 Рекомендации по оформлению результатов технического освидетельствования металлоконструкций котлов Приложение 1 Ведомость повреждений каркаса котла Приложение 2 Формуляр деформаций каркаса котла Приложение 3 Перечень документов, передаваемых в специализированную (головную) организацию АООТ НПО ЦКТИ им. И.И. Ползунова Приложение 4 Перечень нормативно-технической документации по техническому освидетельствованию и диагностированию |
| Разработан: | Госгортехнадзор России АООТ НПО ЦКТИ им. И.И. Ползунова ЗАО ДИЭКС |
| Утверждён: | 05.03.1998 Госгортехнадзор России (Russian Federation Gosgortekhnadzor 11) |
| Издан: | НПО ОБТ (2000 г. ) |
| Расположен в: | |
| Нормативные ссылки: |
|
























