Информационная система
«Ёшкин Кот»

Скачать базу одним архивом
Скачать обновления
История создания базы
Карта сайта

Скачать Пособие Пособие по применению НПБ 105-95 Определение категорий помещений и зданий по взрывопожарной и пожарной опасности при рассмотрении проектно-сметной документации

Дата актуализации: 10.08.2017

Пособие

Пособие по применению НПБ 105-95 "Определение категорий помещений и зданий по взрывопожарной и пожарной опасности" при рассмотрении проектно-сметной документации

Обозначение: Пособие
Обозначение англ: Handbook
Статус:привязан к недействующему документу
Название рус.:Пособие по применению НПБ 105-95 "Определение категорий помещений и зданий по взрывопожарной и пожарной опасности" при рассмотрении проектно-сметной документации
Название англ.:NPB 105-95 Handbook, "Determination of Explosion-Fire and Fire Hazard Categories of Roomsw and Buildings" When Reviewing Construction Documents
Дата добавления в базу:01.09.2013
Дата актуализации:05.05.2017
Дата введения:01.08.2003
Область применения:Пособие предназначено для практического использования сотрудниками (работниками) органов государственного пожарного надзора, проектных организаций, преподавателями и слушателями пожарно-технических учебных заведений.
Оглавление:1. Общие положения
2. Порядок определения и упрощенные методы расчета параметров взрывопожарной опасности горючих газов
3. Порядок определения и упрощенные методы расчета параметров взрывопожарной опасности легковоспламеняющихся и горючих жидкостей
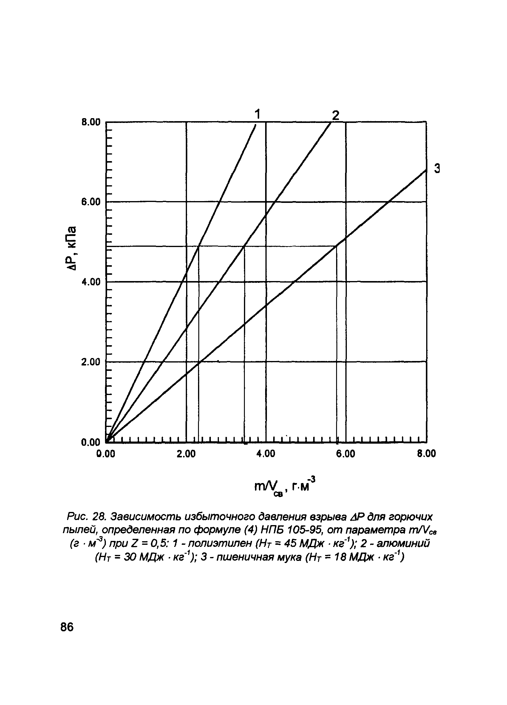
4. Порядок определения и упрощенные методы расчета параметров взрывопожарной опасности горючих пылей
5. Порядок определения и упрощенные методы расчета параметров пожарной опасности горючих жидкостей и твердых горючих веществ и материалов
6. Типовые примеры расчетов категорий помещений и зданий по взрывопожарной и пожарной опасности
   6.1 Помещения с горючими газами
   6.2 Помещения с легковоспламеняющимися жидкостями
   6.3 Помещения с горючими пылями
   6.4 Помещения с горючими жидкостями
   6.5 Помещения с твердыми горючими веществами и материалами
   6.6 Помещения с горючими газами, легковоспламеняющимися жидкостями, горючими жидкостями, пылями, твердыми веществами и материалами
   6.7 Примеры расчетов категорий зданий по взрывопожарной и пожарной опасности
      6.7.1 Здания категории А
      6.7.2 Здания категории Б
      6.7.3 Здания категории В
      6.7.4 Здания категории Г
      6.7.5 Здания категории Д
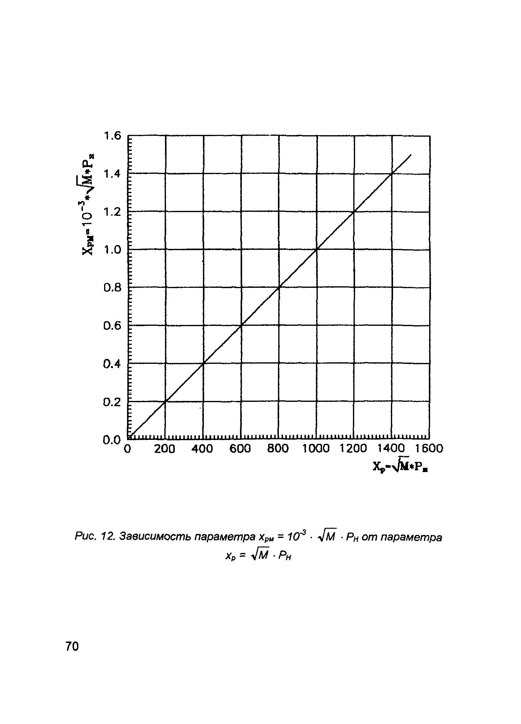
Приложение 1. Номограммы для определения параметров взрывопожарной и пожарной опасности
Приложение 2. Значения показателей пожарной опасности некоторых индивидуальных веществ
Приложение 3. Значения показателей пожарной опасности некоторых смесей и технических продуктов
Приложение 4. Значение низшей теплоты сгорания твердых горючих веществ и материалов
Приложение 5. Значения критических плотностей падающих лучистых потоков
Приложение 6. Экспресс-информация. О выходе новой редакции норм пожарной безопасности Государственной противопожарной службы МВД России "Определение категорий помещений и зданий по взрывопожарной и пожарной опасности" - НПБ 105-95
Приложение 7. Основные источники информации
Разработан: ВНИИПО МВД России
Утверждён: ВНИИПО МВД РФ (VNIIPO, Russian Federation Ministry of Internal Affairs )
Принят:18.05.1998 ГУГПС МВД России (GUGPS, Russian Federation Ministry of Internal Affairs 20/2.2/1161)
Издан: Типография ВНИИПО МВД России (1998 г. )
Расположен в:Техническая документация Экология ОХРАНА ОКРУЖАЮЩЕЙ СРЕДЫ, ЗАЩИТА ЧЕЛОВЕКА ОТ ВОЗДЕЙСТВИЯ ОКРУЖАЮЩЕЙ СРЕДЫ. БЕЗОПАСНОСТЬ Взрывозащита Защита от пожаров Защита от пожара в целом Строительство Нормативные документы Нормативные документы органов надзора Нормативные документы Государственной противопожарной службы и вневедомственной охраны МВД Классификатор ISO Методические документы
Нормативные ссылки:
Пособие Пособие Пособие Пособие Пособие Пособие Пособие Пособие Пособие Пособие Пособие Пособие Пособие Пособие Пособие Пособие Пособие Пособие Пособие Пособие Пособие Пособие Пособие Пособие Пособие Пособие Пособие Пособие Пособие Пособие Пособие Пособие Пособие Пособие Пособие Пособие Пособие Пособие Пособие Пособие Пособие Пособие Пособие Пособие Пособие Пособие Пособие Пособие Пособие Пособие Пособие Пособие Пособие Пособие Пособие Пособие Пособие Пособие Пособие Пособие Пособие Пособие Пособие Пособие Пособие Пособие Пособие Пособие Пособие Пособие Пособие Пособие Пособие Пособие Пособие Пособие Пособие Пособие Пособие Пособие Пособие Пособие Пособие Пособие Пособие Пособие Пособие Пособие Пособие Пособие Пособие Пособие Пособие Пособие Пособие Пособие Пособие Пособие Пособие Пособие Пособие Пособие Пособие Пособие Пособие Пособие Пособие Пособие Пособие Пособие Пособие Пособие Пособие Пособие Пособие Пособие Пособие Пособие Пособие Пособие

© 2013 Ёшкин Кот :-) Карта сайта