| ||||||||||||||||||||||||||||||
Скачать Пособие к СНиП 1.04.03-85 Пособие по определению продолжительности строительства предприятий, зданий и сооруженийДата актуализации: 10.08.2017
|
| Обозначение: | Пособие к СНиП 1.04.03-85 |
| Обозначение англ: | SNIP Handbook 1.04.03-85 |
| Статус: | действует |
| Название рус.: | Пособие по определению продолжительности строительства предприятий, зданий и сооружений |
| Название англ.: | Handbook for the Determination of Construction Timeframe for Facilities, Buildings, and Structures |
| Дата добавления в базу: | 01.09.2013 |
| Дата актуализации: | 05.05.2017 |
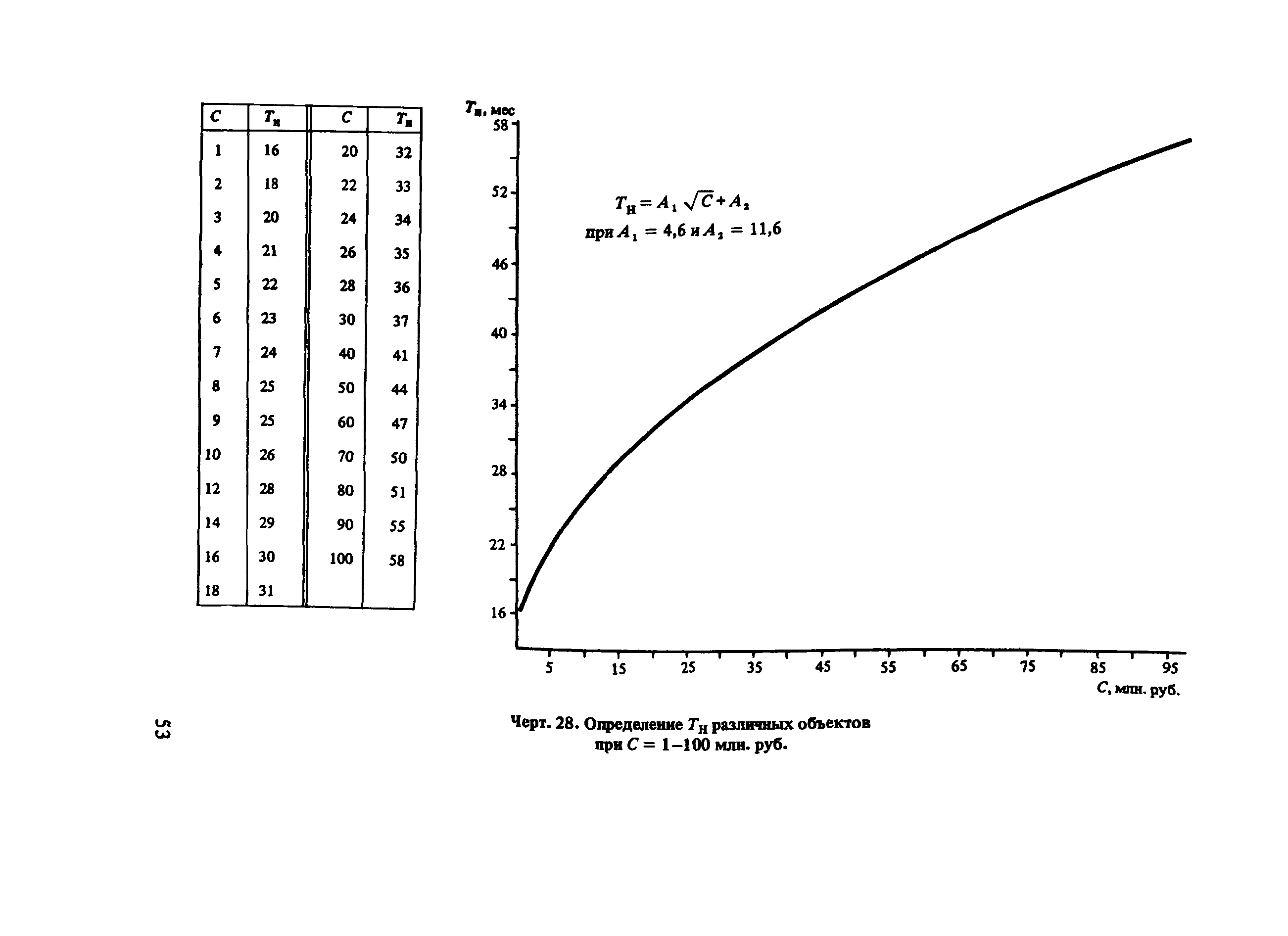
| Оглавление: | Предисловие 1 Определение сроков возведения объектов, не имеющих установленных норм продолжительности строительства 2 Разъяснения и уточнения по применению норм продолжительности строительства 3 Расчетный метод определения общей продолжительности строительства объектов различного отраслевого назначения от объема СМР Приложение Графики для расчета общей продолжительности строительства предприятий, зданий и сооружений по отраслям и подотраслям народного хозяйства и промышленности |
| Разработан: | ЦНИИОМТП |
| Утверждён: | 16.09.1987 ЦНИИОМТП Госстроя СССР (TsNIIOMTP, USSR Gosstroy 183) |
| Издан: | ЦИТП Госстроя СССР (CITP, Gosstroy (USSR) 1987 г. ) ЦИТП Госстроя СССР (CITP, Gosstroy (USSR) 1988 г. ) |
| Расположен в: | |
| Нормативные ссылки: |
|

























































































