Информационная система
«Ёшкин Кот»

XXXecatmenu

ОСТ 26.260.471-2000

СТАНДАРТ ОТРАСЛИ

 

УСТРОЙСТВА ДЛЯ ОТБОРА ДАВЛЕНИЯ
НА РУ 4,0 и 16,0 МПа

Конструкция и размеры

Предисловие

1 РАЗРАБОТАН Дочерним открытым акционерным обществом Центральное конструкторское бюро нефтеаппаратуры ДАО ЦКБН

2 ПРИНЯТ И ВВЕДЕН В ДЕЙСТВИЕ Техническим комитетом 260 «Оборудование химическое и нефтегазоперерабатывающее»

3 ВВЕДЕН ВПЕРВЫЕ

СТАНДАРТ ОТРАСЛИ

УСТРОЙСТВА ДЛЯ ОТБОРА ДАВЛЕНИЯ
НА
РУ 4,0 и 16,0 МПа

Конструкция и размеры

Дата введения 2000-12-01

1 Область применения

Настоящий стандарт устанавливает типы, пределы применения, конструкцию и основные размеры устройств для отбора давления на трубопроводах и аппаратах, применяемых в химической, нефтехимической, газовой и других смежных отраслях промышленности на условное давление РУ 4,0 и 16,0 МПа.

Устройства для отбора давления предназначены для подачи среды под давлением к приборам, установленным дистанционно.

Устройства типа 1 и 3 предназначены для неагрессивной среды со скоростью коррозии до 0,1 мм/год:

- природный газ с содержанием углекислоты до 1 % объемных, сероводорода не более 20 мг/нм3, нефтегазовая смесь, углеводородный конденсат, конденсационная вода, метанол, мехпримеси.

Устройства типа 2 предназначены для агрессивной среды со скоростью коррозии свыше 0,1 мм/год. Состав среды для материального исполнения 3:

- природный газ, углеводородный конденсат, нефтегазовая смесь, содержащие сероводород, вызывающий коррозионное растрескивание при парциальном давлении сероводорода более 0,0003 МПа;

- растворы щелочей, аминов, вызывающие коррозионное растрескивание;

- растворы гликолей, содержащие продукты окисления - муравьиную и уксусную кислоты;

Состав среды для материального исполнения 4:

- тоже, что и для материального исполнения 3, в том числе:

- природный газ, метанол, пластовая вода, содержащая хлориды более 50 г/л.

2 Нормативные ссылки

В настоящем стандарте использованы ссылки на следующие стандарты:

ОСТ 26.260.465-2000 Устройства для установки приборов измерения давления на РУ 1,6 МПа (с краном трехходовым). Конструкция и размеры

ОСТ 26.260.466-2000 Устройства для установки приборов измерения давления на РУ 4,0 и 16,0 МПа (с двумя вентилями). Конструкция и размеры

ОСТ 26.260.467-2000 Устройства для установки приборов измерения давления на РУ 4,0 и 16,0 МПа (с двумя клапанами типа 15нж54бк). Конструкция и размеры

ОСТ 26.260.472-2000 Устройства для установки приборов измерения и отбора давления. Общие технические требования

ТУ 26-07-1078-73 Вентили запорные муфтовые типа ВВД, РУ 16 МПа (160 кгс/см2). Технические условия

ТУ 26-07-1418-86 Клапаны запорные стальные РУ 16 МПа (160 кгс/см2). Технические условия

ТУ 26-07-1171-83 Задвижки клиновые стальные ЗКС15-160-00, ЗКС25-160-00, ЗКС-40-00. Технические условия

3 Конструкция и размеры

Устройства для отбора давления по конструкции и размерам предусматриваются трех типов:

Тип 1 - устройства для отбора давления неагрессивной жидкости или газа на РУ 4,0 и 16,0 МПа, температуру от минус 40 до 250 °С (рисунки 1 - 4, таблица 1)

Тип 2 - устройства для отбора давления агрессивной жидкости или газа на РУ 4,0 и 16,0 МПа, температуру от минус 40 до 300 °С (рисунки 5 - 8, таблица 2)

Тип 3 - устройства для отбора давления неагрессивной жидкости или газа на условное давление РУ 4,0 и 16,0 МПа, температуру от минус 60 до 450 °С (рисунки 9 - 12, таблица 3)

3.1 Устройства для отбора давления типа 1 (в дальнейшем устройства) имеют четыре исполнения (рисунки 1 - 4, таблица 1).

Тип 1. Исполнение 1

1 - ниппель шаровый 1 ОСТ 26.260.465; 2 - гайка накидная 1 ОСТ 26.260.465; 3 - штуцер концевой 1 ОСТ 26.260.466; 4 - штуцер проходной 1 ОСТ 26.260.466; 5 - вентиль Ду 15, РУ 16 МПа т/ф 14с64нж (Р1327-00-00) У1 ТУ 26-07-1078

Рисунок 1

Тип 1. Исполнение 2
Остальное см. исполнение 1

6 - тройник переходный 2 ОСТ 26.260.466

Рисунок 2

Тип 1. Исполнение 3
Остальное см. исполнение 1

6 - заглушка 3 ОСТ 26.260.466

Рисунок 3

Тип 1. Исполнение 4
Остальное см. исполн. 1

6* - заглушка 4 ОСТ 26.260.466

* Заглушку поз. 6 для сосудов и аппаратов 1 и 2 группы применять с уплотнительной поверхностью «выступ» рисунок 24 ОСТ 26.260.466.

Рисунок 4

Таблица 1

Исполнение

Давление условное РУ, МПа

Температура среды, °С

Н, мм

Масса, кг

1

16

До 250

162

0,86

2

215

1,30

3

212

4,36

4

4

196

2,36

Пример условного обозначения устройства для отбора давления типа 1, исполнения 2, материального исполнения 2, на РУ 16,0 МПа:

Устройство для отбора давления 1-2-2-16,0 ОСТ 26.260.471-2000

3.2 Устройства для отбора давления типа 2 (в дальнейшем устройства) имеют четыре исполнения (рисунки 5 - 8, таблица 2).

Тип 2. Исполнение 1

1 - прокладка 1 ОСТ 26.260.465; 2 - штуцер 1 ОСТ 26.260.467; 3 - гайка 1 ОСТ 26.260.467; 4 - штуцер ввертной 1 ОСТ 26.260.467; 5 - прокладка 1 ОСТ 26.260.467; 6 - клапан ДУ 15 РУ 16 МПа т/ф 15нж54бк (П3,2286-015) ТУ 26-07-1418 или клапан ДУ 15 РУ 16 МПа т/ф 15нж54бк1 (П3,2286-015-03) ТУ 26-07-1418

Рисунок 5

Тип 2. Исполнение 2
Остальное см. исполнение 1

7 - тройник переходный 2 ОСТ 26.260.466

Рисунок 6

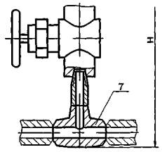
Тип 2. Исполнение 3
Остальное см. исполнение 1

7 - заглушка 3 ОСТ 26.260.466

Рисунок 7

Тип 2. Исполнение 4
Остальное см. исполнение 1

7* - заглушка 4 ОСТ 26.260.466

* Заглушку поз. 7 для сосудов и аппаратов 1 и 2 группы применять с уплотнительной поверхностью «выступ» рисунок 24 ОСТ 26.260.466

Рисунок 8

Таблица 2

Исполнение

Давление условное РУ, МПа

Температура среды, °С

Н, мм

Масса, кг

1

16

До 300

150

1,0

2

203

1,4

3

200

4,5

4

4

185

2,4

Пример условного обозначения устройства для отбора давления типа 2, исполнения 3, материального исполнения 3, на РУ 16,0 МПа:

Устройство для отбора давления 2-3-3-16,0 ОСТ 26.260.471 -2000

3.3 Устройства для отбора давления типа 3 (в дальнейшем устройства) имеют четыре исполнения (рисунки 9 - 12 и таблица 3).

Тип 3. Исполнение 1

1 - ниппель шаровый 1 ОСТ 26.260.465; 2 - гайка накидная 1 ОСТ 26.260.465; 3 - прокладка 1 ОСТ 26.260.465; 4 - штуцер концевой 1 ОСТ 26.260.466; 5 - штуцер проходной 1 ОСТ 26.260.466; 6 - задвижка ЗКС15-160-00 т/ф 31лс77нж ТУ 26-07-1171

Рисунок 9

Тип 3. Исполнение 2
Остальное см. исполнение 1

7 - тройник переходный 2 ОСТ 26.260.466

Рисунок 10

Тип 3. Исполнение 3
Остальное см. исполнение 1

7 - заглушка 3 ОСТ 26.260.466

Рисунок 11

Тип 3. Исполнение 4
Остальное см. испол
нение 1

7* - заглушка 4 ОСТ 26.260.466

* Заглушку поз.7 для сосудов и аппаратов 1 и 2 группы применять с уплотнительной поверхностью «выступ» рисунок 24 ОСТ 26.260.466.

Рисунок 12

Таблица 3

Исполнение

Давление условное Ру, МПа

Температура среды, °С

Н, мм

Масса, кг

1

16

До 450

168

2,2

2

221

2,7

3

218

5,7

4

4

202

3,7

Пример условного обозначения устройства для отбора давления типа 3, исполнения 2, материального исполнения 7, на РУ 16,0 МПа:

Устройство для отбора давления 3-2-7-16,0 ОСТ 26.260.471-2000

3.4 Технические требования - по ОСТ 26.260.472

СОДЕРЖАНИЕ

 



© 2013 Ёшкин Кот :-)