Информационная система
«Ёшкин Кот»

Скачать базу одним архивом
Скачать обновления
История создания базы
Карта сайта

Скачать СТО 70238424.27.040.023-2009 Турбина паровая Р-50-130 ЛМЗ. Технические условия на капитальный ремонт. Нормы и требования

Дата актуализации: 10.08.2017

СТО 70238424.27.040.023-2009

Турбина паровая Р-50-130 ЛМЗ. Технические условия на капитальный ремонт. Нормы и требования

Обозначение: СТО 70238424.27.040.023-2009
Обозначение англ: STO 70238424.27.040.023-2009
Статус:организационно-ограниченного применения
Название рус.:Турбина паровая Р-50-130 ЛМЗ. Технические условия на капитальный ремонт. Нормы и требования
Дата добавления в базу:01.10.2014
Дата актуализации:05.05.2017
Дата введения:11.01.2010
Область применения:Стандарт распространяется на капитальный ремонт турбин паровых Р-50-130 ЛМЗ и предназначен для применения генерирующими компаниями, эксплуатирующими организациями на тепловых электростанциях, ремонтными и иными организациями, осуществляющими ремонтное обслуживание оборудования электростанций.
Оглавление:1 Область применения
2 Нормативные ссылки
3 Термины, определения, обозначения и сокращения
4 Общие положения
5 Общие технические сведения
6 Общие технические требования
7 Требования к составным частям
   7.1 Корпусные части цилиндра турбины (карты 1 - 10)
   7.2 Ротор турбины (карта 11)
   7.3 Передний подшипник (карты 9, 12, 14, 21)
   7.4 Задний подшипник (карты 9, 12, 13, 18, 19, 21)
   7.5 Валоповоротное устройство (карта 22)
   7.6 Цилиндр турбины (карта 23)
   7.7 Центробежный масляный насос (карты 24, 25)
   7.8 Муфта зубчатая "Насос-РТ" (карта 26)
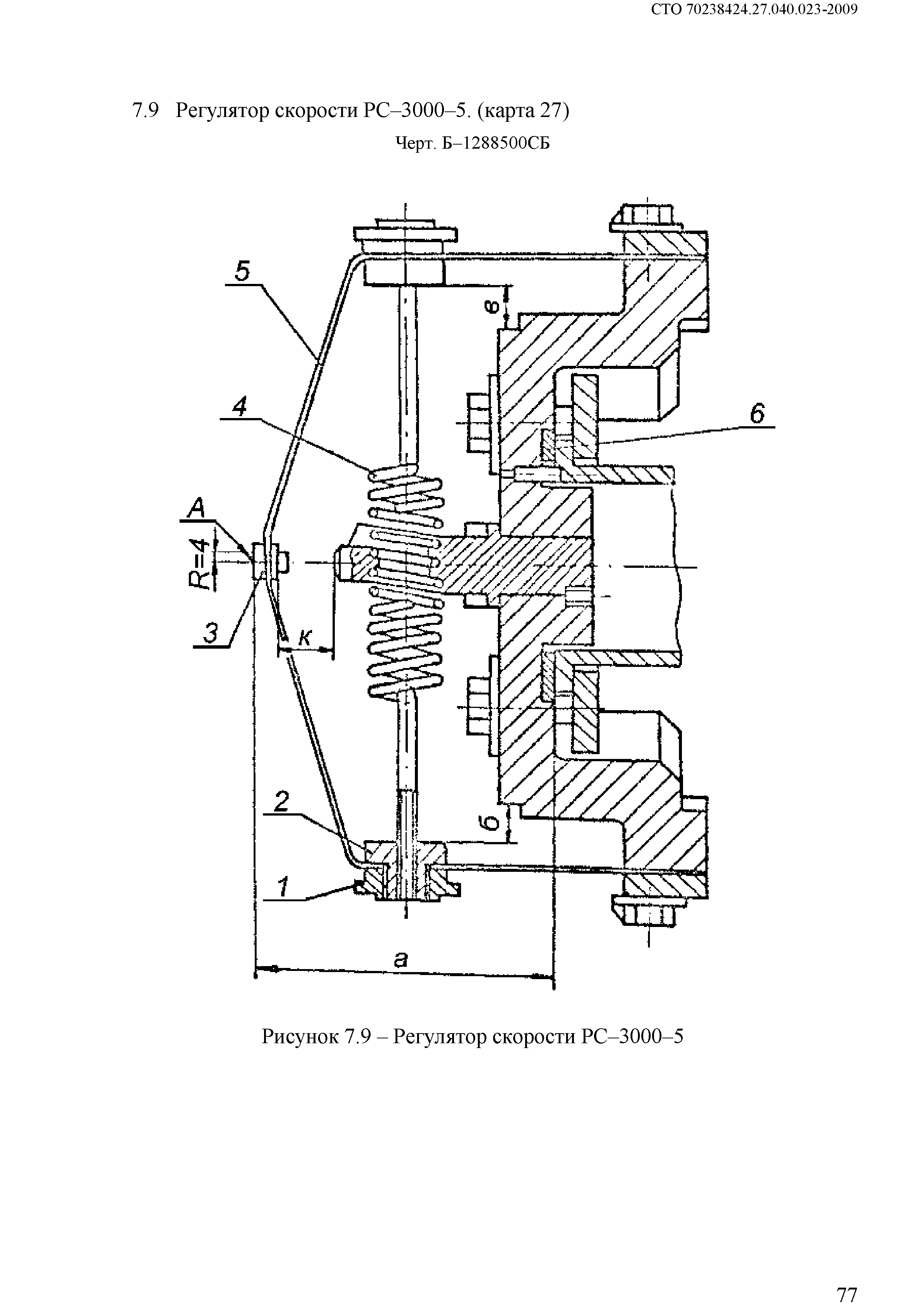
   7.9 Регулятор скорости РС-3000-5 (карта 27)
   7.10 Привод к тахометру (карта 28)
   7.11 Регулятор давления (карты 9, 30, 33)
   7.12 Блок золотников регулятора скорости (карты 9, 29, 30, 33)
   7.13 Блок золотников регулятора скорости (карты 9, 30, 33)
   7.14 Дифференциатор (карты 9, 29, 33)
   7.15 Золотники регулятора безопасности (карты 9, 29, 30, 33)
   7.16 Золотники регулятора безопасности (карты 9, 29, 30, 33)
   7.17 Электромагнитный выключатель (карта 34)
   7.18 Электромагнитный выключатель (карта 34)
   7.19 Регулятор безопасности (карты 35, 36)
   7.20 Рычаги регулятора безопасности (карта 37)
   7.21 Сервомотор автозатвора свежего пара (карты 38 - 41)
   7.22 Сервомотор регулирующих клапанов (карты 38 - 41)
   7.23 Кулачковое распределительное устройство (карта 41)
   7.24 Колонки и рычаги регулирующих клапанов (карта 43)
   7.25 Клапан автоматического затвора (карты 44 - 48)
   7.26 Клапаны регулирующие № 1, № 3, № 4 (карты 44 - 46, 48)
   7.27 Клапан регулирующий № 2 (карты 44 - 46, 48)
   7.28 Клапан перегрузочный (карты 44 - 46, 48)
8 Требования к сборке и к отремонтированному изделию
9 Испытания и показатели качества отремонтированной турбины
10 Требования к обеспечению безопасности
11 Оценка соответствия
Приложение А (рекомендуемое). Материалы основных частей и допустимые замены
Приложение Б (обязательное). Нормы зазоров и натягов
Приложение В (рекомендуемое). Перечень средств измерений
Приложение Г (рекомендуемое). Замена бандажей без разлопачивания ступени турбины
Приложение Д (рекомендуемое). Допустимость увеличения отверстий под болты в соединительных муфтах турбоагрегатов при ремонтах валопроводов
Приложение Е (рекомендуемое). Ремонт и замена регулятора скорости на электростанциях
Приложение Ж (рекомендуемое). Наладка дистанционного управления турбин типа К-50-90, К-100-90, ПТ-60-90/130, Р-50-130 и К-200-130
Приложение И (рекомендуемое). Устранение ослабления посадки седел стопорных и регулирующих клапанов паровых турбин высокого давления
Библиография
Разработан: ЗАО ЦКБ Энергоремонт
Утверждён:17.12.2009 НП ИНВЭЛ (90)
Расположен в:Техническая документация
Нормативные ссылки:
СТО 70238424.27.040.023-2009СТО 70238424.27.040.023-2009СТО 70238424.27.040.023-2009СТО 70238424.27.040.023-2009СТО 70238424.27.040.023-2009СТО 70238424.27.040.023-2009СТО 70238424.27.040.023-2009СТО 70238424.27.040.023-2009СТО 70238424.27.040.023-2009СТО 70238424.27.040.023-2009СТО 70238424.27.040.023-2009СТО 70238424.27.040.023-2009СТО 70238424.27.040.023-2009СТО 70238424.27.040.023-2009СТО 70238424.27.040.023-2009СТО 70238424.27.040.023-2009СТО 70238424.27.040.023-2009СТО 70238424.27.040.023-2009СТО 70238424.27.040.023-2009СТО 70238424.27.040.023-2009СТО 70238424.27.040.023-2009СТО 70238424.27.040.023-2009СТО 70238424.27.040.023-2009СТО 70238424.27.040.023-2009СТО 70238424.27.040.023-2009СТО 70238424.27.040.023-2009СТО 70238424.27.040.023-2009СТО 70238424.27.040.023-2009СТО 70238424.27.040.023-2009СТО 70238424.27.040.023-2009СТО 70238424.27.040.023-2009СТО 70238424.27.040.023-2009СТО 70238424.27.040.023-2009СТО 70238424.27.040.023-2009СТО 70238424.27.040.023-2009СТО 70238424.27.040.023-2009СТО 70238424.27.040.023-2009СТО 70238424.27.040.023-2009СТО 70238424.27.040.023-2009СТО 70238424.27.040.023-2009СТО 70238424.27.040.023-2009СТО 70238424.27.040.023-2009СТО 70238424.27.040.023-2009СТО 70238424.27.040.023-2009СТО 70238424.27.040.023-2009СТО 70238424.27.040.023-2009СТО 70238424.27.040.023-2009СТО 70238424.27.040.023-2009СТО 70238424.27.040.023-2009СТО 70238424.27.040.023-2009СТО 70238424.27.040.023-2009СТО 70238424.27.040.023-2009СТО 70238424.27.040.023-2009СТО 70238424.27.040.023-2009СТО 70238424.27.040.023-2009СТО 70238424.27.040.023-2009СТО 70238424.27.040.023-2009СТО 70238424.27.040.023-2009СТО 70238424.27.040.023-2009СТО 70238424.27.040.023-2009СТО 70238424.27.040.023-2009СТО 70238424.27.040.023-2009СТО 70238424.27.040.023-2009СТО 70238424.27.040.023-2009СТО 70238424.27.040.023-2009СТО 70238424.27.040.023-2009СТО 70238424.27.040.023-2009СТО 70238424.27.040.023-2009СТО 70238424.27.040.023-2009СТО 70238424.27.040.023-2009СТО 70238424.27.040.023-2009СТО 70238424.27.040.023-2009СТО 70238424.27.040.023-2009СТО 70238424.27.040.023-2009СТО 70238424.27.040.023-2009СТО 70238424.27.040.023-2009СТО 70238424.27.040.023-2009СТО 70238424.27.040.023-2009СТО 70238424.27.040.023-2009СТО 70238424.27.040.023-2009СТО 70238424.27.040.023-2009СТО 70238424.27.040.023-2009СТО 70238424.27.040.023-2009СТО 70238424.27.040.023-2009СТО 70238424.27.040.023-2009СТО 70238424.27.040.023-2009СТО 70238424.27.040.023-2009СТО 70238424.27.040.023-2009СТО 70238424.27.040.023-2009СТО 70238424.27.040.023-2009СТО 70238424.27.040.023-2009СТО 70238424.27.040.023-2009СТО 70238424.27.040.023-2009СТО 70238424.27.040.023-2009СТО 70238424.27.040.023-2009СТО 70238424.27.040.023-2009СТО 70238424.27.040.023-2009СТО 70238424.27.040.023-2009СТО 70238424.27.040.023-2009СТО 70238424.27.040.023-2009СТО 70238424.27.040.023-2009СТО 70238424.27.040.023-2009СТО 70238424.27.040.023-2009СТО 70238424.27.040.023-2009СТО 70238424.27.040.023-2009СТО 70238424.27.040.023-2009СТО 70238424.27.040.023-2009СТО 70238424.27.040.023-2009СТО 70238424.27.040.023-2009СТО 70238424.27.040.023-2009СТО 70238424.27.040.023-2009СТО 70238424.27.040.023-2009СТО 70238424.27.040.023-2009СТО 70238424.27.040.023-2009СТО 70238424.27.040.023-2009СТО 70238424.27.040.023-2009СТО 70238424.27.040.023-2009СТО 70238424.27.040.023-2009СТО 70238424.27.040.023-2009СТО 70238424.27.040.023-2009СТО 70238424.27.040.023-2009СТО 70238424.27.040.023-2009СТО 70238424.27.040.023-2009СТО 70238424.27.040.023-2009СТО 70238424.27.040.023-2009СТО 70238424.27.040.023-2009СТО 70238424.27.040.023-2009СТО 70238424.27.040.023-2009СТО 70238424.27.040.023-2009СТО 70238424.27.040.023-2009СТО 70238424.27.040.023-2009СТО 70238424.27.040.023-2009СТО 70238424.27.040.023-2009СТО 70238424.27.040.023-2009СТО 70238424.27.040.023-2009СТО 70238424.27.040.023-2009СТО 70238424.27.040.023-2009СТО 70238424.27.040.023-2009СТО 70238424.27.040.023-2009СТО 70238424.27.040.023-2009СТО 70238424.27.040.023-2009СТО 70238424.27.040.023-2009СТО 70238424.27.040.023-2009СТО 70238424.27.040.023-2009СТО 70238424.27.040.023-2009СТО 70238424.27.040.023-2009СТО 70238424.27.040.023-2009СТО 70238424.27.040.023-2009СТО 70238424.27.040.023-2009СТО 70238424.27.040.023-2009СТО 70238424.27.040.023-2009СТО 70238424.27.040.023-2009СТО 70238424.27.040.023-2009СТО 70238424.27.040.023-2009СТО 70238424.27.040.023-2009СТО 70238424.27.040.023-2009СТО 70238424.27.040.023-2009СТО 70238424.27.040.023-2009СТО 70238424.27.040.023-2009СТО 70238424.27.040.023-2009СТО 70238424.27.040.023-2009СТО 70238424.27.040.023-2009СТО 70238424.27.040.023-2009СТО 70238424.27.040.023-2009СТО 70238424.27.040.023-2009СТО 70238424.27.040.023-2009СТО 70238424.27.040.023-2009СТО 70238424.27.040.023-2009СТО 70238424.27.040.023-2009СТО 70238424.27.040.023-2009СТО 70238424.27.040.023-2009СТО 70238424.27.040.023-2009СТО 70238424.27.040.023-2009СТО 70238424.27.040.023-2009СТО 70238424.27.040.023-2009СТО 70238424.27.040.023-2009СТО 70238424.27.040.023-2009СТО 70238424.27.040.023-2009СТО 70238424.27.040.023-2009СТО 70238424.27.040.023-2009СТО 70238424.27.040.023-2009СТО 70238424.27.040.023-2009СТО 70238424.27.040.023-2009СТО 70238424.27.040.023-2009СТО 70238424.27.040.023-2009СТО 70238424.27.040.023-2009СТО 70238424.27.040.023-2009СТО 70238424.27.040.023-2009СТО 70238424.27.040.023-2009СТО 70238424.27.040.023-2009СТО 70238424.27.040.023-2009СТО 70238424.27.040.023-2009СТО 70238424.27.040.023-2009СТО 70238424.27.040.023-2009СТО 70238424.27.040.023-2009СТО 70238424.27.040.023-2009СТО 70238424.27.040.023-2009СТО 70238424.27.040.023-2009СТО 70238424.27.040.023-2009СТО 70238424.27.040.023-2009СТО 70238424.27.040.023-2009

© 2013 Ёшкин Кот :-) Карта сайта