Информационная система
«Ёшкин Кот»

Скачать базу одним архивом
Скачать обновления
История создания базы
Карта сайта

Скачать ГОСТ Р 52797.2-2007 Акустика. Рекомендуемые методы проектирования малошумных рабочих мест производственных помещений. Часть 2. Меры и средства защиты от шума

Дата актуализации: 10.08.2017

ГОСТ Р 52797.2-2007

Акустика. Рекомендуемые методы проектирования малошумных рабочих мест производственных помещений. Часть 2. Меры и средства защиты от шума

Обозначение: ГОСТ Р 52797.2-2007
Обозначение англ: GOST R 52797.2-2007
Статус:действует
Название рус.:Акустика. Рекомендуемые методы проектирования малошумных рабочих мест производственных помещений. Часть 2. Меры и средства защиты от шума
Название англ.:Acoustics. Recommended practice for the design of low-noise workplaces containing machinery. Part 2. Noise control measures
Дата добавления в базу:01.09.2013
Дата актуализации:05.05.2017
Дата введения:01.07.2008
Область применения:Стандарт устанавливает технические меры защиты от шума на рабочих местах. В стандарте рассмотрены различные виды средств и мер защиты, акустические величины для оценки и контроля эффективности этих средств, приведены типичные значения характеристик снижения шума.
Оглавление:1 Область применения
2 Нормативные ссылки
3 Термины и определения
4 Технические меры защиты от шума
5 Снижение шума в источнике
6 Ослабление шума на пути его распространения
7 Защита от шума на рабочем месте
8 Методы контроля
9 Новые технологии
Приложение А (справочное) Модификация или замена составных частей машин
Приложение В (справочное) Размещение источников шума
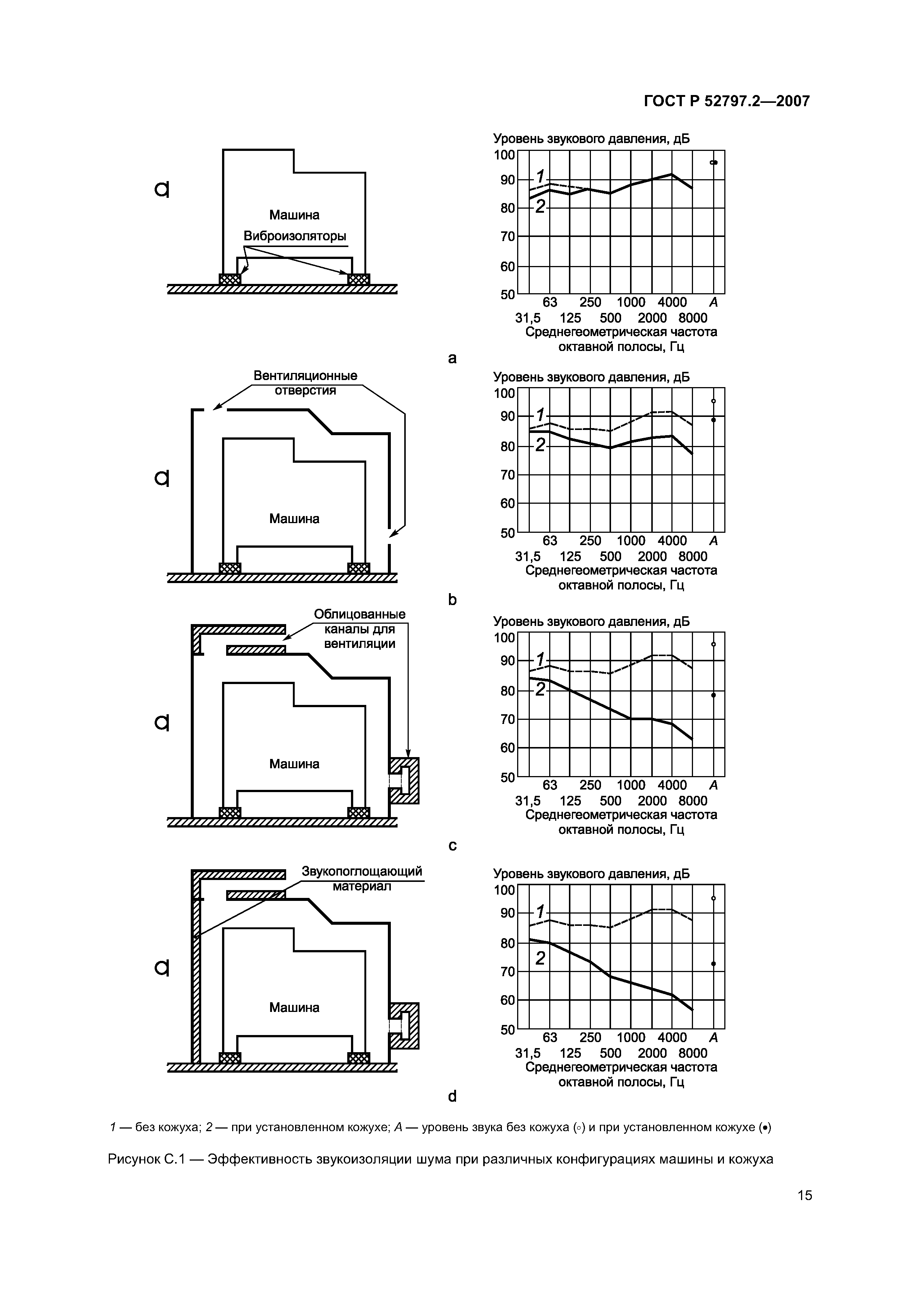
Приложение С (справочное) Кожухи
Приложение D (справочное) Глушители
Приложение Е (справочное) Шумозащитные барьеры и экраны в помещениях.
Приложение F (справочное) Акустическая обработка поверхностей
Приложение G (справочное) Звукоизоляция структурного шума
Приложение Н (справочное) Звукоизоляция воздушного шума перегородками
Приложение I (справочное) Снижение шума на рабочем месте
Приложение J (справочное) Пример новой технологии
Приложение К (справочное) Сведения о соответствии ссылочных международных стандартов национальным стандартам Российской Федерации, использованным в настоящем стандарте в качестве нормативных ссылок
Библиография.
Разработан: ОАО НИЦ КД
Утверждён:25.12.2007 Федеральное агентство по техническому регулированию и метрологии (404-ст)
Издан: Стандартинформ (2008 г. )
Расположен в:Техническая документация Электроэнергия ОХРАНА ОКРУЖАЮЩЕЙ СРЕДЫ, ЗАЩИТА ЧЕЛОВЕКА ОТ ВОЗДЕЙСТВИЯ ОКРУЖАЮЩЕЙ СРЕДЫ. БЕЗОПАСНОСТЬ Воздействие шума на человека Экология ОХРАНА ОКРУЖАЮЩЕЙ СРЕДЫ, ЗАЩИТА ЧЕЛОВЕКА ОТ ВОЗДЕЙСТВИЯ ОКРУЖАЮЩЕЙ СРЕДЫ. БЕЗОПАСНОСТЬ Воздействие шума на человека
Нормативные ссылки:
ГОСТ Р 52797.2-2007ГОСТ Р 52797.2-2007ГОСТ Р 52797.2-2007ГОСТ Р 52797.2-2007ГОСТ Р 52797.2-2007ГОСТ Р 52797.2-2007ГОСТ Р 52797.2-2007ГОСТ Р 52797.2-2007ГОСТ Р 52797.2-2007ГОСТ Р 52797.2-2007ГОСТ Р 52797.2-2007ГОСТ Р 52797.2-2007ГОСТ Р 52797.2-2007ГОСТ Р 52797.2-2007ГОСТ Р 52797.2-2007ГОСТ Р 52797.2-2007ГОСТ Р 52797.2-2007ГОСТ Р 52797.2-2007ГОСТ Р 52797.2-2007ГОСТ Р 52797.2-2007ГОСТ Р 52797.2-2007ГОСТ Р 52797.2-2007ГОСТ Р 52797.2-2007ГОСТ Р 52797.2-2007ГОСТ Р 52797.2-2007ГОСТ Р 52797.2-2007ГОСТ Р 52797.2-2007ГОСТ Р 52797.2-2007

© 2013 Ёшкин Кот :-) Карта сайта