Информационная система
«Ёшкин Кот»

Скачать базу одним архивом
Скачать обновления
История создания базы
Карта сайта

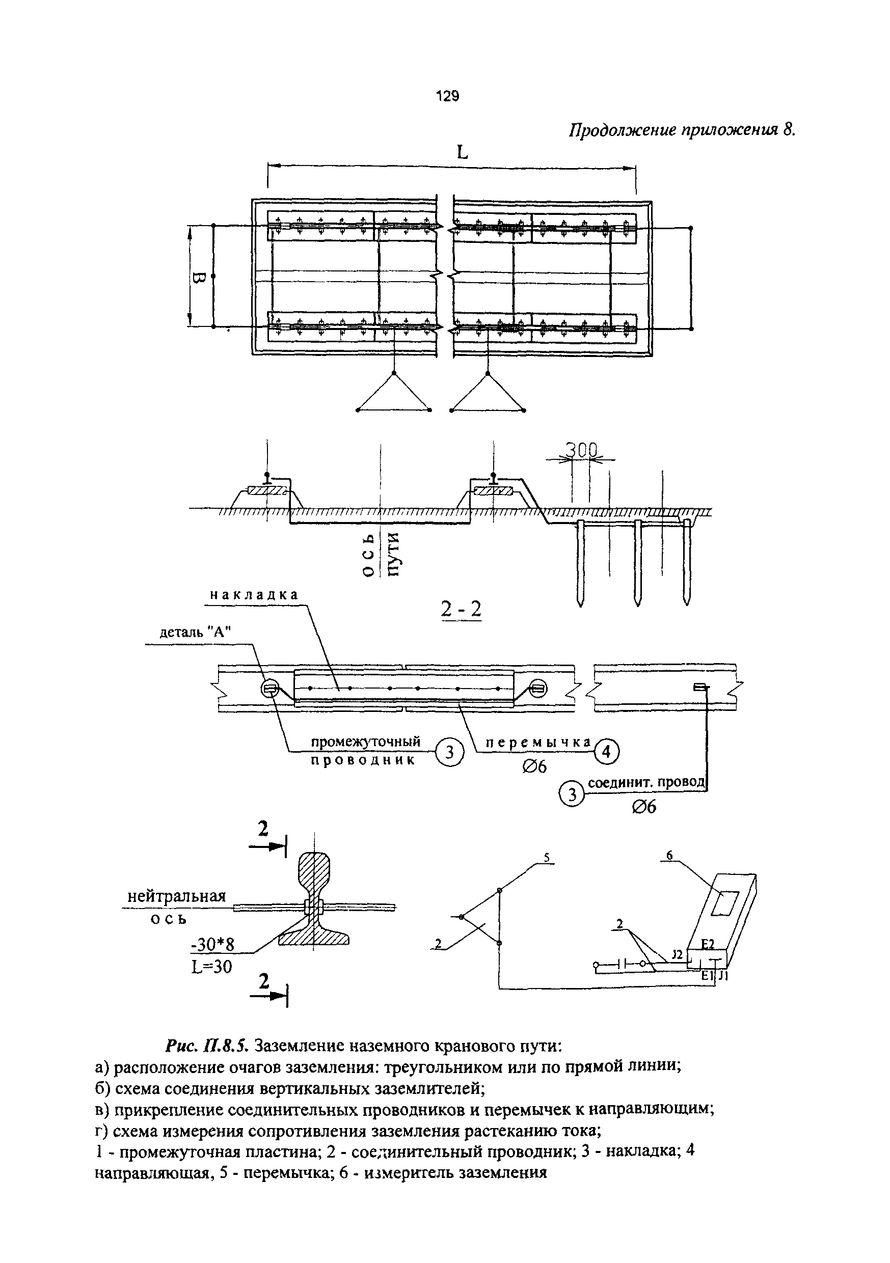
Скачать РД 50:48:0075.01.05 Рекомендации по устройству и безопасной эксплуатации наземных крановых путей

Дата актуализации: 10.08.2017

РД 50:48:0075.01.05

Рекомендации по устройству и безопасной эксплуатации наземных крановых путей

Обозначение: РД 50:48:0075.01.05
Обозначение англ: RD 50:48:0075.01.05
Статус:действует
Название рус.:Рекомендации по устройству и безопасной эксплуатации наземных крановых путей
Дата добавления в базу:01.09.2013
Дата актуализации:05.05.2017
Дата введения:25.09.2002
Область применения:Рекомендации устанавливают порядок устройства верхнего и нижнего строения путей и приемки их в эксплуатацию при производстве работ и разработке проекта установки козловых, башенных и портальных кранов любых конструкций.
Оглавление:1 Общие положения
2 Рекомендации по проектированию наземных крановых путей
3 Рекомендации по устройству наземных крановых путей
4 Подготовка и проведение приемо-сдаточных испытаний кранового пути
5 Рекомендации по эксплуатации наземных крановых путей
6 Дефекты, повреждения и рекомендации по оценке технического состояния крановых путей
7 Рекомендации по контролю качества наземных крановых путей
8 Рекомендации по технике безопасности при устройстве, эксплуатации, ремонте и обследовании крановых путей
Приложение 1. Основные термины и определения
Приложение 2. Перечень нормативно-технической документации, на которую имеются ссылки
Приложение 3. Классификация крановых путей
Приложение 4. Паспорт кранового пути
Приложение 5. Общие методические положения и значения параметров, используемые при расчетах наземных крановых путей
Приложение 6. План, профиль и основные геометрические размеры элементов наземного кранового пути
Приложение 7. Элементы верхнего строения кранового пути
Приложение 8. Путевое оборудование наземных крановых путей
Приложение 9. Паспорт тупикового упора ударного тип
Приложение 10. Методика определения упругой просадки наземного кранового пути
Приложение 11. Перечень рекомендуемых приборов и инструмента для контроля расчетных параметров, геометрических размеров, просадок пути и отбора проб земляного полотна
Приложение 12. Предельно допускаемые величины отклонений от проектного положения параметров кранового пути
Приложение 13. Характерные дефекты, повреждения и оценка технического состояния наземных крановых путей
Приложение 14. Методика проведения геодезического контроля положения элементов кранового пути
Приложение 15. Перечень документов для организации обслуживания, ремонта и технического освидетельствования наземных крановых путей
Утверждён:25.09.2002 НПЦ Путь К
Принят:06.05.2005 Федеральная служба по экологическому, технологическому и атомному надзору (09-03/896)
Расположен в:Техническая документация Экология ПОДЪЕМНО-ТРАНСПОРТНОЕ ОБОРУДОВАНИЕ Подъемное оборудование Краны Строительство Справочные документы Директивные письма, положения, рекомендации и др.
Нормативные ссылки:
РД 50:48:0075.01.05РД 50:48:0075.01.05РД 50:48:0075.01.05РД 50:48:0075.01.05РД 50:48:0075.01.05РД 50:48:0075.01.05РД 50:48:0075.01.05РД 50:48:0075.01.05РД 50:48:0075.01.05РД 50:48:0075.01.05РД 50:48:0075.01.05РД 50:48:0075.01.05РД 50:48:0075.01.05РД 50:48:0075.01.05РД 50:48:0075.01.05РД 50:48:0075.01.05РД 50:48:0075.01.05РД 50:48:0075.01.05РД 50:48:0075.01.05РД 50:48:0075.01.05РД 50:48:0075.01.05РД 50:48:0075.01.05РД 50:48:0075.01.05РД 50:48:0075.01.05РД 50:48:0075.01.05РД 50:48:0075.01.05РД 50:48:0075.01.05РД 50:48:0075.01.05РД 50:48:0075.01.05РД 50:48:0075.01.05РД 50:48:0075.01.05РД 50:48:0075.01.05РД 50:48:0075.01.05РД 50:48:0075.01.05РД 50:48:0075.01.05РД 50:48:0075.01.05РД 50:48:0075.01.05РД 50:48:0075.01.05РД 50:48:0075.01.05РД 50:48:0075.01.05РД 50:48:0075.01.05РД 50:48:0075.01.05РД 50:48:0075.01.05РД 50:48:0075.01.05РД 50:48:0075.01.05РД 50:48:0075.01.05РД 50:48:0075.01.05РД 50:48:0075.01.05РД 50:48:0075.01.05РД 50:48:0075.01.05РД 50:48:0075.01.05РД 50:48:0075.01.05РД 50:48:0075.01.05РД 50:48:0075.01.05РД 50:48:0075.01.05РД 50:48:0075.01.05РД 50:48:0075.01.05РД 50:48:0075.01.05РД 50:48:0075.01.05РД 50:48:0075.01.05РД 50:48:0075.01.05РД 50:48:0075.01.05РД 50:48:0075.01.05РД 50:48:0075.01.05РД 50:48:0075.01.05РД 50:48:0075.01.05РД 50:48:0075.01.05РД 50:48:0075.01.05РД 50:48:0075.01.05РД 50:48:0075.01.05РД 50:48:0075.01.05РД 50:48:0075.01.05РД 50:48:0075.01.05РД 50:48:0075.01.05РД 50:48:0075.01.05РД 50:48:0075.01.05РД 50:48:0075.01.05РД 50:48:0075.01.05РД 50:48:0075.01.05РД 50:48:0075.01.05РД 50:48:0075.01.05РД 50:48:0075.01.05РД 50:48:0075.01.05РД 50:48:0075.01.05РД 50:48:0075.01.05РД 50:48:0075.01.05РД 50:48:0075.01.05РД 50:48:0075.01.05РД 50:48:0075.01.05РД 50:48:0075.01.05РД 50:48:0075.01.05РД 50:48:0075.01.05РД 50:48:0075.01.05РД 50:48:0075.01.05РД 50:48:0075.01.05РД 50:48:0075.01.05РД 50:48:0075.01.05РД 50:48:0075.01.05РД 50:48:0075.01.05РД 50:48:0075.01.05РД 50:48:0075.01.05РД 50:48:0075.01.05РД 50:48:0075.01.05РД 50:48:0075.01.05РД 50:48:0075.01.05РД 50:48:0075.01.05РД 50:48:0075.01.05РД 50:48:0075.01.05РД 50:48:0075.01.05РД 50:48:0075.01.05РД 50:48:0075.01.05РД 50:48:0075.01.05РД 50:48:0075.01.05РД 50:48:0075.01.05РД 50:48:0075.01.05РД 50:48:0075.01.05РД 50:48:0075.01.05РД 50:48:0075.01.05РД 50:48:0075.01.05РД 50:48:0075.01.05РД 50:48:0075.01.05РД 50:48:0075.01.05РД 50:48:0075.01.05РД 50:48:0075.01.05РД 50:48:0075.01.05РД 50:48:0075.01.05РД 50:48:0075.01.05РД 50:48:0075.01.05РД 50:48:0075.01.05РД 50:48:0075.01.05РД 50:48:0075.01.05РД 50:48:0075.01.05РД 50:48:0075.01.05РД 50:48:0075.01.05РД 50:48:0075.01.05РД 50:48:0075.01.05РД 50:48:0075.01.05РД 50:48:0075.01.05РД 50:48:0075.01.05РД 50:48:0075.01.05РД 50:48:0075.01.05РД 50:48:0075.01.05РД 50:48:0075.01.05РД 50:48:0075.01.05РД 50:48:0075.01.05РД 50:48:0075.01.05РД 50:48:0075.01.05РД 50:48:0075.01.05РД 50:48:0075.01.05РД 50:48:0075.01.05РД 50:48:0075.01.05РД 50:48:0075.01.05РД 50:48:0075.01.05РД 50:48:0075.01.05РД 50:48:0075.01.05РД 50:48:0075.01.05РД 50:48:0075.01.05РД 50:48:0075.01.05РД 50:48:0075.01.05РД 50:48:0075.01.05РД 50:48:0075.01.05РД 50:48:0075.01.05РД 50:48:0075.01.05РД 50:48:0075.01.05РД 50:48:0075.01.05РД 50:48:0075.01.05РД 50:48:0075.01.05РД 50:48:0075.01.05РД 50:48:0075.01.05РД 50:48:0075.01.05РД 50:48:0075.01.05РД 50:48:0075.01.05РД 50:48:0075.01.05РД 50:48:0075.01.05

© 2013 Ёшкин Кот :-) Карта сайта