Скачать ГОСТ Р 52289-2004 Технические средства организации дорожного движения. Правила применения дорожных знаков, разметки, светофоров, дорожных ограждений и направляющих устройствДата актуализации: 10.08.2017 ГОСТ Р 52289-2004
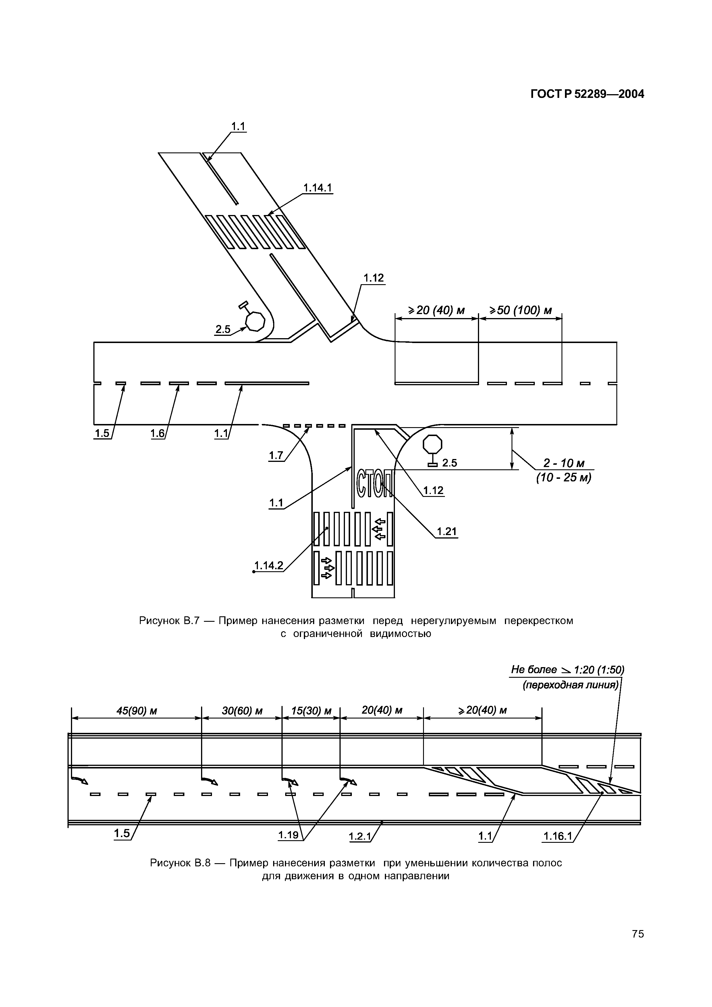
Технические средства организации дорожного движения. Правила применения дорожных знаков, разметки, светофоров, дорожных ограждений и направляющих устройств| Обозначение: | ГОСТ Р 52289-2004 | | Обозначение англ: | GOST R 52289-2004 | | Статус: | введен впервые | | Название рус.: | Технические средства организации дорожного движения. Правила применения дорожных знаков, разметки, светофоров, дорожных ограждений и направляющих устройств | | Название англ.: | Traffic control devices. Rules of application of traffic signs, markings, traffic lights, guardrails and delineators | | Дата добавления в базу: | 01.09.2013 | | Дата актуализации: | 05.05.2017 | | Дата введения: | 01.01.2006 | | Область применения: | Стандарт устанавливает правила применения технических средств организации дорожного движения: дорожных знаков, дорожной разметки, дорожных светофоров, а также дорожных ограждений и направляющих устройств на всех улицах и дорогах. | | Оглавление: | 1 Область применения 2 Нормативные ссылки 3 Термины и определения 4 Общие положения 5 Правила применения дорожных знаков 6 Правила применения дорожной разметки 7 Правила применения дорожных светофоров 8 Правила применения дорожных ограждений и направляющих устройств Приложение А (справочное) Условные обозначения технических средств организации дорожного движения Приложение Б (справочное) Знаки дорожные по ГОСТ Р 52290-2004 Приложение В (обязательное) Рисунки к правилам применения технических средств организации движения Приложение Г (справочное) Разметка дорожная по ГОСТ Р 51256-99 Приложение Д (справочное) Типы и исполнение светофоров по ГОСТ Р 52282-2004 Библиография | | Разработан: | НИЦ ГИБДД МВД России РОСДОРНИИ
| | Утверждён: | 15.12.2004 Федеральное агентство по техническому регулированию и метрологии (120-ст)
| | Издан: | Стандартинформ (2005 г. ) Стандартинформ (2006 г. )
| | Расположен в: |
| | Список изменений: | | | Нормативные ссылки: | |
                                                                                                               
Текстовое изменение № 3 от 28.02.2014
       
|