Информационная система
«Ёшкин Кот»

Скачать базу одним архивом
Скачать обновления
История создания базы
Карта сайта

Скачать ГОСТ 14896-84 Манжеты уплотнительные резиновые для гидравлических устройств. Технические условия

Дата актуализации: 10.08.2017

ГОСТ 14896-84

Манжеты уплотнительные резиновые для гидравлических устройств. Технические условия

Обозначение: ГОСТ 14896-84
Обозначение англ: GOST 14896-84
Статус:взамен
Название рус.:Манжеты уплотнительные резиновые для гидравлических устройств. Технические условия
Название англ.:Rubber U-packing seals for hydraulic devices. Specifications
Дата добавления в базу:01.09.2013
Дата актуализации:05.05.2017
Дата введения:01.01.1985
Область применения:Стандарт распространяется на резиновые манжеты, предназначенные для уплотнения зазора между цилиндром и поршнем (плунжером, штоком) в гидравлических устройствах, работающих в условиях возвратно-поступательного движения со скоросью относительного перемещения не более 0,5 м/с, при давлении от 0,1 до 50 МПа, температуре от минус 60 °С до плюс 200 °С, ходе до 10 м и частоте срабатывания до 0,5 Гц.
Оглавление:1 Типы, основные параметры и размеры
2 Технические требования
3 Правила приемки
4 Методы контроля
5 Маркировка, упаковка, транспортирование и хранение
6 Указания по эксплуатации
7 Гарантии изготовителя
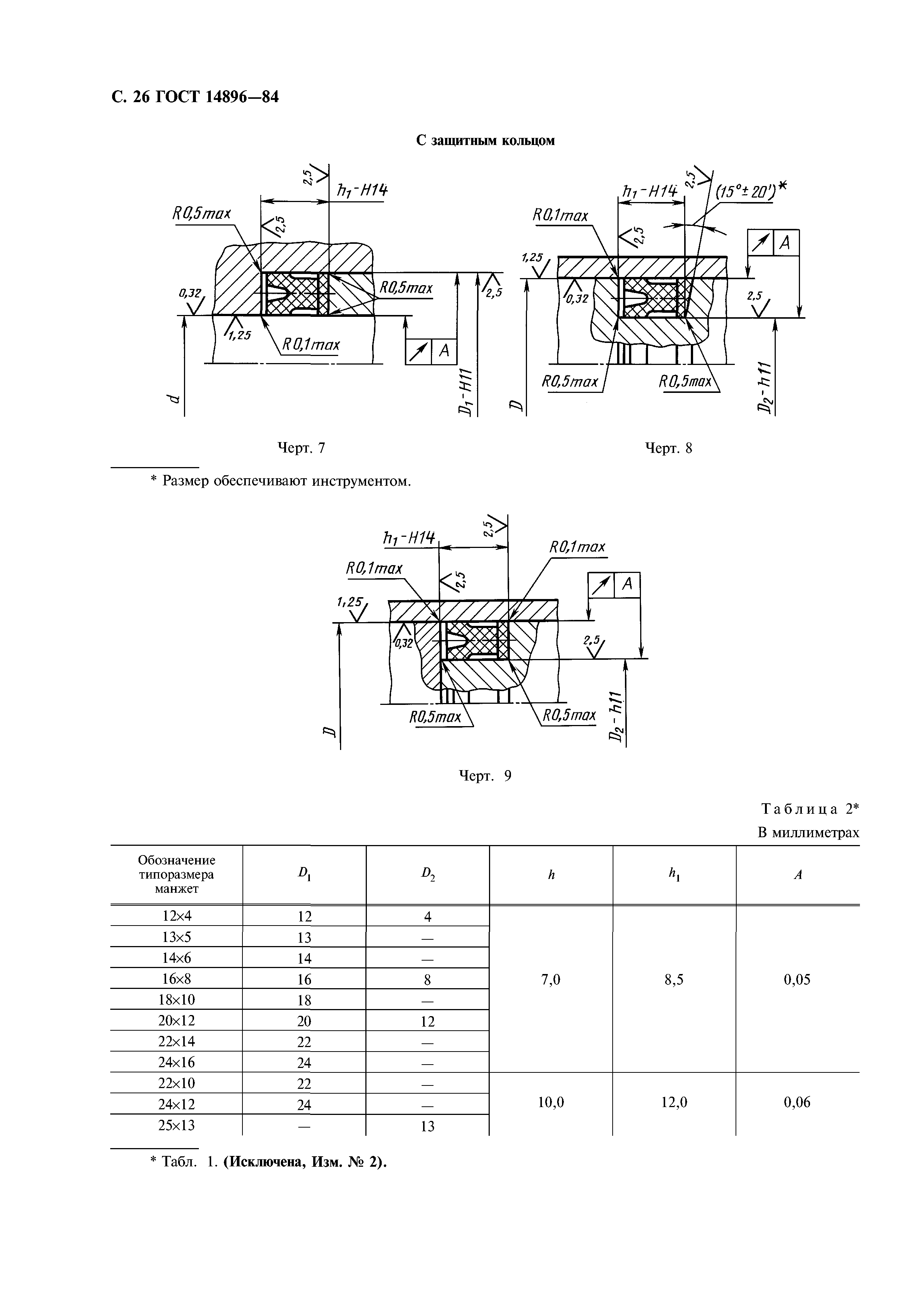
Приложение 1(обязательное) Конструкция и размеры мест установки манжет типа 1
Приложение 2 (рекомендуемое) Конструкция и размеры мест установки манжет типа 3
Приложение 3 (рекомендуемое) Марки резины и каучука, рекомендуемые для изготовления манжет
Приложение 4 (справочное) НТД на рабочие среды
Приложение 5 (обязательное) Метод контроля размеров сечения манжет
Приложение 6 (обязательное) Конструкция и размеры защитных колец
Приложение 7 (рекомендуемое) Рекомендации по применению и монтажу манжет
Разработан: Министерство нефтеперерабатывающей и нефтехимической промышленности СССР
Утверждён:27.03.1984 Государственный комитет СССР по стандартам (USSR National Committee on Standards 1024)
Издан: Издательство стандартов (1984 г. )
Издательство стандартов (1991 г. )
ИПК Издательство стандартов (2003 г. )
Расположен в:Техническая документация Электроэнергия РЕЗИНОВАЯ, РЕЗИНОТЕХНИЧЕСКАЯ, АСБЕСТОТЕХНИЧЕСКАЯ И ПЛАСТМАССОВАЯ ПРОМЫШЛЕННОСТЬ Резиновые и пластмассовые изделия Уплотнения Экология РЕЗИНОВАЯ, РЕЗИНОТЕХНИЧЕСКАЯ, АСБЕСТОТЕХНИЧЕСКАЯ И ПЛАСТМАССОВАЯ ПРОМЫШЛЕННОСТЬ Резиновые и пластмассовые изделия Уплотнения
Список изменений:
Заменяет собой:
Нормативные ссылки:
ГОСТ 14896-84ГОСТ 14896-84ГОСТ 14896-84ГОСТ 14896-84ГОСТ 14896-84ГОСТ 14896-84ГОСТ 14896-84ГОСТ 14896-84ГОСТ 14896-84ГОСТ 14896-84ГОСТ 14896-84ГОСТ 14896-84ГОСТ 14896-84ГОСТ 14896-84ГОСТ 14896-84ГОСТ 14896-84ГОСТ 14896-84ГОСТ 14896-84ГОСТ 14896-84ГОСТ 14896-84ГОСТ 14896-84ГОСТ 14896-84ГОСТ 14896-84ГОСТ 14896-84ГОСТ 14896-84ГОСТ 14896-84ГОСТ 14896-84ГОСТ 14896-84ГОСТ 14896-84ГОСТ 14896-84ГОСТ 14896-84ГОСТ 14896-84ГОСТ 14896-84ГОСТ 14896-84ГОСТ 14896-84ГОСТ 14896-84ГОСТ 14896-84ГОСТ 14896-84ГОСТ 14896-84ГОСТ 14896-84ГОСТ 14896-84ГОСТ 14896-84ГОСТ 14896-84ГОСТ 14896-84ГОСТ 14896-84ГОСТ 14896-84ГОСТ 14896-84ГОСТ 14896-84ГОСТ 14896-84ГОСТ 14896-84ГОСТ 14896-84ГОСТ 14896-84ГОСТ 14896-84ГОСТ 14896-84

Текстовое изменение Поправка от 01.12.2014

Поправка

Текстовое изменение № 2 от 01.08.1987

№ 2№ 2№ 2№ 2№ 2№ 2

Текстовое изменение № 3 от 01.02.1990

№ 3№ 3№ 3№ 3№ 3

© 2013 Ёшкин Кот :-) Карта сайта