Информационная система
«Ёшкин Кот»

Скачать базу одним архивом
Скачать обновления
История создания базы
Карта сайта

Скачать ГОСТ 16483.33-77 Древесина. Метод определения удельного сопротивления выдергиванию гвоздей и шурупов

Дата актуализации: 10.08.2017

ГОСТ 16483.33-77

Древесина. Метод определения удельного сопротивления выдергиванию гвоздей и шурупов

Обозначение: ГОСТ 16483.33-77
Обозначение англ: GOST 16483.33-77
Статус:действует
Название рус.:Древесина. Метод определения удельного сопротивления выдергиванию гвоздей и шурупов
Название англ.:Wood. Method for determination of resistivity to nail and woodscrew withdrawal
Дата добавления в базу:01.09.2013
Дата актуализации:05.05.2017
Дата введения:01.01.1978
Область применения:Стандарт распростространяется на древесину и устанавливает методы определения удельного сопротивления выдергиванию круглых проволочных гвоздей и шурупов.
Оглавление:1 Метод отбора образцов
2 Аппаратура
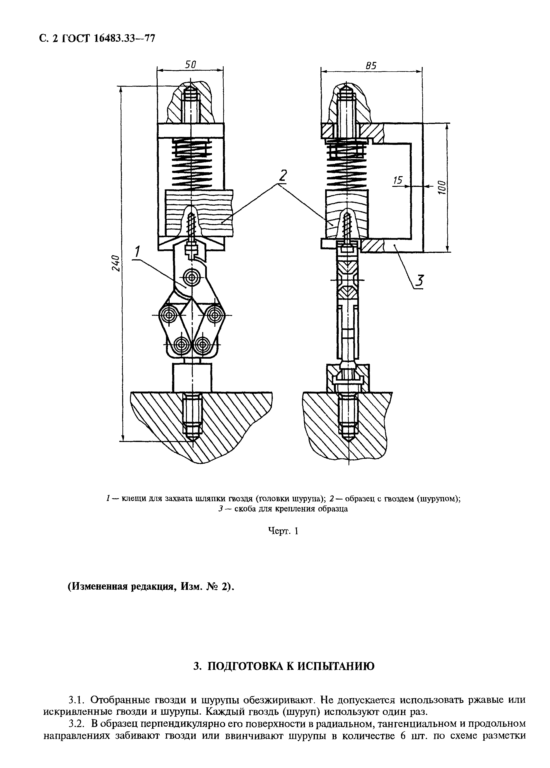
3 Подготовка к испытанию
4 Проведение испытаний
5 Обработка результатов
Приложение Протокол определения удельного сопротивления древесины выдергиванию гвоздей (шурупов)
Разработан: Минлесбумпром СССР
Утверждён:07.01.1977 Госстандарт СССР (USSR Gosstandart 29)
Издан: Издательство стандартов (1986 г. )
ИПК Издательство стандартов (1999 г. )
Расположен в:Техническая документация Электроэнергия ТЕХНОЛОГИЯ ПЕРЕРАБОТКИ ДРЕВЕСИНЫ Древесина, пиловочные бревна, пиломатериалы Экология ТЕХНОЛОГИЯ ПЕРЕРАБОТКИ ДРЕВЕСИНЫ Древесина, пиловочные бревна, пиломатериалы Строительство Стандарты Другие государственные стандарты, применяемые в строительстве Технология переработки древесины
Заменяет собой:
  • ГОСТ 13395-67 «Древесина. Метод определения удельного сопротивления выдергиванию гвоздей и шурупов»
Нормативные ссылки:
ГОСТ 16483.33-77ГОСТ 16483.33-77ГОСТ 16483.33-77ГОСТ 16483.33-77ГОСТ 16483.33-77ГОСТ 16483.33-77ГОСТ 16483.33-77

© 2013 Ёшкин Кот :-) Карта сайта