Скачать ГОСТ 10037-83 Автоклавы для строительной индустрии. Технические условияДата актуализации: 10.08.2017 ГОСТ 10037-83
Автоклавы для строительной индустрии. Технические условия| Обозначение: | ГОСТ 10037-83 | | Обозначение англ: | GOST 10037-83 | | Статус: | взамен | | Название рус.: | Автоклавы для строительной индустрии. Технические условия | | Название англ.: | Autoclaves for building industry. Specifications | | Дата добавления в базу: | 01.09.2013 | | Дата актуализации: | 05.05.2017 | | Дата введения: | 01.01.1985 | | Область применения: | Стандарт распространяется на автоклавы, предназначенные для термовлажностной обработки силикатного кирпича и силикатных изделий из ячеистого бетона. | | Оглавление: | 1 Типы. Основные параметры и размеры 2 Технические требования 3 Требования безопасности 4 Комплектность 5 Правила приемки 6 Методы испытаний 7 Маркировка, упаковка, транспортирование и хранение 8 Гарантии изготовителя | | Разработан: | Министерство строительного, дорожного и коммунального машиностроения
| | Утверждён: | 24.05.1983 Государственный комитет СССР по стандартам (USSR National Committee on Standards 2327)
| | Издан: | Издательство стандартов (1983 г. ) ИПК Издательство стандартов (1997 г. )
| | Расположен в: |
| | Список изменений: | | | Заменяет собой: | ГОСТ 10037-72 «Автоклавы для строительной индустрии. Типы и основные параметры» | | Нормативные ссылки: |   ГОСТ 23120-78 «Лестницы маршевые, площадки и ограждения стальные. Технические условия»  ГОСТ 380-94 «Сталь углеродистая обыкновенного качества. Марки»  ГОСТ 1050-88 «Прокат сортовой, калиброванный, со специальной отделкой поверхности из углеродистой качественной конструкционной стали. Общие технические условия»  ГОСТ 2246-70 «Проволока стальная сварочная. Технические условия»  ГОСТ 5520-79 «Прокат листовой из углеродистой, низколегированной и легированной стали для котлов и сосудов, работающих под давлением. Технические условия»  ГОСТ 6996-66 «Сварные соединения. Методы определения механических свойств»  ГОСТ 7512-82 «Контроль неразрушающий. Соединения сварные. Радиографический метод»  ГОСТ 9467-75 «Электроды покрытые металлические для ручной дуговой сварки конструкционных и теплоустойчивых сталей. Типы»  ГОСТ 14782-86 «Контроль неразрушающий. Соединения сварные. Методы ультразвуковые»  ГОСТ 15150-69 «Машины, приборы и другие технические изделия. Исполнения для различных климатических районов. Категории, условия эксплуатации, хранения и транспортирования в части воздействия климатических факторов внешней среды»  ГОСТ 2.601-95 «Единая система конструкторской документации. Эксплуатационные документы»  ГОСТ 12.1.005-88 «Система стандартов безопасности труда. Общие санитарно-гигиенические требования к воздуху рабочей зоны»  ГОСТ 12.2.032-78 «Система стандартов безопасности труда. Рабочее место при выполнении работ сидя. Общие эргономические требования»  ГОСТ 12.4.026-76 «Система стандартов безопасности труда. Цвета сигнальные и знаки безопасности»  ГОСТ 18442-80 «Контроль неразрушающий. Капиллярные методы. Общие требования»  ГОСТ 9.032-74 «Единая система защиты от коррозии и старения. Покрытия лакокрасочные. Группы, технические требования и обозначения»  ГОСТ 9.104-79 «Единая система защиты от коррозии и старения. Покрытия лакокрасочные. Группы условий эксплуатации»  ГОСТ 14192-96 «Маркировка грузов»  ГОСТ 7502-98 «Рулетки измерительные металлические. Технические условия»  ГОСТ 12.2.007.0-75 «Система стандартов безопасности труда. Изделия электротехнические. Общие требования безопасности»  ГОСТ 12.2.003-91 «Система стандартов безопасности труда. Оборудование производственное. Общие требования безопасности»  ГОСТ 23170-78 «Упаковка для изделий машиностроения. Общие требования»  ГОСТ 9.014-78 «Единая система защиты от коррозии и старения. Временная противокоррозионная защита изделий. Общие требования»  ГОСТ 8479-70 «Поковки из конструкционной углеродистой и легированной стали. Общие технические условия»  ГОСТ 21105-87 «Контроль неразрушающий. Магнитопорошковый метод»  ГОСТ 12969-67 «Таблички для машин и приборов. Технические требования»  ГОСТ 12971-67 «Таблички прямоугольные для машин и приборов. Размеры»  ГОСТ 22465-88 «Насосы центробежные сетевые. Основные параметры»  ГОСТ 9087-81 «Флюсы сварочные плавленые. Технические условия»  ГОСТ 2405-88 «Манометры, вакуумметры, мановакуумметры, напоромеры, тягомеры и тягонапоромеры. Общие технические условия»  ГОСТ 977-88 «Отливки стальные. Общие технические условия»  ГОСТ 7338-90 «Пластины резиновые и резинотканевые. Технические условия»  ГОСТ 6533-78 «Днища эллиптические отбортованные стальные для сосудов, аппаратов и котлов. Основные размеры»  ГОСТ 9.402-80 «Единая система защиты от коррозии и старения. Покрытия лакокрасочные. Подготовка металлических поверхностей перед окрашиванием»
|
                                
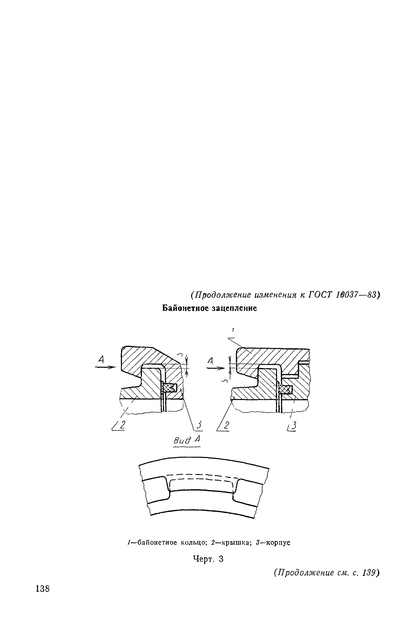
Текстовое изменение № 1 от 01.01.1990
  
Текстовое изменение № 2 от 01.01.1993
    
|