Информационная система
«Ёшкин Кот»

XXXecatmenu

ОСТ 26.260.476-2001

СТАНДАРТ ОТРАСЛИ

УСТРОЙСТВА ДЛЯ УСТАНОВКИ ПРИБОРОВ ИЗМЕРЕНИЯ
ДАВЛЕНИЯ НА Ру 4,0 и 16,0 МПа
(с одним клапаном типа ВНИЛ)

Конструкция и размеры

 

Предисловие

1. РАЗРАБОТАН Дочерним открытым акционерным обществом Центральное конструкторское бюро нефтеаппаратуры ДАО ЦКБН

2. ПРИНЯТ И ВВЕДЕН В ДЕЙСТВИЕ Техническим комитетом 260 «Оборудование химическое и нефтегазоперерабатывающее»

3. ВВЕДЕН ВПЕРВЫЕ

 

СТАНДАРТ ОТРАСЛИ

УСТРОЙСТВА ДЛЯ УСТАНОВКИ ПРИБОРОВ ИЗМЕРЕНИЯ ДАВЛЕНИЯ НА Ру 4,0 и 16,0 МПа
(с одним клапаном типа ВНИЛ)

Конструкция и размеры

Дата введения 2001-02-01

1. Область применения

Настоящий стандарт устанавливает конструкцию, пределы применения и основные размеры устройств для установки приборов измерения давления на трубопроводах и аппаратах, применяемых в химической, нефтехимической, газовой и других смежных отраслях промышленности на условное давление 4,0 и 16,0 МПа и температуру от минус 40 до 200 °C для материального исполнения 5 и от минус 70 до 300 °C для материального исполнения 6.

Устройства с одним клапаном предназначены для измерения давления следующих сред:

- газ горючий природный по ОСТ 51.40;

- другие газы, не содержащие пластовую воду, механические примеси, парафины и другие конденсирующиеся и кристаллизирующиеся вещества;

- жидкости, не замерзающие в диапазоне температур окружающего воздуха, не содержащие механических примесей и других веществ, выпадающих в осадок, не содержащие парафины и другие кристаллизирующиеся вещества, не вязкие жидкости.

Во всех остальных случаях. применяются устройства для измерения давления с двумя клапанами по ОСТ 26.260.468.

2. Нормативные ссылки

В настоящем стандарте использованы ссылки на следующие стандарты:

ОСТ 26.260.465-2000 Устройства для установки приборов измерения давления на Ру 1,6 МПа (с трехходовым краном). Конструкция и размеры

ОСТ 26.260.466-2000 Устройства для установки приборов измерения давления на Ру 4,0 и 16,0 МПа (с двумя вентилями). Конструкция и размеры

ОСТ 26.260.468-2000 Устройства для установки приборов измерения давления на Ру 4,0 и 16,0 МПа (с двумя клапанами типа ВНИЛ). Конструкция и размеры.

ОСТ 26.260.472-2000 Устройства для установки приборов измерения и отбора давления. Общие технические требования

ОСТ 51.40-93 Газы горючие природные, поставляемые и транспортируемые по магистральным газопроводам. Технические условия

ТУ 3742-008-31688214-95 Клапаны сальниковые DN 6; 10; 15 мм PN 16 МПа

3. Конструкция и размеры

3.1. По конструкции и размерам устройства имеют шестнадцать исполнений:

исполнения 1 - 8 - рисунки 1 - 8, таблица 1

исполнения 9 - 16 - рисунки 9 - 16, таблица 1.

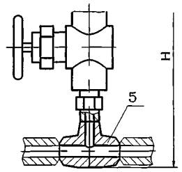
Исполнение 1

1 - прокладка 1 ОСТ 26.260.465;2 - ниппель 1 ОСТ 26.260.466;3 - гайка накидная 1 ОСТ 26.260.466;4 - клапан DN 10, ВНИЛ.49111.011-09, М22´1,5, ТУ 3742-008-31688214 или клапан DN 10, ВНИЛ.49111.011-25, М22´1,5, ТУ 3742-008-31688214

Рисунок 1

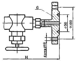
Исполнение 2

Остальное см. исполнение 1

5 - тройник переходный 2 ОСТ 26.260.466

Рисунок 2

Исполнение 3

Остальное см. исполнение 1

5 - заглушка 3 ОСТ 26.260.466

Рисунок 3

Исполнение 4

Остальное см. исполнение 1

5* - заглушка 4 ОСТ 26.260.466

Рисунок 4

Исполнение 5

1 - прокладка 1 ОСТ 26.260.465; 2 - трубка сифонная 7 ОСТ 26.260.465; 3 - ниппель 1 ОСТ 26.260.466; 4 - гайка накидная 1 ОСТ 26.260.466; 5 - клапан DN 10, ВНИЛ.49111.011-09, М22´1,5, ТУ 3742-008-31688214 или клапан DN 10, ВНИЛ.49111.011-25, М22´1,5, ТУ 3742-008-31688214

Рисунок 5

Исполнение 6

Остальное см. исполнение 5

6 - тройник переходный 2 ОСТ 26.260.466

Рисунок 6

Исполнение 7

Остальное см. исполнение 5

6 - заглушка 3 ОСТ 26.260.466

Рисунок 7

Исполнение 8

Остальное см. исполнение 5

6* - заглушка 4 ОСТ 26.260.466

Рисунок 8

_____________

* Заглушку поз. 5 и 6 в устройствах исполнений соответственно 4 и 8 для сосудов и аппаратов 1 и 2 группы применять с уплотнительной поверхностью «выступ» рисунок 24 ОСТ 26.260.466.

Исполнение 9

1 - прокладка 1 ОСТ 26.260.465; 2 - трубка сифонная 4 ОСТ 26.260.465; 3 - гайка накидная 1 ОСТ 26.260.466; 4 - ниппель 1 ОСТ 26.260.466; 5 - клапан DN 10, ВНИЛ.49111.011-09, М22´1,5, ТУ 3742-008-31688214 или клапан DN 10, ВНИЛ.49111.011-25, М22´1,5, ТУ 3742-008-31688214

Рисунок 9

Исполнение 10

Остальное см. исполнение 9

6 - тройник переходный 2 ОСТ 26.260.466

Рисунок 10

Исполнение 11

Остальное см. исполнение 9

6 - заглушка 3 ОСТ 26.260.466

Рисунок 11

Исполнение 12

Остальное см. исполнение 9

6* - заглушка 4 ОСТ 26.260.466

Рисунок 12

Исполнение 13

1 - прокладка 1 ОСТ 26.260.465; 2 - трубка сифонная 1 ОСТ 26.260.465; 3 - гайка накидная 1 ОСТ 26.260.466; 4 - ниппель 1 ОСТ 26.260.466; 5 - клапан DN 10, ВНИЛ.49111.011-09, М22´1,5, ТУ 3742-008-31688214 или клапан DN 10, ВНИЛ.49111.011-25, М22´1,5, ТУ 3742-008-31688214

Рисунок 13

Исполнение 14

Остальное см. исполнение 13

6 - тройник переходный 2 ОСТ 26.260.466

Рисунок 14

Исполнение 15

Остальное см. исполнение 13

6 - заглушка 3 ОСТ 26.260.466

Рисунок 15

Исполнение 16

Остальное см. исполнение 13

6* - заглушка 4 ОСТ 26.260.466

Рисунок 16

_____________

* Заглушку поз. 6 в устройствах исполнений 12 и 16 для сосудов и аппаратов 1 и 2 группы применять с уплотнительной поверхностью «выступ» рисунок 24 ОСТ 26.260.466.

Таблица 1

Исполнение

Давление условное Ру, МПа

Температура среды, °C

Н, мм

Масса, кг

1

16

До 80

190

0,72

2

245

1,16

3

240

4,22

4

4

224

2,22

5

16

255

0,84

6

310

1,28

7

305

4,34

8

4

290

2,34

9

16

До 450

375

1,16

10

430

1,60

11

425

4,70

12

4

410

2,66

13

16

315

1,26

14

370

1,70

15

365

4,76

16

4

350

2,76

Пример условного обозначения устройства измерения давления исполнения 2, материального исполнения 5, на Ру 16,0 МПа:

Устройство измерения давления 2-5-16,0 ОСТ 26.260.476-2001

3.2. Технические требования - по ОСТ 26.260.472

СОДЕРЖАНИЕ

 



© 2013 Ёшкин Кот :-)