Скачать ГОСТ 23111-78 Двигатели асинхронные трехфазные короткозамкнутые взрывобезопасные серий В и ВР мощностью от 0,25 до 110 кВт. Технические условияДата актуализации: 10.08.2017 ГОСТ 23111-78
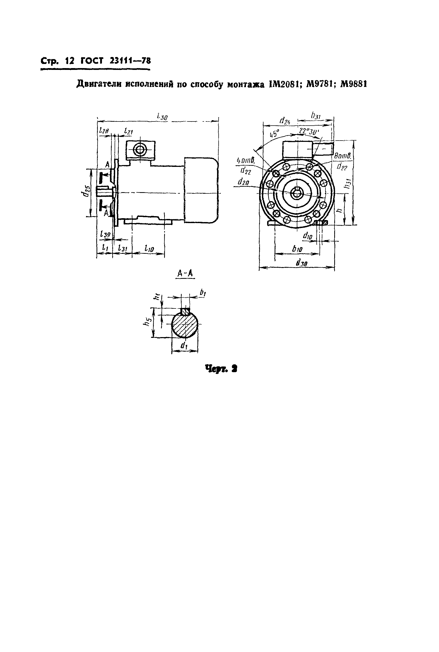
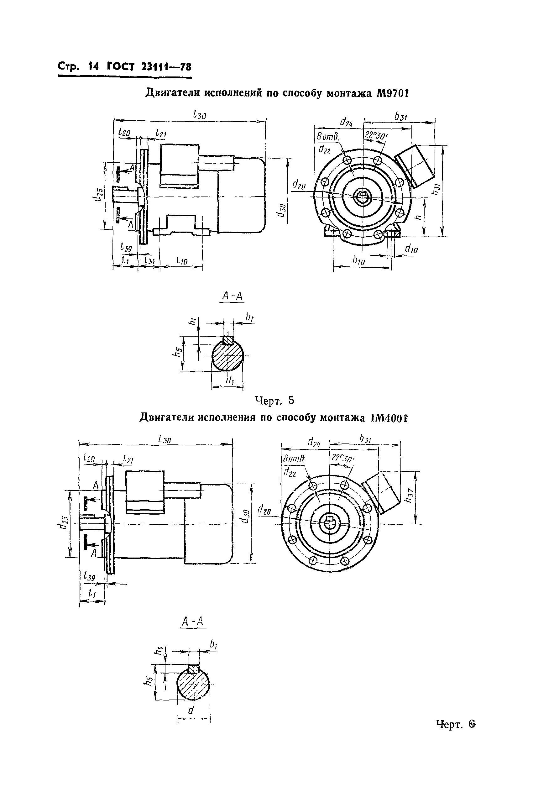
Двигатели асинхронные трехфазные короткозамкнутые взрывобезопасные серий В и ВР мощностью от 0,25 до 110 кВт. Технические условияОбозначение: | ГОСТ 23111-78 | Обозначение англ: | GOST 23111-78 | Статус: | отменен | Название рус.: | Двигатели асинхронные трехфазные короткозамкнутые взрывобезопасные серий В и ВР мощностью от 0,25 до 110 кВт. Технические условия | Название англ.: | Series B and BP asynchronous squirrel-cage and explosion-proof electrical motors power 0,25 to 110KWt. Specifications | Дата добавления в базу: | 01.11.2014 | Дата актуализации: | 05.05.2017 | Дата введения: | 01.01.1990 | Область применения: | Стандарт распространяется на ассинхронные трехфазные короткозамкнутые взрывобезопасные двигатели серий В и ВР частоты сети 50 и 60 Гц, напряжением от 220 до 660 В, мощностью от 0,25 до 110 кВт (при синхронных частотах вращения 1500 и 1800 об/мин) климатических исполнений У 2,5; УХЛ 2,5 и Т 2,5 по ГОСТ 15150-69. | Оглавление: | 1. Типы, основные параметры и размеры 2. Технические требования 3. Требования безопасности 4. Комплектность 5. Правила приемки 6. Методы испытаний 7. Маркировка, упаковка, транспортирование и хранение 8. Указания по эксплуатации 9. Гарантии изготовителя Приложение 1 (справочное) Определение абсолютных значений токов и вращающих моментов Приложение 2 (справочное) Методы определения допустимых значений основных параметров двигателей серий В и ВР при работе в режимах S2, S3, S4 и S6 по ГОСТ 183-74 Приложение 3 (справочное) Мощность двигателей в зависимости от температуры газообразной окружающей среды и высоты над уровнем моря Приложение 4 (справочное) | Утверждён: | 11.05.1973 Государственный комитет стандартов Совета Министров СССР (USSR National Committee on Standards at the Cabinet of Ministers 1259)
| Издан: | Издательство стандартов (1981 г. )
| Расположен в: |
| Список изменений: | | Нормативные ссылки: | |
                                                    
Текстовое изменение № 3 от 01.06.1982
|