Всероссийский
научно-исследовательский и проектно-конструкторский
институт нефтяного машиностроения
ОАО «ВНИИНЕФТЕМАШ»
|
УТВЕРЖДАЮ
Зам.
Генерального директора
ОАО
«ВНИИнефтемаш»
________________
В.Н. Ермолаев
09 декабря 2002 г.
|
АППАРАТЫ ТЕПЛООБМЕННЫЕ
КОЖУХОТРУБЧАТЫЕ С НЕПОДВИЖНЫМИ ТРУБНЫМИ
РЕШЕТКАМИ И КОЖУХОТРУБЧАТЫЕ С ТЕМПЕРАТУРНЫМ
КОМПЕНСАТОРОМ НА КОЖУХЕ
Технические
условия
ТУ 3612-024-00220302-02
(Взамен
ТУ
26-02-925-81, ТУ
26-02-1090-88, ТУ
26-02-1105-89)
Срок действия установлен до 01.01.2016 г.
(Измененная редакция. Изм. № 2, № 3).
Заведующий отделом № 17
_____________
В.Л. Головачев
«09» декабря 2002 г.
2002
Настоящий
документ является собственностью ОАО «ВНИИНЕФТЕМАШ» и не может быть полностью
или частично скопирован, передан третьему лицу без письменного согласия ОАО
«ВНИИНЕФТЕМАШ».
Постановка аппаратов
на производство должна осуществляться в соответствии с РД
09-167 и ГОСТ
Р 15.201 при авторском надзоре ОАО «ВНИИНЕФТЕМАШ».
Постановка аппаратов на производство должна осуществляться в
соответствии с РД
09-167 и ГОСТ
Р 15.201 при авторском надзоре ОАО «ВНИИНЕФТЕМАШ».
При разработке рабочей документации и изготовлении аппаратов
следует учитывать требования «Общих
правил промышленной безопасности для организаций, осуществляющих деятельность в
области промышленной безопасности опасных производственных объектов».
Настоящие технические условия распространяются на
кожухотрубчатые теплообменные аппараты с неподвижными трубными решетками и кожухотрубчатые
с температурным компенсатором на кожухе (далее - аппараты): теплообменники «Т»,
холодильники «X», конденсаторы «К», испарители «И» типов «Н» и «К» и их
модификации.
Аппараты предназначены для теплообмена жидких и газообразных
сред в технологических процессах химической, нефтехимической,
нефтеперерабатывающей нефтяной, газовой и других отраслях промышленности и
изготавливаются для внутрироссийских и зарубежных поставок.
Применение аппаратов для атомных электростанций может
осуществляться только после согласования с ОАО «ВНИИНЕФТЕМАШ».
Охлаждающей средой в холодильниках и конденсаторах является
вода или другая нетоксичная, невзрыво- и непожароопасная жидкость с
температурой кипения при давлении 0,07 МПа выше 60 °С.
Аппараты по расположению подразделяются на:
Г - горизонтальные (ТНГ, ТКГ, ХНГ, ХКГ, КНГ, ККГ);
В - вертикальные (ТНВ, ТКВ, ХНВ, ХКВ, КНВ, ККВ, ИНВ, ИКВ).
Испарители должны изготавливаться в следующих исполнениях:
1 - с жидким, газообразным, парогазовым или парожидкостным
теплоносителем (ИН-1, ИК-1);
2 - с паровым теплоносителем (ИН-2, ИК-2).
В аппаратах применяются гладкие (Г) теплообменные трубы.
В технически обоснованных случаях допускается применение
диафрагмированных (Д) теплообменных труб с накатными кольцевыми канавками.
В вертикальных конденсаторах, а также в вертикальных
испарителях с паровым теплоносителем применяются трубы только с гладкими
стенками.
Диафрагмированные трубы не допускается применять для сред,
вызывающих коррозионное растрескивание.
Аппараты могут эксплуатироваться в условиях
макроклиматических районов с умеренным, холодным и тропическим климатом.
Климатическое исполнение «У», «УХЛ» и «Т», категории размещения изделия 1 по ГОСТ
15150.
Аппараты рассчитаны на установку в географических районах с
сейсмичностью не более 6 баллов по принятой в РФ 12-ти бальной шкале.
Возможность эксплуатации в районах с сейсмичностью 7 и более
баллов определяется расчетом на сейсмичность по СНиП II-7 с
учетом конкретного типоразмера.
Пример условного обозначения теплообменного аппарата при
заказе:
Теплообменник с неподвижными трубными решетками
горизонтальный (ТНГ), с кожухом диаметром 1000 мм, на условное давление в трубах
и кожухе 2,5 МПа, исполнения по материалу M1 с гладкими теплообменными трубами
(Г) диаметром 20 мм, длиной 6 м, 4-х ходовой по трубному пространству,
климатического исполнения (У), с деталями для крепления теплоизоляции:
Теплообменник 1000 ТНГ-2,5-М1/20Г-6-4-У-И
ТУ 3612-024-00220302-02
Холодильник с неподвижными трубными решетками и
температурным компенсатором на кожухе вертикальный (ХКВ), с кожухом диаметром
800 мм, на условное давление в трубах 0,6 МПа, в кожухе 1,6 МПа, исполнения по
материалу М3 с гладкими теплообменными трубами (Г) диаметром 25 мм, длиной 4 м,
2-х ходовой по трубному пространству, климатического исполнения (Т), без
деталей для крепления теплоизоляции:
Холодильник 800
ХКВ-0,6-1,6-М3/25Г-4-2-Т ТУ 3612-024-00220302-02
Применять условное обозначение аппарата (шифр) стандартного
теплообменника по ТУ
3612-024-00220302-02 для изготовления аппарата, отличающегося по
параметрам, указанным в настоящих технических условиях, равно как и ссылка на
стандартные аппараты по ТУ
3612-024-00220302-02, не допускается.
Выбор геометрических характеристик аппарата по настоящим
техническим условиям должен определяться на основании теплового и
гидравлического расчета, а также анализа на вибрацию труб в трубном пучке,
выполняемых на основании технологических данных, приведенных в листе технических
характеристик на кожухотрубчатый теплообменник в приложении к ГОСТ
31842-2012 (ISO 16812:2007).
Выбор материального исполнения должен основываться на
материалах, стойких в коррозионном отношении для сред при данных условиях
эксплуатации.
Заказ стандартного аппарата по ТУ 3612-024-00220302-01
осуществляется на основании данных, приведенных в листе технических
характеристик на кожухотрубчатый теплообменник в приложении С к ГОСТ
31842-2012 (ISO 16812:2007) с указанием в нем
условного обозначения аппарата.
При выборе аппаратов производятся теплотехнические расчеты,
а также выбираются материалы, обеспечивающие стойкость в отношении
коррозионного воздействия сред.
При заказе аппаратов по данным технологического процесса
должен представляться бланк заказа по приложению 1, при этом выбор
аппаратов осуществляется разработчиком настоящих технических условий или
проектной организацией, применяющей данный вид оборудования, в этом случае
ответственность за правильный выбор аппаратов несет эта организация.
При заказе аппаратов согласно условному обозначению должен
представляться бланк заказа по форме, приведенной в приложении 2.
По требованию потребителя допускается:
- устанавливать дополнительные штуцеры диаметром Ду ≤
80 мм, но не более 0,1Д, где Д - диаметр аппарата;
- принимать уменьшенный диаметр одного или нескольких
штуцеров (увеличение диаметров штуцеров не допускается);
- устанавливать на кожухе горизонтальных аппаратов
дополнительный штуцер для отвода неконденсирующихся паров, расположенный
напротив нижнего штуцера и по величине равный ему;
- изменять расстояние между поперечными перегородками в
трубном пучке при соответствующем изменении количества перегородок, а также
величину среза перегородки;
- принимать у горизонтальных аппаратов вертикальное
расположение выреза в перегородке взамен горизонтального;
- увеличивать количество ходов по трубам до четырех для
аппаратов диаметром кожуха 325, 400 мм без смещения расположения штуцеров
относительно вертикальной оси;
- принимать расположение опор по отношению к штуцерам,
отличное от расположения, указанного в настоящих технических условиях (у
вертикальных аппаратов с компенсатором на кожухе при соответствующем смещении
компенсатора; у горизонтальных аппаратов с компенсатором смещение опор не
допускается), а также изменять расстояние между опорами;
- устанавливать отбойник у нижнего штуцера, вместо верхнего
(в случае входа теплообменивающейся среды в межтрубное пространство аппарата
снизу);
- уплотнительную поверхность фланцев аппаратов и штуцеров
выполнять «шип-паз»;
- производить крепление труб в трубных решетках обваркой с развальцовкой
(при отсутствии специального указания, тип соединения труб с трубными решетками
выбирает предприятие-изготовитель);
- устанавливать на горизонтальных аппаратах диаметром кожуха
400 - 1400 мм шарнирное устройство для подвешивания крышек;
- не устанавливать детали для крепления теплоизоляции.
Допускается изготавливать аппараты на конкретные расчетные
условия, приведенные в листе технических характеристик на кожухотрубчатый
теплообменник, в приложении к ГОСТ
31842-2012 (ISO 16812:2007) с сохранением основных
размеров и исполнений по материалу согласно условному обозначению заказанного
аппарата. При этом массу аппарата определяют, исходя из расчетных значений
давления и температуры.
ОАО «ВНИИНЕФТЕМАШ» осуществляет авторский надзор при
изготовлении кожухотрубчатых теплообменных аппаратов, обеспечивает технический
уровень данных аппаратов, их конкурентоспособность, гарантирует безопасность
конструкции при условии соблюдения требований , изложенных в настоящих
технических условиях.
(Измененная редакция. Изм. № 3, №
4, № 5).
1.1. Аппараты должны соответствовать
требованиям настоящих технических условий, технического регламента Таможенного
союза ТР
ТС 010/2011 «О безопасности машин и оборудования», технического регламента
Таможенного союза ТР
ТС 032/2013 «О безопасности оборудования, работающего под избыточном
давлением», ГОСТ
31842, ГОСТ Р
52630, ПБ
03-576-03 и комплекту конструкторской документации, утвержденной в
установленном порядке.
Аппараты, поставляемые на экспорт, дополнительно к
требованиям, изложенным в настоящих технических условиях, должны соответствовать
требованиям контракта (договора), ГОСТ
9.401, ГОСТ
15151.
(Измененная редакция. Изм. № 1, №
3, № 5).
1.2.1. Основные параметры аппаратов типов ТН, ТК, ХН, ХК,
КН, КК, ИН, ИК должны соответствовать указанным в табл. 1.
1.2.2 Основные размеры и составные элементы аппаратов должны
соответствовать:
для аппаратов типов ТН, ТК одноходовых по трубам - черт. 1, 2 и
табл. 2;
для аппаратов типов ТН, ТК многоходовых по трубам - черт. 3, 4 и
табл. 2;
для аппаратов типов ХК одноходовых по трубам - черт. 1, 2 и
табл. 3;
для аппаратов типов ХН, ХК многоходовых по трубам - черт. 5, 6 и
табл. 3;
для аппаратов типов КН, КК многоходовых по трубам - черт. 7, 8 и
табл. 4;
для аппаратов типов ИН, ИК - черт. 9, 10 и табл. 5.
1.2.3. Поверхность теплообмена по наружному диаметру труб и
площадь проходных сечений по трубному и межтрубному пространствам в аппаратах
должны соответствовать:
для аппаратов типов ТН, ТК, ХН, ХК - табл. 6;
для аппаратов типов КН, КК - табл. 7;
для аппаратов типов ИН, ИК - табл. 8.
1.2.4. Материалы, применяемые для изготовления сборочных
единиц основных узлов и деталей аппаратов типов ТН, ТК, ХН, ХК, КН, КК, ИН, ИК,
должны соответствовать указанным в табл. 9.
1.2.5. Область применения аппаратов типов ТН, ТК, ХН, ХК,
КН, КК, ИН, ИК в зависимости от диаметра кожуха, длины труб, исполнения по
материалу и температурному пределу должна соответствовать указанной в табл. 10.
1.2.6. Наибольшая допускаемая разность температур кожуха (tк)
и труб (tT) для аппаратов типа ТН должна соответствовать
указанной в табл. 11.
1.2.7. Наибольшая допускаемая разность температур кожуха (tк)
и труб (tT) для аппаратов типа ХН должна соответствовать
указанной в табл. 12.
1.2.8. Наибольшая допускаемая разность температур кожуха (tк)
и труб (tT) для аппаратов типа КН должна соответствовать
указанной в табл. 13.
1.2.9. Наибольшая допускаемая разность температур кожуха (tк)
и труб (tT) для аппаратов типа ИН должна соответствовать
указанной в табл. 14.
1.2.10. Наибольшая допускаемая разность в удлинении кожуха и
труб для аппаратов типа «К» должна соответствовать указанной в табл. 15.
1.2.11. Масса аппаратов должна соответствовать:
для аппаратов типов ТН и ТК - табл. 16;
для аппаратов типов ХН и ХК - табл. 17;
для аппаратов типов КН и КК - табл. 18;
для аппаратов типов ИН и ИК - табл. 19.
1.2.12. Расположение отверстий в
опорах под фундаментные болты для горизонтальных аппаратов типов ТН, ТК, ХН,
ХК, КН, КК должно соответствовать черт. 11
и табл. 20.
Опоры горизонтальных аппаратов должны соответствовать ОСТ
26-2091.
1.2.13. Расположение опор и штуцеров
вертикальных аппаратов типов ТН, ТК, ХН, ХК, КН, КК, ИН, ИК должно
соответствовать черт. 12 и табл. 21.
Опоры вертикальных аппаратов должны соответствовать ГОСТ
26296.
1.2.14. Размещение отверстий под трубы в трубных решетках и
перегородках аппаратов должно соответствовать:
для аппаратов типов ТН, ТК диаметром кожуха 159 - 1200 мм и типа
ХК диаметром кожуха 159, 273 мм при одном ходе по трубам - черт. 13 и табл. 22;
для аппаратов типов ТН, ТК, ХН, ХК при двух ходах по трубам
- черт. 14 и табл. 23;
для аппаратов типов ТН, ТК, ХН, ХК при четырех ходах по
трубам - черт. 15 и табл. 24;
для аппаратов типов КН, КК при двух ходах по трубам - черт. 16 и табл. 25;
для аппаратов типов КН, КК при четырех ходах по трубам -
черт. 17 и табл. 26;
для аппаратов типов КH, КК при шести ходах по трубам - черт.
18 и табл. 27;
для аппаратов типов ИН-1, ИК-1 - черт. 13 и табл. 28;
для аппаратов типов ИН-2, ИК-2 - черт. 19 и табл. 28.
1.2.15. Схема расположения теплообменных труб в трубных
решетках и перегородках для аппаратов типов ТН, ТК, ХН, ХК, КН, КК, ИН, ИК и
размеры отверстий под трубы в трубных решетках и перегородках должны
соответствовать черт. 20 и табл. 29.
1.2.16. Значение предельного расчетного давления для
аппаратов типов ТН, ТК, ХН, ХК, КН, КК, ИН, ИК в зависимости от температуры
среды должно соответствовать приложению А.
(Измененная редакция. Изм. № 3).
1.2.17. Масса воды в объеме аппаратов типов ТН, ТК, ХН, ХК,
КН, КК, ИН, ИК должна соответствовать приложению Б.
(Измененная редакция. Изм. № 3).
Таблица 1
Основные
параметры аппаратов типов ТН, ТК, ХН, ХК, КН, КК, ИН, ИК
Размеры в мм
Наименование
параметров
|
ТН
|
ТК
|
ХН3)
|
ХК3)
|
КН
|
КК
|
ИН
|
ИК
|
Поверхность теплообмена, м2
|
1,0
- 970
|
1,5
- 970
|
45
- 716
|
40
- 490
|
Диаметр кожуха, мм
|
|
|
|
|
наружный1)
|
159;273;
325; 426;630
|
630
|
1594);
2734); 3254); 4264); 630
|
630
|
внутренний2)
|
400;600;
800;1000; 1200
|
600;800;
1000; 1200
|
4004);
600; 800; 1000;1200
|
600;
800; 1000; 1200; 1400
|
Температура теплообменивающихся сред, °С
|
|
|
от минус 70 до плюс 350
|
в кожухе
|
от минус 70 до плюс 350
|
от
минус 20 до плюс 300
|
в трубах
|
от
минус 20 до плюс 60
|
Условное давление, МПа в кожухе для
аппаратов диаметром, мм
|
|
|
|
|
|
159; 273; 325
|
1,6;
2,5;
|
|
-
|
1,6
|
-
|
400 (426)
|
4,0
|
1,6
|
600 (630)
|
|
|
1,0; 1,6; 2,5; 4,0
|
1,0;
1,6
|
1,0;
1,6; 2,5
|
1,0;
1,6
|
1,0;
1,6; 2,5; 4,0
|
1,0;
1,6
|
800
|
1,0;
1,6; 2,5; 4,0
|
1,0;
1,6
|
1000
|
0,6;
1,0; 1,6; 2,5; 4,0
|
0,6;
1,0; 1,6
|
0,6;
1,0; 1,6; 2,5; 4,0
|
0,6;
1,0; 1,6
|
0,6;
1,0; 1,6; 2,5
|
0,6;
1,0; 1,6
|
0,6;
1,0; 1,6; 2,5; 4,0
|
0,6;
1,0; 1,6
|
1200
|
0,6;
1,0; 1,6; 2,5
|
0,6;
1,0; 1,6; 2,5
|
0,6; 1,0; 1,6; 2,5
|
1400
|
-
|
-
|
-
|
-
|
Условное давление. МПа в трубах для
аппаратов диаметром, мм
|
|
|
|
0,6
|
-
|
159, 273, 325
|
1,6;
2,5,
|
|
-
|
400 (426)
|
4,0
|
1,6
|
|
600 (630)
|
|
|
0,6
|
0,6
|
0,6;
1,0
|
800
|
1,0;
1,6; 2,5; 4,0
|
1,0;
1,6
|
1000
|
0,6;
1,0; 1,6; 2,5; 4,0
|
0,6;
1,0; 1,6
|
1200
|
0,6;
1,0; 1,6; 2,5
|
1400
|
-
|
-
|
-
|
-
|
Длина теплообменных труб, мм для
аппаратов диаметром, мм
|
|
|
-
|
1500;
2000; 3000
|
-
|
-
|
-
|
-
|
159, 273
|
1000;
1500; 2000; 3000
|
1500;
2000; 3000
|
1500;
2000; 3000
|
325
|
1500;
2000; 3000; 4000
|
1500;
2000; 3000; 4000
|
400 (426)
|
2000;
3000; 4000; 6000
|
2000; 3000; 4000; 6000
|
600 (630)
|
2000;
3000;
|
3000;
4000; 6000
|
2000;
3000; 4000
|
800
|
4000;
6000
|
1000
|
3000;
4000; 6000; 9000
|
1200
|
4000;
6000; 9000
|
4000;
6000
|
3000;
4000
|
1400
|
-
|
-
|
-
|
-
|
6000
|
Наружный диаметр и толщина стенки
теплообменных труб, мм
|
20×2;
25×2
|
25×2
|
Число ходов по трубам для аппаратов
диаметром, мм
|
|
|
|
-
|
-
|
159; 273
|
1
|
-
|
1
|
325; 400 (426)
|
1,2
|
-
|
2
|
600 (630); 800 1000; 1200
|
1;
2; 4
|
2;
4
|
2;
4; 6
|
1
|
1400
|
-
|
-
|
____________
1) Наружный диаметр кожуха при изготовлении из трубы.
2) Внутренний диаметр кожуха при изготовлении из
листа.
3) В качестве аппаратов типов ХН и ХК диаметром кожуха
159; 273; 325; 400 (426) мм со стальными теплообменными трубами следует
применять аппараты типов ТН и ТК.
4) Применять только для
аппаратов исполнения по материалу М3 с латунными трубами.
|
Аппараты
типов ТНГ, ТКГ, ХНГ, ХКГ, одноходовые по трубам

1 - камера распределительная; 2 - прокладка камеры
распределительной;
3 - решетка трубная; 4 - кожух 5 - компенсатор; 6 - труба теплообменная;
7 - перегородка; 8 - опора неподвижная; 9 - опора подвижная
Черт. 1
Примечания:
1. Чертеж не определяет
конструкцию аппаратов.
2 k = 5 мм,
если длина труб ≤ 3000 мм и k = 10 мм, если длина труб > 3000 мм.
3
Размера l1, L,
lk, Дк рекомендуемые, уточняются при
разработке рабочей документации.
Аппараты
типов ТНВ, ТКВ, ХКВ одноходовые по трубам

1 - камера распределительная; 2 - прокладка камеры
распределительной; 3 - решетка трубная;
4 - кожух; 5 - компенсатор; 6 - труба теплообменная; 7 - перегородка; 8 - опора
подвижная.
Черт. 2
Примечания:
1. Чертеж не определяет
конструкцию аппаратов.
2. k = 5 мм, если
длина труб ≤ 3000 мм и k = 10
мм, если длина труб > 3000 мм.
3.
Размера l1, L,
lk, Дк рекомендуемые, уточняются при
разработке рабочей документации.
Аппараты
типов ТНГ, ТКГ многоходовые по трубам

1 - камера распределительная; 2 - прокладка камеры
распределительной; 3 - решетка трубная;
4 - кожух; 5 - компенсатор, 6 - труба теплообменная, 7 - перегородка; 8 - опора
неподвижная;
9 - опора подвижная; 10 - прокладка кожуха; 11 - крышка кожуха
Черт. 3
Примечания:
1. Чертеж не определяет
конструкцию аппаратов.
2 k = 5 мм,
если длина труб ≤ 3000 мм и k = 10 мм, если длина труб > 3000 мм.
3
Размера l1, L,
lk, Дк рекомендуемые, уточняются при
разработке рабочей документации.
Аппараты
типов ТНВ, ТКВ многоходовые по трубам

1 - камера распределительная; 2 - прокладка камеры
распределительной; 3 - решетка трубная;
4 - кожух; 5 - компенсатор; 6 - труба теплообменная; 7 - перегородка; 8 - опора
подвижная;
9 - прокладка кожуха; 10 - крышка кожуха
Черт. 4
Примечания:
1. Чертеж не определяет
конструкцию аппаратов.
2 k = 5 мм,
если длина труб ≤ 3000 мм и k = 10 мм, если длина труб > 3000 мм.
3
Размера l1, L,
lk, Дк рекомендуемые, уточняются при
разработке рабочей документации.
Таблица 2
Основные
размеры аппаратов типов ТН, ТК
Размеры в мм
Диаметр кожуха, наружный
|
Давление
в кожухе и трубах Ру, МПа
|
l
|
L, не более, при числе ходов по трубам
|
l0
|
А
|
Ду при числе ходов по трубам
|
Ду1
|
Дк
|
Н/2
|
h
|
А0
|
l1
|
l2
|
lk
|
Размещение перегородок
|
при числе ходов по трубам
|
1
|
2
|
1
|
2
|
2
|
1
|
2
|
ТНГ
ТКГ
|
ТНВ
ТКВ
|
ТКГ
|
ТКВ
|
l3
|
число
|
159
|
1,6;
|
1000
|
1400
|
-
|
350
|
620
|
80
|
-
|
80
|
3092)
|
215
|
159
|
-
|
390
|
|
200
|
400
|
-
|
-
|
100
|
6
|
2,5;
|
1500
|
1900
|
650
|
1120
|
400
|
800
|
3252)
|
4002)
|
10
|
4,01)
|
2000
|
2400
|
800
|
1620
|
500
|
1200
|
4002)
|
4002)
|
14
|
|
3000
|
3400
|
1500
|
2620
|
650
|
1500
|
7502)
|
7502)
|
26
|
273
|
1,6
|
1000
|
1450
|
-
|
350
|
600
|
100
|
-
|
100
|
423
|
272
|
241
|
-
|
425
|
250
|
400
|
-
|
-
|
125
|
4
|
1500
|
1950
|
650
|
1100
|
350
|
800
|
325
|
450
|
8
|
2000
|
2450
|
800
|
1600
|
500
|
1200
|
400
|
700
|
12
|
3000
|
3450
|
1500
|
2600
|
650
|
1500
|
750
|
900
|
20
|
2,5
|
1000
|
1500
|
-
|
350
|
570
|
|
465
|
250
|
400
|
-
|
-
|
4
|
1500
|
2000
|
650
|
1070
|
350
|
800
|
8
|
2000
|
2500
|
800
|
1570
|
500
|
1200
|
12
|
3000
|
4500
|
1500
|
2570
|
650
|
1500
|
20
|
4,0
|
1000
|
1550
|
-
|
350
|
520
|
515
|
250
|
400
|
4
|
1500
|
2050
|
650
|
1020
|
350
|
800
|
8
|
2000
|
2550
|
800
|
1520
|
500
|
1200
|
12
|
3000
|
3550
|
1500
|
2520
|
650
|
1500
|
20
|
325
|
1,6,
2,51)
|
1500
|
2200
|
2170
|
650
|
1050
|
100
|
100
|
100
|
4752)
|
298
|
290
|
440
|
575
|
220
|
350
|
800
|
3252)
|
4752)
|
175
|
6
|
2000
|
2700
|
2670
|
800
|
1550
|
500
|
1200
|
4002)
|
7002
|
8
|
3000
|
3700
|
3670
|
1500
|
2550
|
650
|
1500
|
7502)
|
9002)
|
14
|
4000
|
4700
|
4670
|
2000
|
3550
|
800
|
1800
|
10002)
|
10002)
|
20
|
4,0
|
1500
|
2250
|
2170
|
650
|
990
|
-
|
490
|
630
|
350
|
800
|
-
|
-
|
6
|
2000
|
2750
|
2670
|
800
|
1490
|
500
|
1200
|
8
|
3000
|
3750
|
3670
|
1500
|
2490
|
650
|
1500
|
14
|
4000
|
4750
|
4670
|
2000
|
3490
|
800
|
1800
|
20
|
Продолжение
таблицы 2
Размеры в мм
Диаметр кожуха, внутренний
|
Давление
в кожухе и трубах Ру, МПа
|
l
|
L, не более, при числе ходов по трубам
|
l0
|
А
|
Ду при числе ходов по трубам
|
Ду1
|
Дк
|
Н/2
|
h
|
А0
|
l1
|
l2
|
lk
|
Размещение перегородок
|
при числе ходов по трубам
|
1
|
2,
44)
|
1
|
2
|
4
|
2,
44)
|
1
|
2,
44)
|
ТНГ
ТКГ
|
ТНВ
ТКВ
|
ТКГ
|
ТКВ
|
l3
|
число
|
400, 4263)
|
1,6,
2,51)
|
2000
|
2790
|
2770
|
800
|
1550
|
150
|
150
|
-
|
150
|
5622)
|
363
|
349
|
460
|
620
|
280
|
500
|
1200
|
4002)
|
7002)
|
250
|
6
|
3000
|
3790
|
3770
|
1500
|
2550
|
500
|
1500
|
7502)
|
9002)
|
10
|
4000
|
4790
|
4770
|
2000
|
3550
|
800
|
1800
|
10002)
|
10002)
|
14
|
6000
|
6790
|
6770
|
4000
|
5550
|
1200
|
1800
|
15002)
|
10002)
|
22
|
4,0
|
2000
|
2820
|
2810
|
800
|
1440
|
-
|
690
|
500
|
1200
|
-
|
-
|
6
|
3000
|
3820
|
3810
|
1500
|
2440
|
500
|
1500
|
10
|
4000
|
4820
|
4810
|
2000
|
3440
|
800
|
1800
|
14
|
6000
|
6820
|
6810
|
3000
|
5440
|
1200
|
1800
|
22
|
600, 6303)
|
1,6
|
2000
|
2940
|
2910
|
800
|
1500
|
200
|
200
|
150
|
200
|
762
|
530
|
525
|
520
|
720
|
370
|
400
|
1200
|
400
|
700
|
300
|
4
|
3000
|
3940
|
3910
|
1500
|
2500
|
500
|
1500
|
750
|
900
|
8
|
4000
|
4940
|
4910
|
2000
|
3500
|
800
|
1800
|
1000
|
1000
|
10
|
6000
|
6940
|
6910
|
3000
|
5500
|
1200
|
1800
|
1500
|
1000
|
18
|
2,5
|
2000
|
2950
|
2950
|
800
|
1450
|
-
|
545
|
750
|
390
|
400
|
1200
|
-
|
-
|
4
|
3000
|
3950
|
3950
|
1500
|
2450
|
500
|
1500
|
8
|
4000
|
4950
|
4950
|
2000
|
3450
|
800
|
1800
|
10
|
6000
|
6950
|
6950
|
3000
|
5450
|
1200
|
1800
|
18
|
4,0
|
2000
|
3060
|
3020
|
800
|
1400
|
-
|
600
|
830
|
400
|
400
|
1200
|
-
|
-
|
4
|
3000
|
4060
|
4020
|
1500
|
2400
|
500
|
1500
|
8
|
4000
|
5060
|
5020
|
2000
|
3400
|
800
|
1800
|
10
|
6000
|
7060
|
7020
|
3000
|
5400
|
1200
|
1800
|
18
|
800
|
1,0
|
2000
|
3070
|
3160
|
800
|
1450
|
250
|
250
|
200
|
250
|
962
|
627
|
608
|
630
|
810
|
440
|
400
|
1200
|
400
|
700
|
350
|
4
|
3000
|
4070
|
4160
|
1500
|
2450
|
600
|
1500
|
750
|
900
|
6
|
4000
|
5070
|
5160
|
2000
|
3450
|
800
|
1800
|
1000
|
1000
|
8
|
6000
|
7070
|
7160
|
3000
|
5450
|
1200
|
1800
|
1500
|
1000
|
14
|
Продолжение
таблицы 2
Размеры в мм
Диаметр кожуха, внутренний
|
Давление
в кожухе и трубах Ру, МПа
|
l
|
L, не более, при числе ходов по трубам
|
l0
|
А
|
Ду при числе ходов по трубам
|
Ду1
|
Дк
|
Н/2
|
h
|
А0
|
l1
|
l2
|
lk
|
Размещение перегородок
|
при числе ходов по трубам
|
1
|
2,
4
|
1
|
2
|
4
|
2,
4
|
1
|
2,
4
|
ТНГ
ТКГ
|
ТНВ
ТКВ
|
ТКГ
|
ТКВ
|
l3
|
число
|
800
|
1,6
|
2000
|
3140
|
3190
|
800
|
1410
|
250
|
250
|
200
|
250
|
962
|
627
|
608
|
650
|
865
|
440
|
400
|
1200
|
400
|
700
|
350
|
4
|
3000
|
4140
|
4190
|
1500
|
2410
|
600
|
1500
|
750
|
900
|
6
|
4000
|
5140
|
5190
|
2000
|
3410
|
800
|
1800
|
1000
|
1000
|
8
|
6000
|
7140
|
7190
|
3000
|
5410
|
1200
|
1800
|
1500
|
1000
|
14
|
2,5
|
2000
|
3220
|
3225
|
800
|
1400
|
-
|
612
|
655
|
910
|
450
|
400
|
1200
|
-
|
-
|
4
|
3000
|
4220
|
4225
|
1500
|
2400
|
600
|
1500
|
6
|
4000
|
5220
|
5225
|
2000
|
3400
|
|
|
800
|
1800
|
8
|
6000
|
7220
|
7225
|
3000
|
5400
|
1200
|
1800
|
14
|
4,0
|
2000
|
3430
|
3290
|
800
|
1300
|
|
|
677
|
700
|
1065
|
460
|
400
|
1200
|
4
|
3000
|
4430
|
4290
|
1500
|
2300
|
600
|
1500
|
6
|
4000
|
5430
|
5290
|
2000
|
3300
|
800
|
1800
|
8
|
6000
|
7430
|
7290
|
3000
|
5300
|
1200
|
1800
|
14
|
1000
|
0,6,
1,0
|
3000
|
4210
|
4220
|
1500
|
2350
|
300
|
300
|
200
|
300
|
1162
|
729
|
712
|
650
|
930
|
520
|
400
|
1500
|
-
|
900
|
520
|
4
|
4000
|
5210
|
5220
|
2000
|
3350
|
600
|
1800
|
1000
|
6
|
6000
|
7210
|
7220
|
3000
|
5350
|
1200
|
1800
|
1000
|
10
|
9000
|
10210
|
10220
|
6000
|
8350
|
1200
|
1800
|
1000
|
16
|
1,6
|
3000
|
4270
|
4240
|
1500
|
2350
|
960
|
400
|
1500
|
900
|
4
|
4000
|
5270
|
5240
|
2000
|
3350
|
600
|
1800
|
1000
|
6
|
6000
|
7270
|
7240
|
3000
|
5350
|
1200
|
1800
|
1000
|
10
|
9000
|
10270
|
10240
|
6000
|
8350
|
1200
|
1800
|
1000
|
16
|
2,5
|
3000
|
4390
|
4300
|
1500
|
2300
|
-
|
779
|
716
|
710
|
1045
|
540
|
400
|
1500
|
-
|
4
|
4000
|
5390
|
5300
|
2000
|
3300
|
600
|
1800
|
6
|
6000
|
7390
|
7300
|
3000
|
5300
|
1200
|
1800
|
10
|
9000
|
10390
|
10300
|
6000
|
8300
|
1200
|
1800
|
16
|
4,0
|
3000
|
4580
|
4420
|
1500
|
2200
|
800
|
1190
|
550
|
400
|
1500
|
4
|
4000
|
5580
|
5420
|
2000
|
3200
|
600
|
1800
|
6
|
6000
|
7580
|
7420
|
3000
|
5200
|
1200
|
10
|
1200
|
0,6;
1,0
|
4000
|
5300
|
5400
|
2000
|
3200
|
350
|
350
|
250
|
350
|
1362
|
831
|
812
|
765
|
1050
|
600
|
700
|
1000
|
550
|
6
|
6000
|
7300
|
7400
|
3000
|
5200
|
1200
|
8
|
9000
|
10300
|
10400
|
6000
|
8200
|
1200
|
14
|
1,6
|
4000
|
5400
|
5420
|
2000
|
3200
|
822
|
1100
|
700
|
6
|
6000
|
7400
|
7420
|
3000
|
5200
|
1200
|
8
|
9000
|
10400
|
10420
|
6000
|
8200
|
1200
|
14
|
2,5
|
4000
|
5540
|
5500
|
2000
|
3200
|
-
|
879
|
800
|
1170
|
620
|
700
|
-
|
6
|
6000
|
7540
|
7500
|
3000
|
5200
|
1200
|
8
|
9000
|
10540
|
10500
|
6000
|
8200
|
1200
|
14
|
_____________
1) Теплообменники, предназначенные для работы при условном
давлении Ру 1,6; 2,5 и 4,0 МПа, отличаются друг от друга фланцами, которые
установлены на условные давления Ру 1,6, 2,5 и 4,0 МПа.
2) Применять только для теплообменников на условное
давление Ру 1,6 МПа.
3) Наружный диаметр кожуха (при изготовлении из
трубы).
4) Применять
теплообменники 4-ходовые по трубам для аппаратов диаметром кожуха ≥ 600
(630) мм.
|
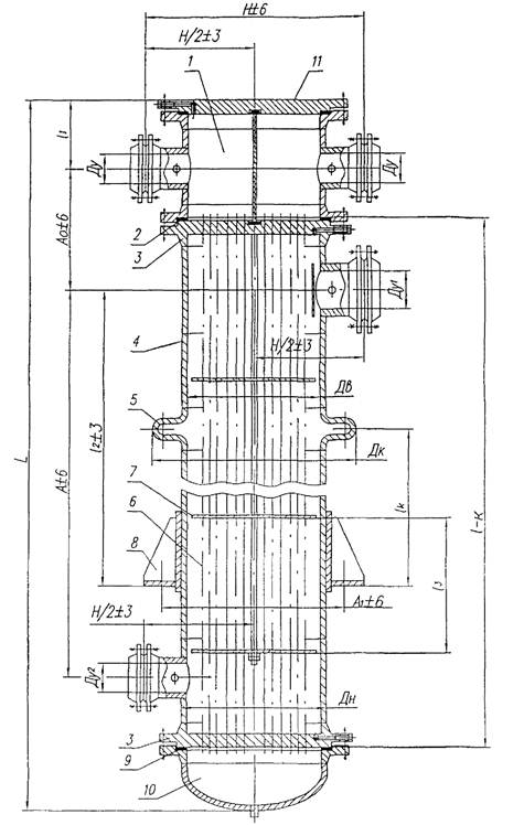
Аппараты
типов ХНГ, ХКГ многоходовые по трубам

1 - камера распределительная; 2 - прокладка камеры
распределительной; 3 - решетка трубная;
4 - кожух; 5 - компенсатор, 6 - труба теплообменная, 7 - перегородка; 8 - опора
неподвижная;
9 - опора подвижная; 10 - прокладка кожуха; 11 - крышка кожуха;
12 - крышка камеры распределительной.
Черт. 5
Примечания:
1. Чертеж не определяет
конструкцию аппаратов.
2. k
= 5 мм, если длина труб ≤ 3000 мм и k
= 10 мм, если длина труб > 3000 мм.
3.
Размера l1, L,
lk, Дк рекомендуемые, уточняются при
разработке рабочей документации.
Аппараты
типов ХНВ, ХКВ многоходовые по трубам

1 - камера распределительная; 2 - прокладка камеры
распределительной; 3 - решетка трубная;
4 - кожух; 5 - компенсатор; 6 - труба теплообменная; 7 - перегородка; 8 - опора
подвижная;
9 - прокладка кожуха; 10 - крышка кожуха; 11 - крышка камеры распределительной.
Черт. 6
Примечания:
1. Чертеж не определяет
конструкцию аппаратов.
2. k
= 5 мм, если длина труб ≤ 3000 мм и k
= 10 мм, если длина труб > 3000 мм.
3.
Размера l1, L,
lk, Дк рекомендуемые, уточняются при
разработке рабочей документации.
Таблица 3
Основные
размеры аппаратов типов ХН, ХК
Размеры в мм
Диаметр кожуха, внутренний
|
Давление
в кожухе Ру, МПа
|
l
|
L
не более при числе ходов по
трубам
|
l0
|
А
|
Ду при числе ходов по трубам
|
Ду1
|
Дк
|
Н/2
|
h
|
А0
|
l1
|
l2
|
lk
|
Размещение перегородок
|
при
числе ходов по трубам
|
1
|
2;
41)
|
1
|
2
|
4
|
2;
41)
|
1
|
2;
41)
|
ХНГ ХКГ
|
ХНВ ХКВ
|
ХКГ
|
ХКВ
|
l3
|
число
|
159
|
1,6
|
1500
|
1900
|
-
|
650
|
1120
|
80
|
-
|
-
|
80
|
309
|
215
|
159
|
-
|
390
|
-
|
400
|
800
|
325
|
400
|
100
|
10
|
2000
|
2400
|
800
|
1620
|
500
|
1200
|
400
|
400
|
14
|
3000
|
3400
|
1500
|
2620
|
650
|
1500
|
750
|
750
|
26
|
273
|
1,6
|
1500
|
1950
|
-
|
650
|
1100
|
100
|
-
|
-
|
100
|
423
|
272
|
241
|
-
|
425
|
350
|
800
|
325
|
450
|
125
|
8
|
2000
|
2450
|
800
|
1600
|
500
|
1200
|
400
|
700
|
12
|
3000
|
3450
|
1500
|
2600
|
650
|
1500
|
750
|
900
|
20
|
325
|
1,6
|
1500
|
-
|
2170
|
650
|
1050
|
-
|
100
|
|
100
|
475
|
298
|
290
|
440
|
-
|
220
|
350
|
800
|
325
|
475
|
175
|
6
|
2000
|
2670
|
800
|
1550
|
500
|
1200
|
400
|
700
|
8
|
3000
|
3670
|
1500
|
2550
|
650
|
1500
|
750
|
900
|
14
|
4000
|
4670
|
2000
|
3550
|
800
|
1800
|
1000
|
1000
|
20
|
400 4262)
|
1,6
|
2000
|
-
|
2720
|
800
|
1550
|
-
|
150
|
-
|
150
|
562
|
363
|
349
|
460
|
-
|
280
|
500
|
1200
|
400
|
700
|
250
|
6
|
3000
|
3720
|
1500
|
2550
|
500
|
1500
|
750
|
900
|
10
|
4000
|
4720
|
2000
|
3550
|
800
|
1800
|
1000
|
1000
|
14
|
6000
|
6720
|
3000
|
5550
|
1200
|
1800
|
1500
|
1000
|
22
|
600 6302)
|
1,0,
1,63)
|
2000
|
-
|
2900
|
800
|
1500
|
-
|
200
|
150
|
200
|
762
|
530
|
525
|
585
|
-
|
310
|
400
|
1200
|
400
|
700
|
300
|
4
|
3000
|
3900
|
1500
|
2500
|
500
|
1500
|
750
|
900
|
8
|
4000
|
4900
|
2000
|
3500
|
800
|
1800
|
1000
|
1000
|
10
|
6000
|
6900
|
3000
|
5500
|
1200
|
1800
|
1500
|
1000
|
18
|
2,5
|
2000
|
-
|
2910
|
800
|
1450
|
-
|
610
|
-
|
400
|
1200
|
-
|
|
4
|
3000
|
3910
|
1500
|
2450
|
500
|
1500
|
8
|
4000
|
4910
|
2000
|
3450
|
800
|
1800
|
10
|
6000
|
6910
|
3000
|
5450
|
1200
|
1800
|
18
|
Продолжение
таблицы 3
Размеры в мм
Диаметр кожуха, внутренний
|
Давление
в кожухе и трубах Ру, МПа
|
l
|
L, не более, при числе ходов по трубам
|
l0
|
А
|
Ду при числе ходов по трубам
|
Ду1
|
Дк
|
Н/2
|
h
|
А0
|
l1
|
l2
|
lk
|
Размещение перегородок
|
при числе ходов по трубам
|
2,
4
|
2
|
4
|
2,
4
|
2,
4
|
ХНГ ХКГ
|
ХНВ ХКВ
|
ХКГ
|
ХКВ
|
l3
|
число
|
600,
6302)
|
4,0
|
2000
|
2950
|
800
|
1400
|
200
|
150
|
200
|
-
|
530
|
525
|
635
|
310
|
400
|
1200
|
-
|
-
|
300
|
4
|
3000
|
3950
|
1500
|
2400
|
500
|
1500
|
8
|
4000
|
4950
|
2000
|
3400
|
800
|
1800
|
10
|
6000
|
6950
|
3000
|
5400
|
1200
|
1800
|
18
|
800
|
1,0,
1,63)
|
2000
|
2990
|
800
|
1450
|
|
|
250
|
962
|
627
|
608
|
620
|
315
|
400
|
1200
|
400
|
700
|
350
|
4
|
3000
|
3990
|
1500
|
2450
|
600
|
1500
|
750
|
900
|
6
|
4000
|
4990
|
2000
|
3450
|
800
|
1800
|
1000
|
1000
|
8
|
6000
|
6990
|
3000
|
5450
|
1200
|
1800
|
1500
|
1000
|
14
|
2,5
|
2000
|
3000
|
800
|
1400
|
-
|
612
|
645
|
400
|
1200
|
-
|
-
|
4
|
3000
|
4000
|
1500
|
2400
|
600
|
1500
|
6
|
4000
|
5000
|
2000
|
3400
|
800
|
1800
|
8
|
6000
|
7000
|
3000
|
5400
|
1200
|
1800
|
14
|
4,0
|
2000
|
3040
|
800
|
1350
|
677
|
670
|
400
|
1200
|
4
|
3000
|
4040
|
1500
|
2350
|
600
|
1500
|
6
|
4000
|
5040
|
2000
|
3350
|
800
|
1800
|
8
|
6000
|
7040
|
3000
|
5350
|
1200
|
1800
|
14
|
1000
|
0,6,
1,03)
|
3000
|
4200
|
1500
|
2350
|
300
|
200
|
300
|
1162
|
729
|
712
|
760
|
380
|
400
|
1500
|
-
|
900
|
520
|
4
|
4000
|
5200
|
2000
|
3350
|
600
|
1800
|
1000
|
6
|
6000
|
7200
|
3000
|
5350
|
1200
|
1800
|
1000
|
10
|
9000
|
10200
|
6000
|
8350
|
1200
|
1800
|
1000
|
16
|
1,6
|
3000
|
4200
|
1500
|
2350
|
400
|
1500
|
-
|
900
|
4
|
4000
|
5200
|
2000
|
3350
|
600
|
1800
|
1000
|
6
|
6000
|
7200
|
3000
|
5350
|
1200
|
1800
|
1000
|
10
|
9000
|
10200
|
6000
|
8350
|
1200
|
1800
|
1000
|
16
|
2,5
|
3000
|
4230
|
1500
|
2300
|
300
|
200
|
300
|
-
|
779
|
716
|
785
|
380
|
400
|
1500
|
-
|
-
|
520
|
4
|
4000
|
5230
|
2000
|
3300
|
600
|
1800
|
6
|
6000
|
7230
|
3000
|
5300
|
1200
|
1800
|
10
|
9000
|
10230
|
6000
|
8300
|
1200
|
1800
|
16
|
4,0
|
3000
|
4280
|
1500
|
2250
|
716
|
810
|
400
|
1500
|
4
|
4000
|
5280
|
2000
|
3250
|
600
|
1800
|
6
|
6000
|
7280
|
3000
|
5250
|
1200
|
1800
|
10
|
1200
|
0,6,
1,0
|
4000
|
5330
|
2000
|
3200
|
350
|
250
|
350
|
1362
|
831
|
812
|
835
|
450
|
700
|
1800
|
-
|
1000
|
550
|
6
|
6000
|
7330
|
3000
|
5200
|
1200
|
8
|
9000
|
10330
|
6000
|
8200
|
1200
|
14
|
1,6
|
4000
|
5340
|
2000
|
3200
|
822
|
700
|
6
|
6000
|
7340
|
3000
|
5200
|
1200
|
8
|
9000
|
10340
|
6000
|
8200
|
1200
|
14
|
2,5
|
4000
|
5380
|
2000
|
3200
|
-
|
879
|
700
|
-
|
6
|
6000
|
7380
|
3000
|
5200
|
1200
|
8
|
9000
|
10380
|
6000
|
8200
|
1200
|
14
|
_______________
1) Применять холодильники 4-ходовые по трубам для
аппаратов диаметром кожуха > 600 (630) мм.
2) Наружный диаметр кожуха (при изготовлении из
трубы).
3) Холодильники,
предназначенные для работы при условном давлении Ру 0,6; 1,0 и 1,6 МПа,
отличаются друг от друга фланцами, которые установлены на условные давления
Ру 0,6; 1,0 и 1,6 МПа.
Примечания: 1. Холодильники диаметром кожуха 159, 273, 325,
400 (426) мм на условное давление в кожухе 1,6 МПа применять только для
аппаратов типа ХК исполнения по материалу М3 с латунными теплообменными
трубами.
2.
В качестве холодильников диаметром кожуха 159, 273, 325; 400 (426) мм на
условное давление в кожухе 1,6, 2,5; 4,0 МПа исполнений по материалу M1, M10,
M11, M12, M19, M20 со стальными теплообменными трубами следует применять
теплообменники.
|
|
|
|
|
|
|
|
|
|
|
|
|
|
|
|
|
|
|
|
|
|
(Измененная редакция. Изм. № 1, № 3).
Аппараты
типов КНГ, ККГ, многоходовые no трубам

1 - камера распределительная; 2 - прокладка камеры
распределительной; 3 - решетка трубная;
4 - кожух; 5 - компенсатор; 6 - труба теплообменная, 7 - перегородка; 8 - опора
неподвижная;
9 - опора подвижная; 10 - прокладка кожуха; 11 - крышка кожуха;
12 - крышка камеры распределительной.
Черт. 7
Примечания:
1. Чертеж не определяет
конструкцию аппаратов.
2. k
= 5 мм, если длина труб ≤ 3000 мм и k
= 10 мм, если длина труб > 3000 мм.
3.
Размера l1, L,
lk, Дк рекомендуемые, уточняются при
разработке рабочей документации.
Аппараты
типов КНВ, ККВ многоходовые по трубам

1 - камера распределительная; 2 - прокладка камеры
распределительной; 3 - решетка трубная;
4 - кожух; 5 - компенсатор; 6 - труба теплообменная; 7 - перегородка; 8 - опора
подвижная;
9 - прокладка кожуха; 10 - крышка кожуха; 11 - крышка камеры распределительной
Черт. 8
Примечания:
1. Чертеж не определяет
конструкцию аппаратов.
2. k
= 5 мм, если длина труб ≤ 3000 мм и k
= 10 мм, если длина труб > 3000 мм.
3.
Размера l1, L,
lk, Дк рекомендуемые, уточняются при
разработке рабочей документации.
Таблица 4
Основные
размеры аппаратов типов КН, КК
Размеры
в мм
Диаметр кожуха, внутренний
|
Давление
в кожухе Ру, МПа
|
l
|
L, не более
|
l0
|
А
|
Ду
при числе ходов по трубам
|
Ду1
|
Ду2
|
Дк
|
Н/2
|
h
|
А0
|
l1
|
l2
|
lk
|
Размещение перегородок
|
2
|
4
|
6
|
КНГ
ККГ
|
КНВ
ККВ
|
ККГ
|
ККВ
|
l3
|
Число
|
600, 6301)
|
1,0
|
3000
|
3890
|
1500
|
2500
|
200
|
150
|
100
|
300
|
100
|
768
|
530
|
525
|
625
|
310
|
500
|
1500
|
750
|
900
|
1000
|
2
|
4000
|
4890
|
2000
|
3500
|
800
|
1800
|
1000
|
1000
|
3
|
6000
|
6890
|
3000
|
5500
|
1200
|
1800
|
1500
|
1000
|
5
|
1,6
|
3000
|
3890
|
1500
|
2540
|
250
|
620
|
500
|
1500
|
750
|
900
|
2
|
4000
|
4890
|
2000
|
3540
|
800
|
1800
|
1000
|
1000
|
3
|
6000
|
6890
|
3000
|
5540
|
1200
|
1800
|
1500
|
1000
|
5
|
2,5
|
3000
|
3900
|
1500
|
2550
|
200
|
-
|
600
|
500
|
1500
|
-
|
-
|
2
|
4000
|
4900
|
2000
|
3550
|
800
|
1800
|
3
|
6000
|
6900
|
3000
|
5550
|
1200
|
1800
|
5
|
800
|
1,0
|
3000
|
3970
|
1500
|
2400
|
250
|
200
|
150
|
400
|
150
|
962
|
627
|
608
|
710
|
315
|
600
|
1500
|
750
|
900
|
2
|
4000
|
4970
|
2000
|
3400
|
800
|
1800
|
1000
|
1000
|
3
|
6000
|
6970
|
3000
|
5400
|
1200
|
1800
|
1500
|
1000
|
5
|
1,6
|
3000
|
3970
|
1500
|
2480
|
300
|
640
|
600
|
1500
|
750
|
900
|
2
|
4000
|
4970
|
2000
|
3480
|
800
|
1800
|
1000
|
1000
|
3
|
6000
|
6970
|
3000
|
5480
|
1200
|
1800
|
1500
|
1000
|
5
|
2,5
|
3000
|
3970
|
1500
|
2460
|
250
|
-
|
612
|
600
|
1500
|
-
|
-
|
2
|
4000
|
4970
|
2000
|
3460
|
800
|
1800
|
3
|
6000
|
6970
|
3000
|
5460
|
1200
|
1800
|
5
|
1000
|
0,6,
1,02)
|
3000
|
4200
|
1500
|
2400
|
300
|
200
|
150
|
400
|
150
|
1162
|
729
|
712
|
800
|
380
|
400
|
1500
|
-
|
900
|
1000
|
2
|
4000
|
5200
|
2000
|
3400
|
600
|
1800
|
1000
|
3
|
6000
|
7200
|
3000
|
5400
|
1200
|
1800
|
1000
|
5
|
1,6
|
3000
|
4200
|
1500
|
2430
|
300
|
760
|
400
|
1500
|
900
|
2
|
4000
|
5200
|
2000
|
3430
|
600
|
1800
|
1000
|
3
|
6000
|
7200
|
3000
|
5430
|
1200
|
1800
|
1000
|
5
|
2,5
|
3000
|
4210
|
1500
|
2400
|
250
|
-
|
779
|
716
|
780
|
400
|
1500
|
-
|
2
|
4000
|
5210
|
2000
|
3400
|
600
|
1800
|
3
|
6000
|
7210
|
3000
|
5400
|
1200
|
1800
|
5
|
1200
|
0,6,
1,02)
|
4000
|
5380
|
2000
|
3300
|
350
|
250
|
200
|
500
|
200
|
1362
|
831
|
812
|
860
|
450
|
700
|
1800
|
1000
|
3
|
6000
|
7380
|
3000
|
5300
|
1200
|
5
|
1,6
|
4000
|
5380
|
2000
|
3300
|
400
|
830
|
700
|
3
|
6000
|
7380
|
3000
|
5300
|
1200
|
5
|
2,5
|
4000
|
5400
|
2000
|
3300
|
350
|
250
|
-
|
879
|
850
|
700
|
3
|
6000
|
7400
|
3000
|
5300
|
1200
|
5
|
1400
|
0,6,
1,02)
|
6000
|
7630
|
3000
|
5200
|
350
|
250
|
200
|
500
|
250
|
1562
|
990
|
908
|
990
|
575
|
1200
|
1800
|
-
|
1000
|
5
|
1,6
|
400
|
912
|
970
|
2,5
|
350
|
-
|
916
|
950
|
|
_____________
1) Наружный диаметр кожуха (при изготовлении из трубы).
2) Конденсаторы, предназначенные для работы при условном
давлении Ру 0,6 и 1,0 МПа, отличаются друг от друга фланцами, которые
установлены на условные давления Ру 0,6 и 1,0 МПа.
|
(Измененная редакция. Изм. № 1, № 3).
Аппараты
типов ИН-1, ИК-1

1 - камера распределительная; 2 - прокладка камера
распределительной; 3 - решетка трубная;
4 - кожух; 5 - компенсатор; 6 - труба теплообменная; 7 - перегородка; 8 - опора
подвижная
Черт. 9
Примечания:
1. Чертеж не определяет
конструкцию аппаратов.
2. k
= 5 мм, если длина труб ≤ 3000 мм и k
= 10 мм, если длина труб > 3000 мм.
3.
Размера l1, L,
lk, Дк рекомендуемые, уточняются при
разработке рабочей документации.
Аппараты
типов ИН-2, ИК-2

1 - камера распределительная; 2 - прокладка камера
распределительной; 3 - решетка трубная;
4 - кожух; 5 - компенсатор; 6 - труба теплообменная; 7 - перегородка; 8 - опора
подвижная
Черт. 10
Примечания:
1. Чертеж не определяет
конструкцию аппаратов.
2. k
= 5 мм, если длина труб ≤ 3000 мм и k
= 10 мм, если длина труб > 3000 мм.
3.
Размера l1, L,
lk, Дк рекомендуемые, уточняются при
разработке рабочей документации.
Таблица 5
Основные
размеры аппаратов типов ИН, ИК
Размеры в мм
Диаметр кожуха внутренний
|
Давление в кожухе Ру,
МПа
|
l
|
L, не более
|
А
|
А0
|
Ду
|
Ду1
|
Ду2
|
Дк
|
Н/2
|
l1
|
l2
|
lк
|
Размещение перегородок
|
для
исполнения
|
для
исполнения
|
1
|
2
|
1
|
2
|
1
|
2
|
1
|
2
|
l3
|
Число
|
l3
|
Число
|
600, 6301)
|
1,0
|
2000
|
3080
|
1500
|
1500
|
540
|
595
|
200
|
300
|
100
|
300
|
762
|
530
|
400
|
1200
|
700
|
300
|
4
|
1000
|
2
|
3000
|
4080
|
2500
|
2500
|
1500
|
900
|
8
|
2
|
4000
|
5080
|
3500
|
3500
|
1800
|
1000
|
10
|
3
|
1,6
|
2000
|
3080
|
1500
|
1540
|
585
|
250
|
1200
|
700
|
4
|
2
|
3000
|
4080
|
2500
|
2540
|
1500
|
900
|
8
|
2
|
4000
|
5080
|
3500
|
3540
|
1800
|
1000
|
10
|
3
|
2,5
|
2000
|
3080
|
1450
|
1520
|
575
|
595
|
200
|
-
|
1200
|
-
|
4
|
2
|
3000
|
4080
|
2450
|
2520
|
1500
|
8
|
2
|
4000
|
5080
|
3450
|
3520
|
1800
|
10
|
3
|
4,0
|
2000
|
3080
|
1400
|
1490
|
605
|
620
|
1200
|
4
|
2
|
3000
|
4080
|
2400
|
2490
|
1500
|
8
|
2
|
4000
|
5080
|
3400
|
3490
|
1800
|
10
|
3
|
800
|
1,0
|
2000
|
3440
|
1450
|
1410
|
630
|
700
|
250
|
400
|
150
|
400
|
962
|
627
|
560
|
1200
|
700
|
350
|
4
|
2
|
3000
|
4440
|
2450
|
2410
|
1500
|
900
|
6
|
2
|
4000
|
5440
|
3450
|
3410
|
1800
|
1000
|
8
|
3
|
1,6
|
2000
|
3440
|
1410
|
1440
|
710
|
300
|
1200
|
700
|
4
|
2
|
3000
|
4440
|
2410
|
2440
|
1500
|
900
|
6
|
2
|
4000
|
5440
|
3410
|
3440
|
1800
|
1000
|
8
|
3
|
2,5
|
2000
|
3460
|
1400
|
1410
|
670
|
725
|
250
|
250
|
150
|
400
|
-
|
627
|
560
|
1200
|
-
|
350
|
4
|
1000
|
2
|
3000
|
4460
|
2400
|
2410
|
1500
|
6
|
2
|
4000
|
5460
|
3400
|
3410
|
1800
|
8
|
3
|
4,0
|
2000
|
3520
|
1350
|
1390
|
700
|
750
|
677
|
1200
|
4
|
2
|
3000
|
4520
|
2350
|
2390
|
1500
|
6
|
2
|
4000
|
5520
|
3350
|
3390
|
1800
|
8
|
3
|
1000
|
0,6,
1,02)
|
2000
|
3600
|
1350
|
1390
|
690
|
720
|
300
|
400
|
200
|
400
|
1162
|
729
|
550
|
1300
|
800
|
520
|
2
|
2
|
3000
|
4600
|
2350
|
2390
|
1500
|
900
|
4
|
2
|
4000
|
5600
|
3350
|
3390
|
1800
|
1000
|
6
|
3
|
1,6
|
2000
|
3600
|
1350
|
1390
|
730
|
300
|
1300
|
800
|
2
|
2
|
3000
|
4600
|
2350
|
2390
|
1500
|
900
|
4
|
2
|
4000
|
5600
|
3350
|
3390
|
1800
|
1000
|
6
|
3
|
2,5
|
2000
|
3640
|
1300
|
1360
|
720
|
740
|
-
|
779
|
1300
|
-
|
2
|
2
|
3000
|
4640
|
2300
|
2360
|
1500
|
4
|
2
|
4000
|
5640
|
3300
|
3360
|
1800
|
6
|
3
|
4,0
|
2000
|
3660
|
1250
|
1320
|
755
|
765
|
1300
|
2
|
2
|
3000
|
4660
|
2250
|
2320
|
1500
|
4
|
2
|
4000
|
5660
|
3250
|
3320
|
1800
|
6
|
3
|
1200
|
0,6,
1,02)
|
3000
|
4880
|
2200
|
2290
|
830
|
850
|
350
|
500
|
250
|
500
|
1362
|
831
|
670
|
1500
|
900
|
550
|
4
|
2
|
4000
|
5880
|
3200
|
3290
|
1800
|
1000
|
6
|
3
|
1,6
|
3000
|
4880
|
2200
|
2240
|
860
|
400
|
1500
|
900
|
4
|
2
|
4000
|
5880
|
3200
|
3240
|
1800
|
1000
|
6
|
3
|
2,5
|
3000
|
4950
|
2200
|
2240
|
835
|
870
|
350
|
-
|
879
|
1500
|
-
|
4
|
2
|
4000
|
5950
|
3200
|
3240
|
1800
|
6
|
3
|
1400
|
0,6,
1,02)
|
3000
|
5040
|
2250
|
2260
|
820
|
880
|
350
|
500
|
250
|
500
|
1562
|
990
|
710
|
1500
|
900
|
600
|
4
|
1000
|
2
|
4000
|
6040
|
3250
|
3260
|
1800
|
1000
|
3
|
1,6
|
3000
|
5040
|
2250
|
2230
|
890
|
400
|
1500
|
900
|
2
|
4000
|
6040
|
3250
|
3230
|
1800
|
1000
|
3
|
2,5
|
3000
|
5050
|
2250
|
2210
|
830
|
900
|
350
|
-
|
1500
|
-
|
2
|
4000
|
6050
|
3250
|
3210
|
1800
|
3
|
_____________
1) Наружный диаметр кожуха (при изготовлении из трубы).
2) Испарители, предназначенные для работы при условном
давлении Ру 0,6 и 1,0 МПа, отличаются друг от друга фланцами, которые
установлены на условные давления Ру 0,6 и 1,0 МПа.
|
Таблица 6
Поверхность
теплообмена по наружному диаметру труб и площадь проходных
сечений по трубному и межтрубному пространству для аппаратов типов ТН, ТК, ХН,
ХК
Размеры
в мм
Диаметр кожуха
|
Наружный диаметр труб
|
Толщина стенки труб
|
Число ходов по трубам
|
Поверхность
теплообмена, м2, при длине труб
|
Площадь
проходного сечения одного хода по трубам, м2 не менее
|
Площадь
проходных сечений, м2, не менее
|
наружный
|
внутренний
|
1000
|
1500
|
2000
|
3000
|
4000
|
6000
|
9000
|
в
вырезе перегородки
|
между
перегородками1)
|
159
|
|
|
|
1
|
1,2
|
1,8
|
2,4
|
3,6
|
-
|
-
|
-
|
0,0040
|
|
|
25
|
1,0
|
1,5
|
2,0
|
3,1
|
-
|
-
|
-
|
0,0045
|
0,0033
|
0,0075
|
273
|
-
|
20
|
1
|
4,3
|
6,4
|
8,5
|
12,8
|
-
|
-
|
-
|
0,0136
|
0,0067
|
0,0124
|
25
|
3,3
|
4,9
|
6,6
|
10,0
|
-
|
-
|
-
|
0,0147
|
0,0081
|
0,0137
|
325
|
-
|
20
|
1
|
-
|
9,4
|
12,5
|
18,8
|
25,0
|
-
|
-
|
0,0200
|
0,0110
|
0,0190
|
2
|
-
|
8,5
|
11,3
|
16,9
|
22,6
|
-
|
-
|
0,0090
|
0,0156
|
25
|
1
|
-
|
7,3
|
9,7
|
14,6
|
19,5
|
-
|
-
|
0,0217
|
0,0130
|
0,0278
|
2
|
-
|
6,6
|
8,8
|
13,2
|
17,6
|
-
|
-
|
0,0098
|
0,0147
|
426
|
400
|
20
|
1
|
-
|
-
|
22,5
|
33,7
|
45,0
|
67,4
|
-
|
0,0358
|
0,0180
|
0,0448
|
2
|
-
|
-
|
20,9
|
31,3
|
41,7
|
62,6
|
-
|
0,0162
|
0,0300
|
25
|
1
|
-
|
-
|
16,8
|
25,2
|
33,6
|
50,4
|
-
|
0,0375
|
0,0210
|
0,0438
|
2
|
-
|
-
|
15,4
|
23,1
|
30,8
|
46,2
|
-
|
0,0168
|
0,0250
|
630
|
600
|
20
|
1
|
-
|
-
|
50,4
|
75,5
|
100,7
|
151,1
|
-
|
0,0802
|
0,0426
|
0,0540
|
2
|
-
|
-
|
47,7
|
71,6
|
95,5
|
143,2
|
-
|
0,0370
|
0,0480
|
4
|
-
|
-
|
43,2
|
64,8
|
86,4
|
129,6
|
-
|
0,0162
|
25
|
1
|
-
|
-
|
41,6
|
62,4
|
83,2
|
124,8
|
-
|
0,0928
|
0,0400
|
0,0525
|
2
|
-
|
-
|
38,9
|
58,4
|
77,9
|
116,8
|
-
|
0,0420
|
0,0450
|
4
|
-
|
-
|
33,6
|
50,4
|
67,2
|
100,8
|
-
|
0,0179
|
-
|
800
|
20
|
2
|
1
|
-
|
-
|
94,1
|
141,1
|
188,1
|
282,2
|
-
|
0,1498
|
0,0693
|
0,0770
|
2
|
-
|
-
|
90,5
|
135,7
|
180,9
|
271,4
|
-
|
0,0706
|
0,0700
|
4
|
-
|
-
|
83,9
|
125,9
|
167,8
|
254,1
|
-
|
0,0308
|
25
|
1
|
-
|
-
|
74,4
|
111,6
|
148,8
|
223,3
|
-
|
0,1659
|
0,0662
|
0,0788
|
2
|
-
|
-
|
70,8
|
106,2
|
141,6
|
212,4
|
-
|
0,0774
|
0,0700
|
4
|
-
|
-
|
64,5
|
96,8
|
129,1
|
193,6
|
-
|
0,0329
|
-
|
1000
|
20
|
1
|
-
|
-
|
-
|
224,0
|
298,7
|
448,0
|
672,0
|
0,2378
|
0,1048
|
0,1560
|
2
|
-
|
-
|
-
|
216,8
|
289,1
|
433,7
|
650,4
|
0,1138
|
0,1248
|
4
|
-
|
-
|
-
|
205,0
|
273,3
|
410,0
|
615,0
|
0,0512
|
25
|
1
|
-
|
-
|
-
|
181,6
|
242,1
|
363,1
|
544,7
|
0,2695
|
0,1062
|
0,1414
|
2
|
-
|
-
|
-
|
174,5
|
232,7
|
349,0
|
523,5
|
0,1257
|
0,1300
|
4
|
-
|
-
|
-
|
162,3
|
216,3
|
324,5
|
486,8
|
0,0553
|
-
|
1200
|
20
|
1
|
-
|
-
|
-
|
-
|
432,3
|
648,5
|
972,7
|
0,3442
|
0,1495
|
0,1870
|
2
|
-
|
-
|
-
|
-
|
421,5
|
632,3
|
948,4
|
0,1658
|
0,1760
|
4
|
-
|
-
|
-
|
-
|
401,9
|
602,9
|
904,3
|
0,0788
|
25
|
1
|
-
|
-
|
-
|
-
|
349,8
|
524,7
|
787,0
|
0,3899
|
0,1640
|
0,1788
|
2
|
-
|
-
|
-
|
-
|
338,8
|
508,2
|
762,3
|
0,1834
|
0,1650
|
4
|
-
|
-
|
-
|
-
|
319,3
|
479,0
|
718,5
|
0,0854
|
_______________
1) Площадь проходного
сечения определена в ряду 0 для одноходовых по трубам аппаратов и в ряду 1
для двух- и четырехходовых аппаратов.
Примечания:
1 Аппараты одноходовые по
трубам применять только для аппаратов типов ТН и ТК диаметром кожуха 159 -
1200 мм и аппаратов типа ХК диаметром кожуха 159 и 273 мм.
2
Наружный диаметр труб 20 мм применять для аппаратов типа ТН и ТК.
|
Таблица 7
Поверхность
теплообмена по наружному диаметру труб и площадь
проходных сечений по трубному и межтрубному пространству для аппаратов типов КН
и КК
Размеры
в мм
Диаметр
кожуха
|
Наружный диаметр труб
|
Толщина стенки труб
|
Давление в кожухе Ру, МПа, не более
|
Число ходов по трубам
|
Поверхность
теплообмена, м2, при длине труб
|
Площадь проходного сечения одного хода
по трубам, м2, не менее
|
наружный
|
внутренний
|
3000
|
4000
|
6000
|
630
|
600
|
25
|
2
|
1,0,
1,6
|
2
|
55,81
|
74,42
|
111,63
|
0,0377
|
4
|
47,81
|
63,74
|
95,62
|
0,0142
|
6
|
45,45
|
60,60
|
90,90
|
0,0087
|
2,5
|
2
|
58,40
|
77,87
|
116,81
|
0,0415
|
4
|
50,40
|
67,20
|
100,79
|
0,0180
|
6
|
48,04
|
64,06
|
96,08
|
0,0107
|
-
|
800
|
1,0
|
2
|
102,91
|
137,22
|
205,83
|
0,0716
|
4
|
93,49
|
124,66
|
187,00
|
0,0328
|
6
|
90,20
|
120,26
|
180,39
|
0,0180
|
1,6,
2,5
|
2
|
106,21
|
141,61
|
212,42
|
0,0765
|
4
|
96,79
|
129,05
|
193,58
|
0,0332
|
6
|
93,49
|
124,66
|
186,99
|
0,0222
|
-
|
1000
|
0,6,
1,0 1,6, 2,5
|
2
|
174,51
|
232,67
|
349,01
|
0,1242
|
4
|
162,26
|
216,35
|
324,52
|
0,0557
|
6
|
156,61
|
208,81
|
313,22
|
0,0363
|
-
|
1200
|
0,6,
1,0
|
2
|
-
|
332,53
|
498,79
|
0,1744
|
4
|
-
|
313,06
|
469,59
|
0,0790
|
6
|
-
|
305,52
|
458,28
|
0,0453
|
1,6,
2,5
|
2
|
-
|
338,81
|
508,21
|
0,1814
|
4
|
-
|
319,34
|
479,01
|
0,0861
|
6
|
-
|
311,80
|
467,70
|
0,0523
|
-
|
1400
|
0,6,
1,0
|
2
|
-
|
-
|
706,03
|
0,2527
|
4
|
-
|
-
|
671,18
|
0,1111
|
6
|
-
|
-
|
657,00
|
0,0727
|
1,6,
2,5
|
2
|
-
|
-
|
716,39
|
0,2603
|
4
|
-
|
-
|
681,54
|
0,1187
|
6
|
-
|
-
|
667,41
|
0,0803
|
Таблица 8
Поверхность
теплообмена по наружному диаметру труб и площадь
проходных сечений по трубному и межтрубному пространству для аппаратов типов ИН
и ИК
Размеры
в мм
Обозначение
аппарата
|
Диаметр
кожуха
|
Наружный
диаметр труб
|
Толщина
стенки труб
|
Давление
в кожухе Ру, МПа, не более
|
Поверхность
теплообмена, м2, при длине труб
|
Площадь
проходного сечения одного хода по трубам, м2, не менее
|
Площадь
проходных сечений, м2, не менее
|
наружный
|
внутренний
|
2000
|
3000
|
4000
|
в
вырезе перегородки
|
между
перегородками1)
|
ИН-1
|
630
|
600
|
25
|
2
|
1,0;
1,6; 2,5; 4,0
|
41,61
|
62,41
|
83,21
|
0,0917
|
|
|
ИК-1
|
ИН-2
|
1,0;
1,6
|
39,88
|
59,82
|
79,76
|
0,0879
|
-
|
-
|
ИК-2
|
2,5;
4,0
|
41,60
|
62,41
|
83,21
|
0,0917
|
-
|
-
|
ИН-1
|
-
|
800
|
1,0;
1,6; 2,5; 4,0
|
74,42
|
111,63
|
148,84
|
0,1641
|
0,0652
|
0,0788
|
ИК-1
|
ИН-2
|
1,0
|
72,22
|
108,33
|
144,44
|
0,1592
|
-
|
-
|
ИК-2
|
1,6;
2,5; 4,0
|
74,42
|
111,63
|
148,84
|
0,1641
|
-
|
-
|
ИН-1
|
-
|
1000
|
0,6;
1,0; 1,6; 2,5; 4,0
|
120,89
|
181,34
|
241,78
|
0,2665
|
0,1065
|
0,1430
|
ИК-1
|
ИН-2
|
-
|
ИК-2
|
ИН-1
|
-
|
1200
|
0,6;
1,0; 1,6; 2,5
|
174,89
|
262,35
|
349,80
|
0,3856
|
0,1640
|
0,1788
|
ИК-1
|
ИН-2
|
0,6;
1,0;
|
171,76
|
257,64
|
343,52
|
0,3786
|
-
|
-
|
ИК-2
|
1,6;
2,5
|
174,89
|
262,35
|
349,80
|
0,3856
|
-
|
-
|
ИН-1
|
-
|
1400
|
0,6; 1,0; 1,6; 2,5
|
245,23
|
367,85
|
490,47
|
0,5406
|
0,1955
|
0,2250
|
ИК-1
|
ИН-2
|
0,6;
1,0
|
241,78
|
362,67
|
483,56
|
0,5330
|
-
|
-
|
ИК-2
|
1,6;
2,5
|
245,23
|
367,85
|
490,47
|
0,5406
|
-
|
-
|
______________
1)
Площадь проходного сечения между перегородками определена в ряду 0.
Примечания к табл. 6 - 8.
1) Поверхность теплообмена
приведена без учета толщин трубных решеток.
2)
Аппараты типа ТК, ХК, КК, ИК применять до давления Ру ≤ 1,6 МПа.
|
(Измененная редакция. Изм. № 1, № 3).
Таблица 9
Материалы,
применяемые для изготовления сборочных единиц основных узлов и деталей
аппаратов типов ТН, TК, ХН, ХК, КН, КК, ИН, ИК
Тип
аппарата
|
Исполнение
аппарата по материалу
|
Материал
|
кожуха
|
распределительной
камеры и крышек
|
теллообменных
труб
|
трубной
решетки
|
перегородки
|
прокладок
кожуха
|
прокладок
распределительной камеры
|
ТН, ТК
ХН, ХК
КН, КК
ИН, ИК
|
М1
|
Ст3сп по ГОСТ
380, ГОСТ
14637.
Сталь марки 16ГС по ГОСТ
5520.
Трубы - сталь марки 20 по ГОСТ
1050, ГОСТ
8731 гр. В
|
Ст3сп, Ст3пс1) по ГОСТ
380, ГОСТ
14637.
Сталь марки 16ГС2) по ГОСТ
5520.
Трубы - сталь марки 20 по ГОСТ
1050, ГОСТ
8731 гр. В
|
Сталь марок 10 и 20 по ГОСТ
1050, ГОСТ
550 гр. А, ГОСТ
87333) гр. В
|
Сталь марки 16ГС по ГОСТ
55204) и ГОСТ
192814), ГОСТ
8479 гр. IV - КП. 245
|
Ст3сп по ГОСТ
380, ГОСТ
14637
|
Картон асбестовый по ГОСТ 2850 в
оболочке из алюминия марки АД0М или АД1М по ГОСТ
13726.
Паронит по ГОСТ 481
|
ХН, ХК
КН, КК
|
М3
|
Латунь марки ЛАМш 77-2-0,05 ГОСТ
15527, ГОСТ
21646
|
Сталь марки 16ГС по ГОСТ
55204) и ГОСТ
192814), ГОСТ
8479 гp. IV - КП. 245 с
наплавкой латунью марки ЛО 62-1 или Л63 по ГОСТ
15527
|
Ст3сп по ГОСТ
380, ГОСТ
14637
|
Паронит по ГОСТ 481.
Картон асбестовый по ГОСТ 2850 в
оболочке из алюминия марки АД0М или АД1.М по ГОСТ
13726 или в оболочке из латуни марки НМЛ63, ГОСТ
2208
|
ТН, ТК
ИН, ИК
|
М8
|
Сталь марки 12Х18Н10Т по ГОСТ
56324) и ГОСТ
73504) гр. М2б.
Трубы - сталь марки 12Х18Н10Т по ГОСТ
9940
|
Сталь марок 12Х18Н10Т, 08Х18Н10Т по ГОСТ
5632, ГОСТ
9941 и трубы электросварные по технической документации, утвержденной в установленном порядке4)
|
Сталь марок 12Х18Н10Т, 08Х18Н10Т по ГОСТ
56324), ГОСТ
73504) гр. М2б, ГОСТ
25054 гр. IV
|
Сталь марки 12Х18Н10Т по ГОСТ
56324), ГОСТ
73504) гр. М2б
|
Сталь марки 12Х18Н10Т по ГОСТ
56324), ГОСТ
73504) гр. М2б
|
Картон асбестовый по ГОСТ 2850 в
оболочке из стали марки М-НТ-08Х18Н10Т по ГОСТ
4986.
Паронит по ГОСТ 481
|
ТН, ТК
ИН, ИК
|
М9
|
Сталь марки 10Х17Н13М2Т по ГОСТ
56324) и ГОСТ
73504) гр. М2б.
Трубы - сталь марки 10Х17Н13М2Т по ГОСТ
9940
|
Сталь марки 10Х17Н13М2Т по ГОСТ
5632, ГОСТ
9941
|
Сталь марки 10Х17Н13М2Т, по ГОСТ
56324), ГОСТ
73504) гр. М2б, ГОСТ
25054 гр. IV
|
Сталь марки 10Х17Н13М2Т по ГОСТ
56324), ГОСТ
73504) гр. М2б
|
ТН, ТК
ХН, ХК
КН, КК
ИН, ИК
|
М10
|
Сталь марки 12X18Н10Т по ГОСТ
56324) и ГОСТ
73504) гр. М2б
Трубы - сталь марки 12Х18Н10Т по ГОСТ
9940
|
Ст3сп, Ст3пс1) по ГОСТ
380, ГОСТ
14637.
Сталь марки 16ГС2) по ГОСТ
5520.
Трубы - сталь марки 20 по ГОСТ
1050, ГОСТ
8731 гр. В
|
Сталь марок 12Х18Н10Т, 08Х18Н10Т по ГОСТ
5632, ГОСТ
9941
|
Сталь марок 12Х18Н10Т, 08Х18Н10Т по ГОСТ
56324), ГОСТ
73504) гр. М2б, ГОСТ
25054 гр. IV и технической документации, утвержденной в установленном
порядке4)
|
Сталь марки 12Х18Н10Т по ГОСТ
56324), ГОСТ
73504) гр. М2б
|
Картон асбестовый по ГОСТ 2850 в
оболочке из стали марки М-НТ-08Х18Н10Т по ГОСТ
4986.
Паронит по ГОСТ 481
|
ТН, ТК
ХН, ХК
КН, КК
ИН, ИК
|
M11
|
Сталь марки 10Х17Н13М2Т по ГОСТ
56324) и ГОСТ
73504) гр. М2б
Трубы - сталь марки 10Х17Н13М2Т по ГОСТ
9940
|
Сталь марки 10Х17Н13М2Т по ГОСТ
5632, ГОСТ
9941
|
Сталь марок 10Х17Н13М2Т, по ГОСТ
56324), ГОСТ
73504) гр. М2б, ГОСТ
25054 гр. IV
|
Сталь марок 10Х17Н13М2Т по ГОСТ
56324), ГОСТ
73504) гр. М2б
|
ТН, ТК
ХН, ХК
КН, КК
|
М12
|
Ст3сп по ГОСТ
380, ГОСТ
11637. Сталь марки 16ГС по ГОСТ
5520.
Трубы - сталь марки 20 по ГОСТ
1050, ГОСТ
8731 гр. В
|
Ст3сп, Ст3пс1) по ГОСТ
380, ГОСТ
14637.
Сталь марки 16ГС2) по ГОСТ
5520.
Трубы - сталь марки 20 по ГОСТ
1050, ГОСТ
8731 гр. В.
|
Сталь марки 08Х22Н6Т по ГОСТ
5632, ГОСТ
9941.
Сталь марки 12Х18Н10Т3) по ГОСТ
5632, ГОСТ
9941.
|
Сталь марки 16ГС по ГОСТ
55204), ГОСТ
8479 гр. IV - КП. 245
|
Ст3сп по ГОСТ
380, ГОСТ
14637
|
Картон асбестовый по ГОСТ 2850 в
оболочке из алюминия марки АД0М или АД1М по ГОСТ
13726.
Паронит по ГОСТ 481.
|
ИН, ИК
|
М17
|
Сталь марки 09Г2С по ГОСТ
55204), ГОСТ
8479 гр. IV - КП. 245.
Трубы - сталь марок 10Г2 по ГОСТ
8731 гр. В и 09Г2С по технической документации, утвержденной в
установленном порядке.
|
Сталь марки 10Г2 по ГОСТ
550 гр. А, ГОСТ
87333) гр. В.
|
Сталь марки 09Г2С и 10Г2С1 по ГОСТ
5520; 09Г2С и 10Г2 по ГОСТ
8479 гр. IV - КП. 215.
|
ТН, ТК
ХН, ХК
КН, КК
|
М19
|
Сталь марки 08X22H6T по ГОСТ
56324) и ГОСТ
73504) гр. М2б.
|
Ст3сп, Ст3пс1) по ГОСТ
380, ГОСТ
14637.
Сталь марки 16ГС2) по ГОСТ
5520.
Трубы - сталь марки 20 по ГОСТ
1050, ГОСТ
8731 гр. В.
|
Сталь марки 08Х22Н6Т по ГОСТ
5632, ГОСТ
9941.
|
Сталь марки 08Х22Н6Т по ГОСТ
56324), ГОСТ
25054 гр. IV, ГОСТ
73504) гр. М2б и технической документации, утвержденной в
установленном порядке4)
|
Сталь марки 08Х22Н6Т или 12Х18Н10Т по ГОСТ
56324), ГОСТ
73504) гр. М2б
|
Картон асбестовый по ГОСТ 2850 в
оболочке из стали марки М-НТ-08Х18Н10Т по ГОСТ
4986.
Паронит по ГОСТ 481
|
Картон асбестовый по ГОСТ 2850 в
оболочке из алюминия марки АД0М или АД1М по ГОСТ
13726.
Паронит по ГОСТ 481
|
ТН, ТК
ХН, ХК
КН, КК
|
М20
|
Сталь марки 08Х21Н6М2Т по ГОСТ
56324) и ГОСТ
73504) гр. М2б
|
Ст3сп, Ст3пс1) по ГОСТ
380, ГОСТ
14637.
Сталь марки 16ГС2) по ГОСТ
5520.
Трубы - сталь марки 20 по ГОСТ
1050, ГОСТ
8731 гр. В
|
Сталь марки 08Х21Н6М2Т по ГОСТ
5632, ТУ 14-3-1905
|
Сталь марки 08Х21Н6М2Т по ГОСТ
56324), ГОСТ
25054 гр. IV, ГОСТ
73504) гр. М2б и технической документации, утвержденной в
установленном порядке4)
|
Сталь марки 08Х21Н6М2Т или 12Х18Н10Т по ГОСТ
56324), ГОСТ
73504) гр. М2б.
|
Картон асбестовый по ГОСТ 2850 в
оболочке из стали марки М-НТ-08Х18Н10Т по ГОСТ
4986.
Паронит по ГОСТ 481.
|
Картон асбестовый по ГОСТ 2850 в оболочке
из алюминия марки АД0М или АД1М по ГОСТ
13726.
Паронит по ГОСТ 481.
|
ТН, ТК
|
М21
|
Сталь марки 08Х22Н6Т по ГОСТ
56324) и ГОСТ
73504) гр. М2б.
|
Сталь марки 08Х22Н6Т по ГОСТ
5632, ГОСТ
9941.
|
Сталь марки 08Х22Н6Т по ГОСТ
56324), ГОСТ
25054 гр. IV, ГОСТ
73504) гр. М2б и технической документации, утвержденной в
установленном порядке4)
|
Сталь марки 08Х22Н6Т или 12Х18Н10Т по ГОСТ
56324), ГОСТ
73504) гр. М2б.
|
Картон асбестовый по ГОСТ 2850 в
оболочке из стали марки М-НТ-08Х18Н10Т по ГОСТ
4986.
Паронит по ГОСТ 481.
|
ТН, ТК
|
М22
|
Сталь марки 08Х21Н6М2Т по ГОСТ
56324) и ГОСТ
73504) гр. М2б.
|
Сталь марки 08Х21Н6М2Т по ГОСТ
5632, ТУ 14-3-1905
|
Сталь марки 08Х21Н6М2Т по ГОСТ
56324), ГОСТ
25054 гр. IV, ГОСТ
73504) гр. М2б и технической документации, утвержденной в
установленном порядке4)
|
Сталь марки 08Х21Н6М2Т или 12Х18Н10Т по ГОСТ
56324), ГОСТ
73504) гр. М2б.
|
ТН, ТК
ИН, ИК
|
М23
|
Ст3сп по ГОСТ
380, ГОСТ
14637.
Сталь марки 16ГС по ГОСТ
5520.
Трубы - сталь марки 20 по ГОСТ
1050, ГОСТ
8731 гр. В
|
Сталь марки 08Х22Н6Т по ГОСТ
56324), ГОСТ
73504) гр. М2б
|
Сталь марки 08Х22Н6Т по ГОСТ
5632, ГОСТ
9941
|
Сталь марки 08Х22Н6Т по ГОСТ
56324), ГОСТ
25054 гр. IV, ГОСТ
73504) гр. М2б и технической документации, утвержденной в
установленном порядке4)
|
Ст3сп по ГОСТ
380, ГОСТ
14637
|
Картон асбестовый по ГОСТ 2850 в
оболочке из алюминия марки АД0М или АД1М по ГОСТ
13726.
Паронит по ГОСТ 481.
|
Картон асбестовый по ГОСТ 2850 в
оболочке из стали марки М-НТ-08Х18Н10Т по ГОСТ
4986.
Паронит по ГОСТ 481.
|
М24
|
Сталь марки 08Х21Н6М2Т по ГОСТ
56324), ГОСТ
73504) гр. М2б
|
Сталь марки 08Х21Н6М2Т по ГОСТ
5632
|
Сталь марки 08Х21Н6М2Т по ГОСТ
56324), ГОСТ
25054 гр. IV, ГОСТ
73504) гр. М2б и технической документации, утвержденной в
установленном порядке4)
|
_______________
1) Применять только для ХН, ХК, КН, КК.
2) Применять только для ТН, ТК, ИН, ИК.
3) Применять только по согласованию с заказчиком.
4) Применять только по согласованию
с ОАО «ВНИИНЕФТЕМАШ».
Примечания: 1. Допускается изготавливать сборочные единицы из
материалов других марок, предусмотренных ГОСТ
Р 52630 и по механическим свойствам и коррозионной стойкости не
уступающим материалам, указанным в таблице 9.
2. Пределы применения
материалов, технические требования к материалам должны соответствовать ГОСТ
Р 52630.
3. Выбор материала
прокладок следует производить с учетом рабочей среды, параметров и ее
коррозионности.
4. Допускается применение
спирально-навитых прокладок по ОСТ
26.260.454 и другой технической документации, утвержденной в установленном
порядке.
5. Для исполнения М12 крепление труб в трубных
решетках производить по технологии, согласованной с ОАО
«ВНИИПТхимнефтеаппаратуры» (г. Волгоград).
|
|
|
|
|
|
|
|
|
|
|
(Измененная редакция. Изм. № 3).
Таблица 10
Область
применения аппаратов типов ТН, ТК, ХН, ХК, КН, КК, ИН, ИК в зависимости от
диаметра кожуха, длины труб, исполнения по материалу и температурному пределу
Тип аппарата
|
Исполнение
по материалу
|
Температурный предел применения, °С
|
Диаметр
кожуха
|
159
|
273
|
325
|
длина
труб
|
1000
|
1500
|
2000
|
3000
|
1000
|
1500
|
2000
|
3000
|
1000
|
1500
|
2000
|
3000
|
ТН,
ТК
|
M1
|
от
минус 40
|
(+)
|
+
|
+
|
+
|
(+)
|
+
|
+
|
+
|
+
|
+
|
+
|
+
|
ИН,
ИК
|
до
плюс 350
|
-
|
-
|
-
|
-
|
-
|
-
|
-
|
-
|
-
|
-
|
-
|
-
|
ХН,
ХК
|
от
минус 20
|
-
|
-
|
-
|
-
|
-
|
-
|
-
|
-
|
-
|
-
|
-
|
-
|
KH, КК
|
до
плюс 300
|
-
|
-
|
-
|
-
|
-
|
-
|
-
|
-
|
-
|
-
|
-
|
-
|
ХК
|
М3
|
от
минус 20
|
-
|
+
|
+
|
+
|
-
|
+
|
+
|
+
|
+
|
+
|
+
|
+
|
КК
|
до
плюс 200
|
-
|
-
|
-
|
-
|
-
|
-
|
-
|
-
|
-
|
-
|
-
|
-
|
ТН,
ТК
|
М8
|
от
минус 70
|
(+)
|
+
|
+
|
+
|
(+)
|
+
|
+
|
+
|
+
|
+
|
+
|
+
|
ИН,
ИК
|
до
плюс 350
|
-
|
-
|
-
|
-
|
-
|
-
|
-
|
-
|
-
|
-
|
-
|
-
|
ТН,
ТК
|
М9
|
от
минус 70
|
(+)
|
+
|
+
|
+
|
-
|
-
|
-
|
-
|
-
|
-
|
-
|
-
|
ИН,
ИК
|
до
плюс 350
|
-
|
-
|
-
|
-
|
-
|
-
|
-
|
-
|
-
|
-
|
-
|
-
|
ТН,
ТК
|
М10
|
от
минус 40
|
(+)
|
+
|
+
|
+
|
(+)
|
+
|
+
|
+
|
+
|
+
|
+
|
+
|
ИН,
ИК
|
до
плюс 200
|
-
|
-
|
-
|
-
|
-
|
-
|
-
|
-
|
-
|
-
|
-
|
-
|
ХН,
ХК
|
от
минус 20
|
-
|
-
|
-
|
-
|
-
|
-
|
-
|
-
|
-
|
-
|
-
|
-
|
КН,
КК
|
до
плюс 200
|
-
|
-
|
-
|
-
|
-
|
-
|
-
|
-
|
-
|
-
|
-
|
-
|
ТН,
ТК
|
М11
|
от
минус 40
|
(+)
|
+
|
+
|
+
|
-
|
-
|
-
|
-
|
-
|
-
|
-
|
-
|
ИН,
ИК
|
до
плюс 200
|
-
|
-
|
-
|
-
|
-
|
-
|
-
|
-
|
-
|
-
|
-
|
-
|
ХН,
ХК
|
от
минус 20
|
-
|
-
|
-
|
-
|
-
|
-
|
-
|
-
|
-
|
-
|
-
|
-
|
КН,
КК
|
до
плюс 200
|
-
|
-
|
-
|
-
|
-
|
-
|
-
|
-
|
-
|
-
|
-
|
-
|
ТН,
ТК
|
М12
|
|
(+)
|
+
|
+
|
+
|
(+)
|
+
|
+
|
+
|
+
|
+
|
+
|
+
|
ХН,
ХК
|
от
минус 20
|
-
|
-
|
-
|
-
|
-
|
-
|
-
|
-
|
-
|
-
|
-
|
-
|
КН,
КК
|
до
плюс 300
|
-
|
-
|
-
|
-
|
-
|
-
|
-
|
-
|
-
|
-
|
-
|
-
|
ТН,
ТК
|
М17
|
от
минус 60
|
(+)
|
+
|
+
|
+
|
(+)
|
+
|
+
|
+
|
+
|
+
|
+
|
+
|
ИН,
ИК
|
до
плюс 350
|
-
|
-
|
-
|
-
|
-
|
-
|
-
|
-
|
-
|
-
|
-
|
-
|
ТН,
ТК
|
|
от
минус 40
|
-
|
-
|
-
|
-
|
-
|
-
|
-
|
-
|
-
|
-
|
-
|
-
|
M19,
|
до
плюс 200
|
ХН,
ХК
|
М20
|
от
минус 20
|
-
|
-
|
-
|
-
|
-
|
-
|
-
|
-
|
-
|
-
|
-
|
-
|
КН,
КК
|
|
до
плюс 200
|
-
|
-
|
-
|
-
|
-
|
-
|
-
|
-
|
-
|
-
|
-
|
-
|
ТН,
ТК
|
М21,
|
от
минус 40
|
-
|
-
|
-
|
-
|
-
|
-
|
-
|
-
|
-
|
-
|
-
|
-
|
М22
|
до
плюс 300
|
ТН,
ТК
|
М23,
|
от
минус 40
|
-
|
-
|
-
|
-
|
-
|
-
|
-
|
-
|
(+)
|
(+)
|
(+)
|
(+)
|
ИН,
ИК
|
М24
|
до
плюс 200
|
-
|
-
|
-
|
-
|
-
|
-
|
-
|
-
|
-
|
-
|
-
|
-
|
Продолжение
таблицы 10
Тип аппарата
|
Исполнение
по материалу
|
Температурный предел применения, °С
|
Диаметр
кожуха
|
400
(426)
|
600
(630)
|
800
|
длина
труб
|
2000
|
3000
|
4000
|
6000
|
2000
|
3000
|
4000
|
6000
|
2000
|
3000
|
4000
|
6000
|
ТН,
ТК
|
M1
|
от
минус 40
|
+
|
+
|
+
|
+
|
+
|
+
|
+
|
+
|
+
|
+
|
+
|
+
|
ИН,
ИК
|
до
плюс 350
|
|
-
|
-
|
-
|
+
|
+
|
+
|
-
|
+
|
+
|
+
|
-
|
ХН,
ХК
|
от
минус 20
|
-
|
-
|
-
|
-
|
+
|
+
|
+
|
+
|
+
|
+
|
+
|
+
|
КН,
КК
|
до
плюс 300
|
-
|
-
|
-
|
-
|
-
|
+
|
+
|
+
|
-
|
+
|
+
|
+
|
ХК
|
М3
|
от
минус 20
|
+
|
+
|
+
|
+
|
+
|
+
|
+
|
+
|
+
|
+
|
+
|
+
|
КК
|
до
плюс 200
|
-
|
-
|
-
|
-
|
-
|
+
|
+
|
+
|
-
|
+
|
+
|
+
|
ТН,
ТК
|
М8
|
от
минус 70
|
+
|
+
|
+
|
+
|
+
|
+
|
+
|
+
|
+
|
+
|
+
|
+
|
ИН,
ИК
|
до
плюс 350
|
-
|
-
|
-
|
-
|
+
|
+
|
+
|
-
|
+
|
+
|
+
|
-
|
ТН,
ТК
|
М9
|
от
минус 70
|
+
|
+
|
+
|
+
|
+
|
+
|
+
|
+
|
+
|
+
|
+
|
+
|
ИН,
ИК
|
до
плюс 350
|
-
|
-
|
-
|
-
|
+
|
+
|
+
|
-
|
+
|
+
|
+
|
-
|
ТН,
ТК
|
М10
|
от
минус 40
|
+
|
+
|
+
|
+
|
+
|
+
|
+
|
+
|
+
|
+
|
+
|
+
|
ИН,
ИК
|
до
плюс 200
|
-
|
-
|
-
|
-
|
+
|
+
|
+
|
-
|
+
|
+
|
+
|
-
|
ХН,
ХК
|
от
минус 20
|
-
|
-
|
-
|
-
|
+
|
+
|
+
|
+
|
-
|
+
|
+
|
+
|
КН,
КК
|
до
плюс 200
|
|
|
|
|
|
+
|
+
|
+
|
-
|
+
|
+
|
+
|
ТН,
ТК
|
M11
|
от
минус 40
|
+
|
+
|
+
|
+
|
+
|
+
|
+
|
+
|
+
|
+
|
+
|
+
|
ИН,
ИК
|
до
плюс 200
|
-
|
-
|
-
|
-
|
+
|
+
|
+
|
-
|
+
|
+
|
+
|
-
|
ХН,
ХК
|
от
минус 20
|
-
|
-
|
-
|
-
|
+
|
+
|
+
|
+
|
+
|
+
|
+
|
+
|
КН,
КК
|
до
плюс 200
|
-
|
-
|
-
|
-
|
-
|
+
|
+
|
+
|
-
|
+
|
+
|
+
|
ТН,
ТК
|
М12
|
|
+
|
+
|
+
|
+
|
-
|
-
|
-
|
-
|
-
|
-
|
-
|
-
|
ХН,
ХК
|
от
минус 20
|
-
|
-
|
-
|
-
|
+
|
+
|
+
|
+
|
+
|
+
|
+
|
+
|
КН,
КК
|
до
плюс 300
|
-
|
-
|
-
|
-
|
-
|
+
|
+
|
+
|
-
|
+
|
+
|
+
|
ТН,
ТК
|
М17
|
от
минус 60
|
+
|
+
|
+
|
+
|
+
|
+
|
+
|
+
|
+
|
+
|
+
|
+
|
ИН,
ИК
|
до
плюс 350
|
-
|
-
|
-
|
-
|
+
|
+
|
+
|
-
|
+
|
+
|
+
|
-
|
ТН,
ТК
|
М19,
|
от
минус 40
|
+
|
+
|
+
|
+
|
+
|
+
|
+
|
+
|
+
|
+
|
+
|
+
|
до
плюс 200
|
ХН,
ХК
|
М20
|
от
минус 20
|
-
|
-
|
-
|
-
|
+
|
+
|
+
|
+
|
+
|
+
|
+
|
+
|
КН,
КК
|
до
плюс 200
|
-
|
-
|
-
|
-
|
-
|
+
|
+
|
+
|
-
|
+
|
+
|
+
|
ТН,
ТК
|
М21,
|
от
минус 40
|
+
|
+
|
+
|
+
|
+
|
+
|
+
|
+
|
+
|
+
|
+
|
+
|
М22
|
до
плюс 300
|
ТН,
ТК
|
М23,
|
от
минус 40
|
+
|
+
|
+
|
+
|
+
|
+
|
+
|
+
|
+
|
+
|
+
|
+
|
ИН,
ИК
|
М24
|
до
плюс 200
|
-
|
-
|
-
|
-
|
+
|
+
|
+
|
-
|
+
|
+
|
+
|
-
|
Продолжение
таблицы 10
Тип аппарата
|
Исполнение по материалу
|
Температурный предел применения, °С
|
Диаметр
кожуха
|
1000
|
1200
|
1400
|
длина
труб
|
2000
|
3000
|
4000
|
6000
|
9000
|
3000
|
4000
|
6000
|
9000
|
3000
|
4000
|
6000
|
ТН,
ТК
|
|
от
минус 40
|
-
|
+
|
+
|
+
|
+
|
-
|
+
|
+
|
+
|
-
|
-
|
-
|
ИН,
ИК
|
M1
|
до
плюс 350
|
+
|
+
|
+
|
-
|
-
|
+
|
+
|
-
|
-
|
+
|
+
|
-
|
ХН,
ХК
|
от
минус 20
|
-
|
+
|
+
|
+
|
+
|
-
|
+
|
+
|
+
|
-
|
-
|
-
|
КН,
КК
|
|
до
плюс 300
|
-
|
+
|
+
|
+
|
-
|
-
|
+
|
+
|
-
|
-
|
-
|
+
|
ХК
|
М3
|
от
минус 20
|
-
|
+
|
+
|
+
|
+
|
-
|
+
|
+
|
+
|
-
|
-
|
-
|
КК
|
до
плюс 200
|
-
|
+
|
+
|
+
|
-
|
-
|
+
|
+
|
-
|
-
|
-
|
+
|
ТН,
ТК
|
М8
|
от
минус 70
|
-
|
+
|
+
|
+
|
+
|
-
|
+
|
+
|
+
|
-
|
-
|
-
|
ИН,
ИК
|
до
плюс 350
|
+
|
+
|
+
|
-
|
-
|
+
|
+
|
-
|
-
|
+
|
+
|
-
|
ТН,
ТК
|
М9
|
от
минус 70
|
-
|
+
|
+
|
+
|
+
|
-
|
+
|
+
|
+
|
-
|
-
|
-
|
ИН,
ИК
|
до
плюс 350
|
+
|
+
|
+
|
-
|
-
|
+
|
+
|
-
|
-
|
+
|
+
|
-
|
ТН,
ТК
|
|
от
минус 40
|
-
|
+
|
+
|
+
|
+
|
-
|
+
|
+
|
+
|
-
|
-
|
-
|
ИН,
Ж
|
М10
|
до
плюс 200
|
+
|
+
|
+
|
-
|
-
|
+
|
+
|
-
|
-
|
+
|
+
|
-
|
ХН,
ХК
|
от
минус 20
|
-
|
+
|
+
|
+
|
+
|
-
|
+
|
+
|
+
|
-
|
-
|
-
|
КН,
КК
|
|
до
плюс 200
|
-
|
+
|
+
|
+
|
-
|
-
|
+
|
+
|
-
|
-
|
-
|
+
|
ТН,
ТК
|
|
от
минус 40
|
-
|
+
|
+
|
+
|
+
|
-
|
+
|
+
|
+
|
-
|
-
|
-
|
ИН,
ИК
|
M11
|
до
плюс 200
|
+
|
+
|
+
|
-
|
-
|
+
|
+
|
-
|
-
|
+
|
+
|
-
|
ХН,
ХК
|
от
минус 20
|
-
|
+
|
+
|
+
|
+
|
-
|
+
|
+
|
+
|
-
|
-
|
-
|
КН,
КК
|
|
до
плюс 200
|
-
|
+
|
+
|
+
|
-
|
-
|
+
|
+
|
-
|
-
|
-
|
+
|
ТН,
ТК
|
М12
|
|
-
|
-
|
-
|
-
|
-
|
-
|
-
|
-
|
-
|
-
|
-
|
-
|
ХН,
ХК
|
от
минус 20
|
-
|
+
|
+
|
+
|
+
|
-
|
+
|
+
|
+
|
-
|
-
|
-
|
КН,
КК
|
до
плюс 300
|
-
|
+
|
+
|
+
|
+
|
-
|
+
|
+
|
+
|
-
|
-
|
+
|
ТН,
ТК
|
М17
|
от
минус 60
|
-
|
+
|
+
|
+
|
+
|
-
|
+
|
+
|
+
|
-
|
-
|
-
|
ИН,
ИК
|
до
плюс 350
|
+
|
+
|
+
|
-
|
-
|
+
|
+
|
-
|
-
|
+
|
+
|
-
|
ТН,
ТК
|
М19,
|
от
минус 40
|
-
|
+
|
+
|
+
|
+
|
-
|
+
|
|
+
|
-
|
-
|
-
|
до
плюс 200
|
ХН,
ХК
|
М20
|
от
минус 20
|
-
|
+
|
+
|
+
|
+
|
-
|
+
|
+
|
+
|
-
|
-
|
-
|
КН,
КК
|
|
до
плюс 200
|
-
|
+
|
+
|
+
|
-
|
-
|
+
|
+
|
-
|
-
|
-
|
+
|
ТН,
ТК
|
М21,
|
от
минус 40
|
-
|
+
|
+
|
+
|
+
|
-
|
+
|
+
|
+
|
-
|
-
|
-
|
М22
|
до
плюс 300
|
ТН,
ТК
|
М23,
|
от
минус 40
|
-
|
+
|
+
|
+
|
+
|
-
|
+
|
+
|
+
|
-
|
-
|
-
|
ИН,
ИК
|
М24
|
до
плюс 200
|
+
|
+
|
+
|
-
|
-
|
+
|
+
|
-
|
-
|
+
|
+
|
-
|
Примечания:
1. Знак "+"
означает применение
2. Обозначение применения
аппаратов, заключенные в круглые скобки, приведены только для аппаратов типа
Н, в квадратные - только для аппаратов одноходовых по трубам.
3
В качестве аппаратов типов ХН, ХК исполнений по материалу M1, M10, М12
диаметром кожуха 159, 273, 325, 400 (426) мм; исполнения по материалу M11
диаметром кожуха 159, 400 мм; исполнений по материалу M19, М20 диаметром
кожуха 400 мм следует применять аппараты типов ТН, ТК.
|
|
|
|
|
|
|
|
|
|
|
|
|
|
|
|
|
|
Таблица 11
Наибольшая
допускаемая разность температур кожуха (tk)
и труб (tт) для аппаратов типа ТН
Диаметр кожуха, мм
|
Давление
в кожухе и трубах, Ру, МПа
|
tk - tТ и tТ - tk при температуре труб, °С
|
до 250
|
250
- 3501)
|
до 250
|
250
- 3501)
|
до 250
|
250
- 3501)
|
до 250
|
250
- 3001)
|
до
2002)
|
200
- 3003)
|
наружный
|
внутренний
|
для
исполнения по материалу
|
M1; М17
|
М8,
М10
|
М9;
M11
|
М12
|
М19;
М20; М21; М22
|
М23;
М24
|
М21;
М22
|
159
|
-
|
1,6;
2,5; 4,0
|
30
|
20
|
20
|
20
|
20
|
20
|
20
|
20
|
-
|
-
|
-
|
273
|
-
|
-
|
-
|
325
|
-
|
30
|
426
|
400
|
1,6;
2,5
|
20
|
20
|
30
|
30
|
30
|
20
|
4,0
|
20
|
20
|
20
|
20
|
630
|
600
|
1,6
|
40
|
30
|
30
|
30
|
30
|
30
|
-
|
-
|
40
|
40
|
30
|
2,5;
4,0
|
30
|
20
|
20
|
-
|
-
|
30
|
30
|
20
|
-
|
800
|
1,0;
1,6
|
40
|
30
|
30
|
-
|
-
|
40
|
40
|
30
|
2,5;
4,0
|
30
|
20
|
20
|
-
|
-
|
30
|
30
|
20
|
|
1000
|
0,6;
1,0
|
60
|
50
|
50
|
40
|
50
|
40
|
-
|
-
|
60
|
60
|
40
|
1,6
|
50
|
40
|
40
|
30
|
40
|
30
|
-
|
-
|
50
|
50
|
30
|
2,5;
4,0
|
30
|
20
|
30
|
20
|
30
|
20
|
-
|
-
|
30
|
30
|
20
|
-
|
1200
|
0,6;
1,0
|
60
|
50
|
50
|
40
|
50
|
40
|
-
|
-
|
60
|
60
|
40
|
1,6
|
40
|
30
|
40
|
30
|
-
|
-
|
30
|
2,5
|
40
|
30
|
30
|
20
|
30
|
20
|
-
|
-
|
40
|
40
|
20
|
_____________
1) Температура кожуха не более 350 °С.
2) Температура кожуха не более 200 °С.
3) Температура кожуха не
более 300 °С.
|
Таблица 12
Наибольшая
допускаемая разность температур кожуха (tk) и труб (tT)
для аппаратов типа ХН
Диаметр
кожуха, мм
|
Давление
в кожухе, Ру, МПа
|
tk - tТ при температуре труб tТ, °С
|
до
250
|
250
- 3001)
|
до
250
|
250
- 3001)
|
до
2002)
|
наружный
|
внутренний
|
для
исполнений по материалу
|
M1
|
М10;
М11; М12
|
M19; М20
|
630
|
600
|
1,0;
1,6
|
40
|
30
|
30
|
30
|
40
|
2,5;
4,0
|
30
|
20
|
30
|
-
|
800
|
1,0;
1,6
|
40
|
30
|
40
|
2,5;
4,0
|
30
|
20
|
30
|
-
|
1000
|
0,6;
1,0
|
50
|
40
|
40
|
40
|
50
|
1,6
|
30
|
2,5;
4,0
|
30
|
30
|
20
|
30
|
-
|
1200
|
0,6;
1,0
|
60
|
50
|
40
|
60
|
1,6
|
50
|
40
|
30
|
50
|
2,5
|
40
|
30
|
20
|
40
|
_______________
1) Температура кожуха не более 300 °С.
2) Температура кожуха не
более 200 °С.
Примечание. Наибольшая допускаемая разность температур кожуха
(tk) и труб (tT) для аппаратов типа ХН
диаметром кожуха 159 - 400 (426) мм на условное давление 1,6; 2,5; 4,0
исполнений по материалу M1; М10, M11, М12; М19, М20 следует принимать по
таблице 11.
|
Таблица 13
Наибольшая
допускаемая разность температур кожуха (tk) и труб (tT)
для аппаратов типа КН
Диаметр
кожуха, мм
|
Давление
в кожухе, Ру, МПа
|
tk - tТ при температуре труб tТ, °С
|
до
250
|
250
- 3001)
|
до
250
|
250
- 3001)
|
до
2002)
|
наружный
|
внутренний
|
для
исполнений по материалу
|
M1
|
М10;
M11; М12
|
М19;
М20
|
630
|
600
|
1,0;1,6
|
40
|
30
|
30
|
30
|
40
|
2,5
|
30
|
20
|
30
|
-
|
800
|
1,0;1,6
|
40
|
30
|
40
|
2,5
|
30
|
20
|
30
|
-
|
1000
|
0,6,
1,0
|
50
|
40
|
40
|
40
|
50
|
1,6
|
30
|
2,5
|
30
|
30
|
20
|
30
|
-
|
1200,
|
0,6,
1,0
|
60
|
50
|
40
|
60
|
-
|
1400
|
1,6
|
50
|
40
|
30
|
50
|
|
|
2,5
|
40
|
30
|
20
|
40
|
_______________
1) Температура кожуха не более 300 °С.
2) Температура кожуха не
более 200 °С.
|
|
|
|
|
|
|
|
|
|
Таблица 14
Наибольшая
допускаемая разность температур кожуха (tk) и труб (tT)
для аппаратов типа ИН
Диаметр
кожуха, мм
|
Давление
в кожухе, Ру, МПа
|
tk - tТ при температуре труб tТ, °С
|
до
250
|
250
- 3501)
|
до
250
|
250
- 3501)
|
до
2002)
|
наружный
|
внутренний
|
для
исполнений по материалу
|
M1; М17
|
М8;
М9; М10; M11
|
М23;
М24
|
630
|
600;
|
1,0;
1,6
|
40
|
30
|
30
|
30
|
40
|
-
|
800
|
2,5;
4,0
|
30
|
20
|
30
|
-
|
1000
|
0,6;
1,0
|
50
|
40
|
40
|
40
|
50
|
1,6
|
30
|
2,5;
4,0
|
30
|
30
|
30
|
20
|
30
|
|
|
0,6;
1,0
|
60
|
50
|
40
|
40
|
60
|
-
|
1200;
|
1,6
|
50
|
40
|
30
|
50
|
-
|
1400
|
2,5
|
40
|
30
|
30
|
20
|
40
|
_______________
1) Температура кожуха не более 350 °С.
2)
Температура кожуха не более 200 °С.
|
Таблица 15
Наибольшая
допускаемая разность в удлинении кожуха и труб для аппаратов типов ТК, ХК, КК,
ИК
Длина
труб, мм
|
Допускаемая
разность в удлинении кожуха и труб ±0,1 мм для исполнений по материалу
|
M1; М3; М12; М17; М23; М24
|
М8;
М9; М10; M11; М19; М20; М21; М22
|
1500;
|
2,2
|
3,0
|
2000
|
3000;
|
|
|
4000;
|
4,4
|
6,0
|
6000
|
9000
|
6,6
|
9,0
|
Таблица 16
Масса
аппаратов типов ТН, ТК
Размеры
в мм
Диаметр
кожуха
|
Давление
в кожухе и трубах Ру, МПа, не более
|
Труба
20×2 длиной
|
Трубы
25×2 длиной
|
1000
|
1500
|
2000
|
3000
|
4000
|
1000
|
1500
|
2000
|
3000
|
4000
|
наружный
|
внутренний
|
Масса
теоретическая, кг
|
159
|
-
|
|
1
ход
|
1,6
|
145
|
170
|
190
|
245
|
-
|
135
|
165
|
185
|
235
|
-
|
2,5
|
175
|
200
|
220
|
275
|
-
|
170
|
190
|
210
|
255
|
-
|
4,0
|
175
|
200
|
220
|
275
|
-
|
170
|
190
|
210
|
255
|
-
|
273
|
-
|
|
1
ход
|
1,6
|
295
|
365
|
435
|
575
|
-
|
275
|
345
|
410
|
535
|
-
|
2,5
|
355
|
425
|
495
|
630
|
-
|
345
|
415
|
475
|
600
|
-
|
4,0
|
430
|
540
|
575
|
710
|
-
|
405
|
470
|
535
|
670
|
-
|
325
|
-
|
|
1
ход
|
1,6
|
-
|
465
|
530
|
665
|
800
|
-
|
435
|
495
|
610
|
720
|
2,5
|
-
|
540
|
605
|
740
|
900
|
-
|
510
|
570
|
690
|
820
|
4,0
|
-
|
650
|
720
|
880
|
990
|
-
|
565
|
680
|
800
|
910
|
|
2
хода
|
1,6
|
-
|
440
|
500
|
620
|
745
|
-
|
415
|
465
|
575
|
680
|
2,5
|
-
|
510
|
570
|
700
|
820
|
-
|
480
|
535
|
645
|
750
|
4,0
|
-
|
605
|
660
|
810
|
950
|
-
|
575
|
625
|
730
|
900
|
|
|
|
|
|
|
|
|
|
|
|
|
|
|
|
|
Продолжение
таблицы 16
Размеры
в мм
Диаметр
кожуха внутренний
|
Давление
в кожухе и трубах Ру, МПа, не более
|
Труба
20×2 длиной
|
Трубы
25×2 длиной
|
2000
|
3000
|
4000
|
6000
|
9000
|
2000
|
3000
|
4000
|
6000
|
9000
|
наружный
|
внутренний
|
Масса
теоретическая, кг
|
426
|
400
|
|
1
ход
|
1,6
|
860
|
1130
|
1430
|
1850
|
-
|
780
|
1030
|
1290
|
1750
|
-
|
2,5
|
980
|
1230
|
1540
|
1960
|
-
|
870
|
1140
|
1400
|
1860
|
-
|
4,0
|
1090
|
1290
|
1780
|
2120
|
-
|
1030
|
1200
|
1480
|
1940
|
-
|
|
2
хода
|
1,6
|
860
|
1130
|
1360
|
1930
|
-
|
790
|
1020
|
1340
|
1660
|
-
|
2,5
|
1020
|
1250
|
1490
|
2020
|
-
|
960
|
1180
|
1380
|
1860
|
-
|
4,0
|
1150
|
1470
|
1660
|
2240
|
-
|
1080
|
1350
|
1510
|
2130
|
-
|
630
|
600
|
|
1
ход
|
1,6
|
1570
|
2030
|
2540
|
3540
|
-
|
1360
|
1840
|
2450
|
3190
|
-
|
2,5
|
1710
|
2250
|
2760
|
3840
|
-
|
1550
|
2020
|
2560
|
3480
|
-
|
4,0
|
2100
|
2670
|
3530
|
4380
|
-
|
1970
|
2470
|
3390
|
3950
|
-
|
|
2
хода
|
1,6
|
1520
|
1920
|
2350
|
3470
|
-
|
1350
|
1820
|
2190
|
2910
|
-
|
2,5
|
1870
|
2400
|
2920
|
3980
|
-
|
1710
|
2190
|
2640
|
3550
|
-
|
4,0
|
2430
|
3000
|
3560
|
4690
|
-
|
2290
|
2800
|
3280
|
4270
|
-
|
|
4
хода
|
1,6
|
1530
|
1880
|
2280
|
3320
|
-
|
1360
|
1780
|
2130
|
2760
|
-
|
2,5
|
1880
|
2360
|
2850
|
3830
|
-
|
1720
|
2150
|
2580
|
3400
|
-
|
4,0
|
2440
|
2960
|
3490
|
4540
|
-
|
2300
|
2760
|
3220
|
4120
|
-
|
Продолжение
таблицы 16
Размеры
в мм
Диаметр кожуха внутренний
|
Давление в кожухе и трубах Ру, МПа, не
более
|
Труба
20×2 длиной
|
Трубы
25×2 длиной
|
2000
|
3000
|
4000
|
6000
|
9000
|
2000
|
3000
|
4000
|
6000
|
9000
|
Масса
теоретическая, кг
|
800
|
|
1
ход
|
1,0
|
2640
|
3570
|
4310
|
6040
|
-
|
2300
|
3160
|
3760
|
5420
|
-
|
1,6
|
2780
|
3640
|
4560
|
6340
|
-
|
2320
|
3280
|
4040
|
5460
|
-
|
2,5
|
3190
|
4150
|
5110
|
7040
|
-
|
2920
|
3730
|
4570
|
6350
|
-
|
4,0
|
3930
|
4970
|
6020
|
8110
|
-
|
3660
|
4600
|
5470
|
7070
|
-
|
|
2
хода
|
1,0
|
2680
|
3510
|
4350
|
6040
|
-
|
2520
|
3240
|
3960
|
5380
|
-
|
1,6
|
2880
|
3760
|
4650
|
6340
|
-
|
2720
|
3450
|
4180
|
5620
|
-
|
2,5
|
3180
|
4160
|
5100
|
7000
|
-
|
2870
|
3680
|
4500
|
6120
|
-
|
4,0
|
4160
|
5110
|
6070
|
8010
|
-
|
4080
|
4740
|
5690
|
7340
|
-
|
|
4
хода
|
1,0
|
2740
|
3510
|
4320
|
5920
|
-
|
2560
|
3260
|
3930
|
5260
|
-
|
1,6
|
2940
|
3790
|
4620
|
6190
|
-
|
2790
|
3470
|
4150
|
5500
|
-
|
2,5
|
3240
|
4160
|
5070
|
6880
|
-
|
2940
|
3700
|
4470
|
6000
|
-
|
4,0
|
4220
|
5140
|
6040
|
7890
|
-
|
4150
|
4760
|
5660
|
7220
|
-
|
1000
|
|
1
ход
|
0,6
|
-
|
5020
|
6490
|
9000
|
12980
|
-
|
4410
|
5460
|
7870
|
11250
|
1,0
|
-
|
5220
|
6560
|
9210
|
13180
|
-
|
4540
|
5770
|
7970
|
11400
|
1,6
|
-
|
5600
|
6790
|
9870
|
13750
|
-
|
4890
|
6160
|
8370
|
12050
|
2,5
|
-
|
6100
|
7570
|
10530
|
15180
|
-
|
5510
|
6790
|
9270
|
13350
|
4,0
|
-
|
7110
|
8940
|
12180
|
-
|
-
|
6780
|
8190
|
11010
|
-
|
|
2
хода
|
0,6
|
-
|
5050
|
6290
|
8770
|
12920
|
-
|
4480
|
5590
|
7810
|
11150
|
1,0
|
-
|
5230
|
6540
|
9180
|
13120
|
-
|
4580
|
5710
|
7970
|
11350
|
1,6
|
-
|
5520
|
6900
|
9660
|
13690
|
-
|
4930
|
6110
|
8370
|
11950
|
2,5
|
-
|
6170
|
7580
|
10390
|
15120
|
-
|
5430
|
6800
|
9120
|
13200
|
4,0
|
-
|
7710
|
9270
|
12380
|
-
|
-
|
7750
|
8950
|
11650
|
-
|
Продолжение
таблицы 16
Размеры
в мм
Диаметр кожуха внутренний
|
Давление в кожухе и трубах Ру, МПа, не
более
|
Труба
20×2 длиной
|
Трубы
25×2 длиной
|
2000
|
3000
|
4000
|
6000
|
9000
|
2000
|
3000
|
4000
|
6000
|
9000
|
Масса
теоретическая, кг
|
1000
|
|
4
хода
|
0,6
|
-
|
5070
|
6250
|
8640
|
12610
|
~
|
4520
|
5570
|
7670
|
10830
|
1,0
|
-
|
5250
|
6500
|
9050
|
12810
|
-
|
4620
|
5690
|
7830
|
11030
|
1,6
|
-
|
5540
|
6860
|
9530
|
13380
|
-
|
4970
|
6090
|
8230
|
11630
|
2,5
|
-
|
6390
|
7540
|
10260
|
14810
|
-
|
5470
|
6780
|
8980
|
12880
|
4,0
|
-
|
7910
|
9490
|
12600
|
-
|
-
|
7450
|
8780
|
11440
|
-
|
1200
|
|
1
ход
|
0,6
|
-
|
-
|
8930
|
12760
|
18560
|
-
|
-
|
7910
|
11190
|
16080
|
1,0
|
-
|
-
|
9180
|
12910
|
18970
|
-
|
-
|
8210
|
11360
|
16280
|
1,6
|
-
|
-
|
9310
|
13100
|
19360
|
-
|
-
|
8460
|
11780
|
16730
|
2,5
|
-
|
-
|
11030
|
15220
|
21890
|
-
|
-
|
9910
|
13590
|
19180
|
|
2
хода
|
0,6
|
-
|
-
|
9030
|
12750
|
18560
|
-
|
-
|
8000
|
11120
|
15850
|
1,0
|
-
|
-
|
9650
|
13360
|
19170
|
-
|
-
|
8350
|
11500
|
16250
|
1,6
|
-
|
-
|
9680
|
13470
|
19310
|
-
|
-
|
8600
|
11770
|
16600
|
2,5
|
-
|
-
|
11450
|
14800
|
21860
|
-
|
-
|
10100
|
13670
|
19100
|
|
4
хода
|
0,6
|
-
|
-
|
9090
|
12660
|
18280
|
-
|
-
|
8040
|
11020
|
15530
|
1,0
|
-
|
-
|
9710
|
13290
|
18890
|
-
|
-
|
8390
|
11400
|
15930
|
1,6
|
-
|
-
|
9740
|
13390
|
19030
|
-
|
-
|
8640
|
11670
|
16280
|
2,5
|
-
|
-
|
11510
|
14720
|
21580
|
-
|
-
|
10140
|
13570
|
18780
|
|
|
|
|
|
|
|
|
|
|
|
|
|
Таблица 17
Масса
аппаратов типов ХК, ХН
Диаметр
кожуха
|
Давление
в кожухе Ру, МПа, не более
|
Трубы
25×2 длиной
|
наружный
|
внутренний
|
1500
|
2000
|
3000
|
4000
|
6000
|
9000
|
Масса
теоретическая, кг
|
сталь
|
латунь
|
сталь
|
латунь
|
сталь
|
латунь
|
сталь
|
латунь
|
сталь
|
латунь
|
сталь
|
латунь
|
1591)
|
-
|
1,6
|
1
ход
|
-
|
200
|
-
|
220
|
-
|
280
|
-
|
-
|
-
|
-
|
-
|
-
|
2731)
|
-
|
1
ход
|
-
|
380
|
-
|
-
|
450
|
-
|
580
|
-
|
-
|
-
|
-
|
-
|
3251)
|
-
|
2
хода
|
-
|
470
|
-
|
530
|
-
|
670
|
-
|
810
|
-
|
-
|
-
|
-
|
4261)
|
400
|
2
хода
|
-
|
-
|
-
|
860
|
-
|
1080
|
-
|
1340
|
|
1780
|
-
|
-
|
630
|
600
|
|
2
хода
|
1,0
|
-
|
-
|
1490
|
1550
|
1910
|
1990
|
2310
|
2420
|
3170
|
3350
|
-
|
-
|
1,6
|
-
|
-
|
1580
|
1640
|
2030
|
2110
|
2440
|
2550
|
3300
|
3420
|
-
|
-
|
2,5
|
-
|
-
|
1610
|
-
|
2170
|
-
|
2680
|
-
|
3540
|
-
|
-
|
-
|
4,0
|
-
|
-
|
1960
|
-
|
2520
|
-
|
2930
|
-
|
3900
|
-
|
-
|
-
|
|
4
хода
|
1,0
|
-
|
-
|
1480
|
1540
|
1870
|
1930
|
2230
|
2320
|
3010
|
3170
|
-
|
-
|
1,6
|
-
|
-
|
1570
|
1630
|
1990
|
2050
|
2360
|
2450
|
3140
|
3240
|
-
|
-
|
2,5
|
-
|
-
|
1600
|
-
|
2130
|
-
|
2600
|
-
|
3380
|
-
|
-
|
-
|
4,0
|
-
|
-
|
1950
|
-
|
2480
|
-
|
2850
|
-
|
3740
|
-
|
-
|
-
|
-
|
800
|
|
2
хода
|
1,0
|
-
|
-
|
2540
|
2580
|
3270
|
3480
|
4000
|
4130
|
5430
|
5530
|
-
|
-
|
1,6
|
-
|
-
|
2720
|
2820
|
3520
|
3590
|
4200
|
4290
|
5890
|
5980
|
-
|
-
|
2,5
|
-
|
-
|
3000
|
-
|
3640
|
-
|
4450
|
-
|
6160
|
-
|
-
|
-
|
4,0
|
-
|
-
|
3420
|
-
|
4240
|
-
|
5100
|
-
|
6720
|
-
|
-
|
-
|
|
4
хода
|
1,0
|
-
|
-
|
2620
|
2630
|
3310
|
3500
|
3990
|
4100
|
5330
|
5400
|
-
|
-
|
1,6
|
-
|
-
|
2800
|
2890
|
3560
|
3610
|
4190
|
4260
|
5790
|
5850
|
-
|
-
|
2,5
|
-
|
-
|
3080
|
-
|
3680
|
-
|
4440
|
-
|
6060
|
-
|
-
|
-
|
4,0
|
-
|
-
|
3500
|
-
|
4280
|
-
|
5090
|
-
|
6620
|
-
|
-
|
-
|
-
|
1000
|
|
2
хода
|
0,6
|
-
|
-
|
-
|
-
|
4630
|
5040
|
5760
|
6210
|
8020
|
8560
|
11400
|
12100
|
1,0
|
-
|
-
|
-
|
-
|
4780
|
5140
|
5910
|
6330
|
8120
|
8720
|
11500
|
12300
|
1,6
|
-
|
-
|
-
|
-
|
4970
|
5310
|
6140
|
6590
|
8370
|
9060
|
11900
|
12800
|
2,5
|
-
|
-
|
-
|
-
|
5280
|
-
|
6490
|
-
|
8870
|
-
|
12500
|
-
|
4,0
|
-
|
-
|
-
|
-
|
5780
|
-
|
7060
|
-
|
9650
|
-
|
-
|
-
|
|
4
хода
|
0,6
|
-
|
-
|
-
|
-
|
4650
|
5050
|
5730
|
6210
|
7870
|
8370
|
11070
|
11720
|
1,0
|
-
|
-
|
-
|
-
|
4880
|
5150
|
5880
|
6330
|
7970
|
8530
|
11170
|
11920
|
1,6
|
-
|
-
|
-
|
-
|
4990
|
5320
|
6110
|
6390
|
8220
|
8870
|
11570
|
12220
|
2,5
|
-
|
-
|
-
|
-
|
5300
|
-
|
6460
|
-
|
8720
|
-
|
12170
|
-
|
4,0
|
-
|
-
|
-
|
-
|
5800
|
-
|
7030
|
-
|
9500
|
-
|
-
|
-
|
-
|
1200
|
|
2
хода
|
0,6
|
-
|
-
|
-
|
-
|
-
|
-
|
8400
|
9130
|
11610
|
12430
|
16500
|
17400
|
1,0
|
-
|
-
|
-
|
-
|
-
|
-
|
8500
|
9300
|
11710
|
12680
|
16600
|
17750
|
1,6
|
-
|
-
|
-
|
-
|
-
|
-
|
9000
|
9640
|
12210
|
13040
|
17100
|
18150
|
2,5
|
-
|
-
|
-
|
-
|
-
|
-
|
9800
|
-
|
13170
|
-
|
18300
|
-
|
|
4
хода
|
0,6
|
-
|
-
|
-
|
-
|
-
|
-
|
8430
|
9130
|
11500
|
12280
|
16180
|
17020
|
1,0
|
-
|
-
|
-
|
-
|
-
|
-
|
8530
|
9300
|
11600
|
12530
|
16280
|
17370
|
1,6
|
-
|
-
|
-
|
-
|
-
|
-
|
9030
|
9670
|
12100
|
12890
|
16780
|
17770
|
2,5
|
-
|
-
|
|
-
|
-
|
-
|
9830
|
-
|
13060
|
-
|
17980
|
-
|
_______________
1) В
качестве аппаратов типов ХН и ХК диаметром кожуха 159, 273, 325, 400 (426) мм
со стальными теплообменными трубами следует применять аппараты типа ТН и ТК.
|
Таблица 18
Масса
аппаратов типов KП, КК
Размеры
в мм
Диаметр
кожуха внутренний
|
Давление
в кожухе Ру, МПа, не более
|
Трубы
25×2 длиной
|
3000
|
4000
|
6000
|
Масса
теоретическая, кг
|
сталь
|
латунь
|
сталь
|
латунь
|
сталь
|
латунь
|
600,
6301)
|
|
2
хода
|
1,0
|
1760
|
1800
|
2200
|
2200
|
2900
|
3000
|
1,6
|
1840
|
1900
|
2240
|
2310
|
3040
|
3130
|
2,5
|
2030
|
-
|
2440
|
-
|
3270
|
-
|
|
4
хода
|
1,0
|
1720
|
1740
|
2120
|
2100
|
2730
|
2810
|
1,6
|
1800
|
1850
|
2160
|
2210
|
2880
|
2950
|
2,5
|
1970
|
-
|
2360
|
-
|
3110
|
-
|
|
6
ходов
|
1,0
|
1760
|
1780
|
2140
|
2120
|
2730
|
2810
|
1,6
|
1840
|
1890
|
2190
|
2230
|
2840
|
2950
|
2,5
|
2010
|
-
|
2390
|
-
|
3110
|
-
|
800
|
|
2
хода
|
1,0
|
3200
|
3220
|
3900
|
3920
|
5170
|
5320
|
1,6
|
3490
|
3640
|
4100
|
4220
|
5670
|
5720
|
2,5
|
3660
|
|
4460
|
-
|
5930
|
|
|
4
хода
|
1,0
|
3180
|
3820
|
3820
|
3830
|
5010
|
5130
|
1,6
|
3420
|
3620
|
4030
|
4130
|
5510
|
5540
|
2,5
|
3640
|
-
|
4390
|
-
|
5770
|
-
|
|
6
ходов
|
1,0
|
3250
|
3250
|
3880
|
3880
|
5040
|
5150
|
1,6
|
3490
|
3690
|
4090
|
4180
|
5540
|
5560
|
2,5
|
3710
|
-
|
4450
|
-
|
5450
|
-
|
1000
|
|
2
хода
|
0,6
|
4600
|
4760
|
5700
|
5900
|
7890
|
8200
|
1,0
|
4750
|
4820
|
5830
|
5980
|
7950
|
8310
|
1,6
|
5080
|
5270
|
6240
|
6460
|
8570
|
8850
|
2,5
|
5380
|
-
|
6570
|
-
|
8920
|
-
|
|
4
хода
|
0,6
|
4610
|
4750
|
5660
|
5830
|
7720
|
8000
|
1,0
|
4760
|
4810
|
5790
|
5910
|
7780
|
8110
|
1,6
|
5090
|
5260
|
6200
|
6390
|
8400
|
8650
|
2,5
|
5390
|
-
|
6530
|
-
|
8750
|
-
|
|
6
ходов
|
0,6
|
4720
|
4850
|
5700
|
5900
|
7750
|
8010
|
1,0
|
4870
|
4910
|
5850
|
5980
|
7810
|
8120
|
1,6
|
5200
|
5360
|
6260
|
6460
|
8430
|
8660
|
2,5
|
5500
|
|
6680
|
-
|
8780
|
-
|
1200
|
|
2
хода
|
0,6
|
-
|
-
|
8200
|
8980
|
10950
|
12070
|
1,0
|
-
|
-
|
8500
|
9270
|
11380
|
12150
|
1,6
|
-
|
-
|
8930
|
9800
|
11770
|
12720
|
2,5
|
-
|
-
|
10040
|
-
|
12870
|
-
|
|
4
хода
|
0,6
|
-
|
-
|
8240
|
8980
|
10850
|
11930
|
1,0
|
-
|
-
|
8540
|
9270
|
11280
|
12010
|
1,6
|
-
|
-
|
8970
|
9700
|
11520
|
12410
|
2,5
|
-
|
-
|
10080
|
-
|
12620
|
-
|
|
6
ходов
|
0,6
|
-
|
-
|
8440
|
9170
|
11000
|
12060
|
1,0
|
-
|
-
|
8740
|
9460
|
11430
|
12140
|
1,6
|
-
|
-
|
9170
|
9890
|
11670
|
12540
|
2,5
|
-
|
-
|
10280
|
-
|
12770
|
-
|
1400
|
|
2
хода
|
0,6
|
-
|
-
|
-
|
-
|
15940
|
16520
|
1,0
|
-
|
-
|
-
|
-
|
16260
|
16800
|
1,6
|
-
|
-
|
-
|
-
|
16830
|
17360
|
2,5
|
-
|
-
|
-
|
-
|
17630
|
-
|
|
4
хода
|
0,6
|
-
|
-
|
-
|
-
|
15870
|
16400
|
1,0
|
-
|
-
|
-
|
-
|
15760
|
16680
|
16
|
-
|
-
|
-
|
-
|
16760
|
17240
|
2,5
|
-
|
-
|
-
|
-
|
17560
|
-
|
|
6
ходов
|
0,6
|
-
|
-
|
-
|
-
|
16100
|
16610
|
1,0
|
-
|
-
|
-
|
-
|
16420
|
16890
|
1,6
|
-
|
-
|
-
|
-
|
16990
|
17450
|
_______________
1) Наружный диаметр
кожуха (при изготовлении из трубы).
|
Таблица 19
Масса
аппаратов типов ИН, ИК
Размеры
в мм
Диаметр
кожуха внутренний
|
Давление
в кожухе Ру, МПа, не более
|
Труба
25×2 длиной
|
2000
|
3000
|
4000
|
Масса
теоретическая, для исполнений, кг
|
1
|
2
|
1
|
2
|
1
|
2
|
600,
6301)
|
1,0
|
1350
|
1330
|
1780
|
1750
|
2210
|
2170
|
1,6
|
1410
|
1810
|
2230
|
2,5
|
1520
|
1990
|
2570
|
4,0
|
1840
|
2340
|
2930
|
800
|
1,0
|
2320
|
2290
|
3230
|
3190
|
3700
|
3650
|
1,6
|
2420
|
3380
|
3880
|
2,5
|
2720
|
3530
|
4340
|
4,0
|
3170
|
4130
|
5100
|
1000
|
0,6
|
3460
|
3420
|
4640
|
4590
|
5810
|
5740
|
1,0
|
3610
|
3530
|
4770
|
4720
|
5920
|
5850
|
1,6
|
3710
|
4840
|
5960
|
2,5
|
3860
|
5240
|
6410
|
4,0
|
4980
|
6090
|
7450
|
1200
|
0,6
|
-
|
6560
|
6490
|
8100
|
8010
|
1,0
|
-
|
6610
|
6540
|
8300
|
8210
|
1,6
|
-
|
6860
|
8500
|
2,5
|
-
|
7410
|
9050
|
1400
|
0,6
|
-
|
8500
|
10500
|
1,0
|
-
|
8630
|
10680
|
1,6
|
-
|
9340
|
11450
|
2,5
|
-
|
11200
|
13200
|
_______________
1) Наружный диаметр кожуха (при изготовлении из
трубы).
|
Примечания
к таблицам 16 - 19.
1 Масса аппаратов рассчитана
для сталей плотностью 7,85 г/см3.
2 Допускаемое отклонение от
значения массы не должно превышать +8 %.
3
Масса аппаратов рассчитана для номинальных толщин теплообменных труб и
листового проката без учета массы устройства для подвешивания распределительных
камер и крышек к ним.
Расположение
отверстий в опорах под фундаментные болты для горизонтальных аппаратов типов
ТН, ТК, ХН, ХК, КН, КК, ИН, ИК

Для опор аппаратов диаметром 800 мм паз в опорной плите
принять 80×30 мм
Черт. 11
Таблица 20
мм
Диаметр
кожуха
|
А2
|
А3
|
наружный
|
внутренний
|
159
|
-
|
-
|
180
|
273
|
-
|
-
|
290
|
325
|
-
|
330
|
400
|
426
|
400
|
450
|
630
|
600
|
450
|
600
|
-
|
800
|
500
|
740
|
-
|
1000
|
650
|
1000
|
-
|
1200
|
800
|
1100
|
-
|
1400
|
950
|
1250
|
Расположение
опор и штуцеров вертикальных аппаратов типов ТН, ТК, ХН, ХК, КН, КК, ИН, ИК

Черт. 12
(Измененная редакция. Изм. № 1, № 3).
Таблица 21
Размеры
в мм
Диаметр
кожуха
|
Давление
в кожухе, МПа
|
Длина
труб, l
|
Количество опор
|
A1
|
R
|
а
|
в
|
lf, не менее
|
наружный
|
внутренний
|
159
|
-
|
1,6;
2,5; 4,0
|
1000;
1500;
|
2
|
322
|
12,0
|
24
|
40
|
30
|
273
|
2000;
3000
|
498
|
35
|
325
|
-
|
1500;
2000;
|
562
|
50
|
3000;
4000
|
426
|
400
|
1,0;
1,6;
|
2000;
3000
|
660
|
55
|
630
|
600
|
2,5;
4,0
|
4000;
6000
|
2 при l ≤ 2000
|
870
|
-
|
800
|
1,0;
1,6;
|
3000
|
1126
|
2,5
|
2000;
4000; 6000
|
1206
|
4,0
|
3000;
4000
|
2000;
6000
|
1294
|
17,5
|
35
|
70
|
-
|
1000
|
0,6;
1,0;
|
3000
|
4 при l > 2000
|
1412
|
21,0
|
42
|
80
|
70
|
1,6;
2,5
|
2000;
4000;
|
1496
|
6000;
9000
|
4,0
|
2000;
3000;
|
4000;
6000
|
-
|
1200
|
0,6;
1,0;
|
3000;
4000; 6000
|
4
|
1704
|
75
|
1,6;
2,5
|
9000
|
1800
|
-
|
1400
|
0,6;
1,0;
|
3000;
4000;
|
1910
|
1,6;
2,5
|
6000
|
2008
|
(Измененная редакция. Изм. № 1, № 3).
Размещение
отверстий под трубы в трубных решетках и перегородках при одном ходе по трубам

Черт.
13
(Измененная редакция. Изм. № 1).
Таблица 22
Размещение
отверстий под трубы в трубных решетках и перегородках при одном ходе по трубам
для аппаратов типов ТН, ТК диаметром кожуха 159 ÷ 1200 мм и аппаратов
типов ХК диаметром кожуха 159, 273 мм
Размеры
в мм
Диаметр
кожуха
|
D0
|
Наружный
диаметр труб
|
2R
|
h2
|
Число
отверстий под трубы в трубных решетках и перегородках, не менее:
|
наружный
|
внутренний
|
по
рядам
|
0
|
1
|
2
|
3
|
4
|
5
|
6
|
7
|
8
|
9
|
10
|
11
|
159
|
-
|
140
|
20
|
139
|
45,0
|
5
|
4
|
3
|
-
|
-
|
-
|
-
|
-
|
-
|
-
|
-
|
-
|
25
|
136
|
27,7
|
3
|
4
|
1
|
-
|
-
|
-
|
-
|
-
|
-
|
-
|
-
|
-
|
273
|
-
|
242
|
20
|
242
|
67,5
|
8
|
9
|
8
|
7
|
6
|
-
|
-
|
-
|
-
|
-
|
-
|
-
|
25
|
233
|
55,4
|
6
|
7
|
6
|
5
|
-
|
-
|
-
|
-
|
-
|
-
|
-
|
-
|
325
|
-
|
295
|
20
|
294
|
67,5
|
10
|
11
|
10
|
9
|
8
|
7
|
-
|
-
|
-
|
-
|
-
|
-
|
25
|
287
|
55,4
|
6
|
9
|
8
|
7
|
4
|
-
|
-
|
-
|
-
|
-
|
-
|
-
|
426
|
400
|
387
|
20
|
384
|
90,0
|
15
|
14
|
13
|
14
|
13
|
12
|
9
|
6
|
-
|
-
|
-
|
-
|
8
|
-
|
-
|
-
|
-
|
25
|
381
|
83,1
|
9
|
12
|
11
|
10
|
9
|
6
|
-
|
-
|
-
|
-
|
-
|
-
|
8
|
630
|
600
|
590
|
20
|
582
|
135,0
|
21
|
22
|
21
|
22
|
21
|
18
|
19
|
18
|
17
|
16
|
11
|
-
|
13
|
8
|
25
|
583
|
138,5
|
17
|
18
|
17
|
16
|
17
|
16
|
15
|
12
|
9
|
-
|
-
|
-
|
11
|
6
|
-
|
800
|
788
|
20
|
786
|
180,0
|
29
|
30
|
29
|
30
|
29
|
28
|
27
|
26
|
27
|
26
|
23
|
22
|
25
|
780
|
193,9
|
23
|
24
|
23
|
24
|
23
|
20
|
21
|
20
|
19
|
18
|
17
|
12
|
14
|
-
|
1000
|
988
|
20
|
983
|
225,0
|
35
|
38
|
37
|
36
|
37
|
36
|
35
|
36
|
33
|
34
|
33
|
32
|
25
|
981
|
221,6
|
29
|
30
|
29
|
30
|
29
|
28
|
29
|
26
|
27
|
26
|
25
|
24
|
-
|
1200
|
1188
|
20
|
1182
|
270,0
|
43
|
44
|
45
|
44
|
45
|
44
|
43
|
44
|
43
|
42
|
39
|
40
|
25
|
1182
|
249,3
|
35
|
36
|
37
|
36
|
35
|
36
|
35
|
34
|
31
|
32
|
|
|
Продолжение
таблицы 22
Размеры
в мм
Диаметр
кожуха
|
Наружный
диаметр труб
|
Число
отверстий под трубы в трубных решетках и перегородках, не менее:
|
наружный
|
внутренний
|
по
рядам
|
12
|
13
|
14
|
15
|
16
|
17
|
18
|
19
|
20
|
21
|
22
|
23
|
общее
в решетке
|
159
|
-
|
20
|
-
|
-
|
-
|
-
|
-
|
-
|
-
|
-
|
-
|
-
|
-
|
-
|
19
|
25
|
-
|
-
|
-
|
-
|
-
|
-
|
-
|
-
|
-
|
-
|
-
|
-
|
13
|
273
|
-
|
20
|
-
|
-
|
-
|
-
|
-
|
-
|
-
|
-
|
-
|
-
|
-
|
-
|
68
|
25
|
-
|
-
|
-
|
-
|
-
|
-
|
-
|
-
|
-
|
-
|
-
|
-
|
42
|
325
|
-
|
20
|
-
|
-
|
-
|
-
|
-
|
-
|
-
|
-
|
-
|
-
|
-
|
-
|
100
|
25
|
-
|
-
|
-
|
-
|
-
|
-
|
-
|
-
|
-
|
-
|
-
|
-
|
62
|
426
|
400
|
20
|
-
|
-
|
-
|
-
|
-
|
-
|
-
|
-
|
-
|
-
|
-
|
-
|
179
|
25
|
-
|
-
|
-
|
-
|
-
|
-
|
-
|
-
|
-
|
-
|
-
|
-
|
107
|
630
|
600
|
20
|
-
|
-
|
-
|
-
|
-
|
-
|
-
|
-
|
-
|
-
|
-
|
-
|
401
|
25
|
-
|
-
|
-
|
-
|
-
|
-
|
-
|
-
|
-
|
-
|
-
|
-
|
265
|
-
|
800
|
20
|
21
|
20
|
15
|
-
|
-
|
-
|
-
|
-
|
-
|
-
|
-
|
-
|
749
|
17
|
12
|
25
|
-
|
-
|
-
|
-
|
-
|
-
|
-
|
-
|
-
|
-
|
-
|
-
|
474
|
7
|
-
|
1000
|
20
|
31
|
30
|
29
|
26
|
25
|
22
|
19
|
-
|
-
|
-
|
-
|
-
|
1189
|
21
|
14
|
25
|
21
|
20
|
15
|
-
|
-
|
-
|
-
|
-
|
-
|
-
|
-
|
-
|
770
|
17
|
14
|
7
|
-
|
1200
|
20
|
39
|
38
|
37
|
36
|
35
|
34
|
33
|
30
|
29
|
26
|
19
|
-
|
1721
|
23
|
16
|
25
|
29
|
28
|
27
|
26
|
23
|
18
|
-
|
-
|
-
|
-
|
-
|
-
|
1114
|
22
|
17
|
10
|
Примечание.
Дробные значения означают: верхнее - число труб со стороны входа продукта в
межтрубное пространство, нижнее - число труб со стороны выхода продукта из
межтрубного пространства.
|
(Измененная редакция. Изм. № 1, № 3).
Размещение
отверстий под трубы в трубных решетках и перегородках при двух ходах по трубам
для аппаратов типов ТН, ТК, ХН, ХК

Черт. 14
Таблица 23
Размещение
отверстий под трубы в трубных решетках и перегородках при двух ходах по трубам
для аппаратов типов ТН, ТК, ХН, ХК
Размеры
в мм
Диаметр
кожуха
|
D0
|
Наружный
диаметр труб
|
2R
|
h2
|
Сектор
|
Число
отверстий под трубы в трубных решетках и перегородках, не менее:
|
наружный
|
внутренний
|
по
рядам
|
1
|
2
|
3
|
4
|
5
|
6
|
7
|
8
|
9
|
10
|
11
|
12
|
13
|
325
|
-
|
295
|
20
|
294
|
67,5
|
А
|
11
|
10
|
9
|
8
|
7
|
-
|
-
|
-
|
-
|
-
|
-
|
-
|
-
|
Б
|
25
|
287
|
55,4
|
А
|
9
|
8
|
7
|
4
|
-
|
-
|
-
|
-
|
-
|
-
|
-
|
-
|
-
|
Б
|
426
|
400
|
387
|
20
|
384
|
90,0
|
А
|
14
|
13
|
14
|
13
|
12
|
9
|
6
8
|
-
|
-
|
-
|
-
|
-
|
-
|
Б
|
25
|
381
|
83,1
|
А
|
12
|
11
|
10
|
9
|
6
8
|
-
|
-
|
-
|
-
|
-
|
-
|
-
|
-
|
Б
|
630
|
600
|
590
|
20
|
582
|
135,0
|
А
|
22
|
21
|
22
|
21
|
18
|
19
|
18
|
17
|
16
|
11
13
|
-
8
|
-
-
|
-
-
|
Б
|
25
|
583
|
138,5
|
А
|
18
|
17
|
16
|
17
|
16
|
15
|
12
|
9
11
|
-
6
|
-
-
|
-
-
|
-
-
|
-
-
|
Б
|
-
|
800
|
788
|
20
|
786
|
180,0
|
А
|
30
|
29
|
30
|
29
|
28
|
27
|
26
|
27
|
26
|
23
|
22
|
21
|
20
|
Б
|
25
|
780
|
193,9
|
А
|
24
|
23
|
24
|
23
|
20
|
21
|
20
|
19
|
18
|
17
|
12
14
|
-
7
|
-
-
|
Б
|
-
|
1000
|
988
|
20
|
983
|
225,0
|
А
|
38
|
37
|
36
|
37
|
36
|
35
|
36
|
33
|
34
|
33
|
32
|
31
|
30
|
Б
|
25
|
981
|
221,6
|
А
|
30
|
29
|
30
|
29
|
28
|
29
|
26
|
27
|
26
|
25
|
24
|
21
|
20
|
Б
|
-
|
1200
|
1188
|
20
|
1182
|
270,0
|
А
|
44
|
45
|
44
|
45
|
44
|
43
|
44
|
43
|
42
|
39
|
40
|
39
|
38
|
Б
|
25
|
1182
|
249,3
|
А
|
36
|
37
|
36
|
35
|
36
|
35
|
34
|
31
|
32
|
31
|
30
|
29
|
2S
|
Б
|
Продолжение
таблицы 23
Размеры
в мм
Диаметр
кожуха
|
Наружный
диаметр труб
|
Сектор
|
Число
отверстий под трубы в трубных решетках и перегородках, не менее
|
наружный
|
внутренний
|
по
рядам
|
общее
|
14
|
15
|
16
|
17
|
18
|
19
|
20
|
21
|
22
|
23
|
в
секторе
|
в
решетке
|
325
|
-
|
20
|
А
|
-
|
-
|
-
|
-
|
-
|
-
|
-
|
-
|
-
|
-
|
45
|
90
|
Б
|
25
|
А
|
-
|
-
|
-
|
-
|
-
|
-
|
-
|
-
|
-
|
-
|
28
|
56
|
Б
|
426
|
-
|
20
|
А
|
-
|
-
|
-
|
-
|
-
|
-
|
-
|
-
|
-
|
-
|
81
|
164
|
Б
|
83
|
25
|
А
|
-
|
-
|
-
|
-
|
-
|
-
|
-
|
-
|
-
|
-
|
48
|
98
|
Б
|
50
|
630
|
600
|
20
|
А
|
-
|
-
|
-
|
-
|
-
|
-
|
-
|
-
|
-
|
-
|
185
|
380
|
Б
|
-
|
-
|
-
|
-
|
-
|
-
|
-
|
-
|
-
|
-
|
195
|
25
|
А
|
-
|
-
|
-
|
-
|
-
|
-
|
-
|
-
|
-
|
-
|
120
|
248
|
Б
|
-
|
-
|
-
|
-
|
-
|
-
|
-
|
-
|
-
|
-
|
128
|
-
|
800
|
20
|
А
|
15
|
-
|
-
|
-
|
-
|
-
|
-
|
-
|
-
|
-
|
353
|
720
|
Б
|
17
|
12
|
-
|
-
|
-
|
-
|
-
|
-
|
-
|
-
|
367
|
25
|
А
|
-
|
-
|
-
|
-
|
-
|
-
|
-
|
-
|
-
|
-
|
221
|
451
|
Б
|
-
|
-
|
-
|
-
|
-
|
-
|
-
|
-
|
-
|
-
|
230
|
-
|
1000
|
20
|
А
|
29
|
26
|
25
|
22
|
19
|
-
|
-
|
-
|
-
|
-
|
569
|
1154
|
Б
|
21
|
14
|
-
|
-
|
-
|
-
|
585
|
25
|
А
|
15
|
-
|
-
|
-
|
-
|
-
|
-
|
-
|
-
|
-
|
359
|
743
|
Б
|
17
|
14
|
7
|
-
|
-
|
-
|
-
|
-
|
-
|
-
|
382
|
-
|
1200
|
20
|
А
|
37
|
36
|
35
|
34
|
33
|
30
|
29
|
26
|
19
|
-
|
829
|
1678
|
Б
|
23
|
16
|
849
|
25
|
А
|
27
|
26
|
23
|
18
|
-
|
-
|
-
|
-
|
-
|
-
|
524
|
1079
|
Б
|
22
|
17
|
10
|
-
|
-
|
-
|
-
|
555
|
Размещение
отверстий под трубы в трубных решетках и перегородках при четырех ходах по
трубам для аппаратов типов ТН, ТК, ХН, ХК

Черт. 15
Таблица 24
Размещение
отверстий под трубы в трубных решетках и перегородках при четырех ходах по
трубам для аппаратов типов ТН, ТК, ХН, ХК
Размеры
в мм
Внутренний
диаметр кожуха
|
D0
|
Наружный
диаметр труб
|
2R
|
h1
|
h2
|
Сектор
|
Число
отверстий под трубы в трубных решетках и перегородках, не менее
|
1
|
2
|
3
|
4
|
5
|
6
|
7
|
8
|
9
|
10
|
11
|
12
|
13
|
600,
6301)
|
590
|
20
|
582
|
112,5
|
135,0
|
А
|
-
|
-
|
-
|
-
|
-
|
19
|
18
|
17
|
16
|
11
|
-
|
-
|
-
|
Б
|
22
|
21
|
22
|
21
|
-
|
-
|
-
|
-
|
-
|
-
|
-
|
-
|
-
|
В
|
-
|
-
|
-
|
-
|
-
|
19
|
18
|
17
|
16
|
13
|
8
|
-
|
-
|
25
|
583
|
110,8
|
138,5
|
А
|
-
|
-
|
-
|
-
|
16
|
15
|
12
|
9
|
-
|
-
|
-
|
-
|
-
|
Б
|
18
|
17
|
16
|
-
|
-
|
-
|
-
|
-
|
-
|
-
|
-
|
-
|
-
|
В
|
-
|
-
|
-
|
-
|
16
|
15
|
12
|
11
|
6
|
-
|
-
|
-
|
-
|
800
|
788
|
20
|
786
|
157,5
|
180,0
|
А
|
-
|
-
|
-
|
-
|
-
|
-
|
-
|
27
|
26
|
23
|
22
|
21
|
20
|
Б
|
30
|
29
|
30
|
29
|
28
|
27
|
-
|
-
|
-
|
-
|
-
|
-
|
-
|
В
|
-
|
-
|
-
|
-
|
-
|
-
|
-
|
27
|
26
|
23
|
22
|
21
|
20
|
25
|
780
|
138,5
|
193,9
|
А
|
-
|
-
|
-
|
-
|
-
|
21
|
20
|
19
|
18
|
17
|
12
|
-
|
-
|
Б
|
24
|
23
|
24
|
23
|
-
|
-
|
-
|
-
|
-
|
-
|
-
|
-
|
-
|
В
|
-
|
-
|
-
|
-
|
-
|
21
|
20
|
19
|
18
|
17
|
14
|
7
|
-
|
1000
|
988
|
20
|
983
|
180,0
|
225,0
|
А
|
-
|
-
|
-
|
-
|
-
|
-
|
-
|
-
|
34
|
33
|
32
|
31
|
30
|
Б
|
38
|
37
|
36
|
37
|
36
|
35
|
36
|
-
|
-
|
-
|
-
|
-
|
-
|
В
|
-
|
-
|
-
|
-
|
-
|
-
|
-
|
-
|
34
|
33
|
32
|
31
|
30
|
25
|
981
|
193,9
|
221,6
|
А
|
|
|
|
|
|
-
|
-
|
27
|
26
|
25
|
24
|
21
|
20
|
Б
|
30
|
29
|
30
|
29
|
28
|
29
|
-
|
-
|
-
|
-
|
-
|
-
|
-
|
В
|
-
|
-
|
-
|
-
|
-
|
-
|
-
|
27
|
26
|
25
|
24
|
21
|
20
|
1200
|
1188
|
20
|
1182
|
225,0
|
270,0
|
А
|
-
|
-
|
-
|
-
|
-
|
-
|
-
|
-
|
-
|
-
|
40
|
39
|
38
|
Б
|
44
|
45
|
44
|
45
|
44
|
43
|
44
|
43
|
42
|
-
|
-
|
-
|
-
|
В
|
-
|
-
|
-
|
-
|
-
|
-
|
-
|
-
|
-
|
-
|
40
|
39
|
38
|
25
|
1182
|
221,6
|
259,3
|
А
|
-
|
-
|
-
|
-
|
-
|
-
|
-
|
-
|
32
|
31
|
30
|
29
|
28
|
Б
|
36
|
37
|
36
|
35
|
36
|
35
|
34
|
-
|
-
|
-
|
-
|
-
|
-
|
В
|
-
|
-
|
-
|
-
|
-
|
-
|
-
|
-
|
32
|
31
|
30
|
29
|
28
|
Продолжение
таблицы 24
Размеры
в мм
Внутренний
диаметр кожуха
|
Наружный диаметр труб
|
Сектор
|
Число
отверстий под трубы в трубных решетках и перегородках, не менее:
|
по
рядам
|
общее
|
14
|
15
|
16
|
17
|
18
|
19
|
20
|
21
|
22
|
23
|
в
секторе
|
в
решетке
|
600,
6301)
|
20
|
А
|
-
|
-
|
-
|
-
|
-
|
-
|
-
|
-
|
-
|
-
|
81
|
344
|
Б
|
-
|
-
|
-
|
-
|
-
|
-
|
-
|
-
|
-
|
-
|
86
|
В
|
-
|
-
|
-
|
-
|
-
|
-
|
-
|
-
|
-
|
-
|
91
|
25
|
А
|
-
|
-
|
-
|
-
|
-
|
-
|
-
|
-
|
-
|
-
|
52
|
214
|
Б
|
-
|
-
|
-
|
-
|
-
|
-
|
-
|
-
|
-
|
-
|
51
|
В
|
-
|
-
|
-
|
-
|
-
|
-
|
-
|
-
|
-
|
-
|
60
|
800
|
20
|
А
|
15
|
-
|
-
|
-
|
-
|
-
|
-
|
-
|
-
|
-
|
154
|
668
|
Б
|
-
|
-
|
-
|
-
|
-
|
-
|
-
|
-
|
-
|
-
|
173
|
В
|
17
|
12
|
-
|
-
|
-
|
-
|
-
|
-
|
-
|
-
|
168
|
25
|
А
|
-
|
-
|
-
|
-
|
-
|
-
|
-
|
-
|
-
|
-
|
107
|
411
|
Б
|
-
|
-
|
-
|
-
|
-
|
-
|
-
|
-
|
-
|
-
|
94
|
В
|
-
|
-
|
-
|
-
|
-
|
-
|
-
|
-
|
-
|
-
|
116
|
1000
|
20
|
А
|
29
|
26
|
25
|
22
|
19
|
|
|
|
|
|
281
|
1088
|
Б
|
-
|
-
|
-
|
-
|
-
|
-
|
-
|
-
|
-
|
-
|
255
|
В
|
29
|
26
|
25
|
22
|
21
|
14
|
-
|
-
|
-
|
-
|
297
|
25
|
А
|
15
|
-
|
-
|
-
|
-
|
-
|
-
|
-
|
-
|
-
|
158
|
689
|
Б
|
-
|
-
|
-
|
-
|
-
|
-
|
-
|
-
|
-
|
-
|
175
|
В
|
17
|
14
|
7
|
-
|
-
|
-
|
-
|
-
|
-
|
-
|
181
|
1200
|
20
|
А
|
37
|
36
|
35
|
34
|
33
|
30
|
29
|
26
|
19
|
-
|
396
|
|
Б
|
-
|
-
|
-
|
-
|
-
|
-
|
-
|
-
|
-
|
-
|
394
|
1600
|
В
|
37
|
36
|
35
|
34
|
33
|
30
|
29
|
26
|
23
|
16
|
416
|
|
25
|
А
|
27
|
26
|
23
|
18
|
-
|
-
|
-
|
-
|
-
|
-
|
244
|
|
Б
|
-
|
-
|
-
|
-
|
-
|
-
|
-
|
-
|
-
|
-
|
249
|
1017
|
В
|
27
|
26
|
23
|
22
|
17
|
10
|
-
|
-
|
-
|
-
|
275
|
|
______________
1) Наружный диаметр кожуха (при изготовлении из трубы).
|
Примечание к таблицам 22
- 24. Наружный диаметр труб 20 мм
применять только для аппаратов типов ТН, ТК.
Размещение
отверстий под трубы в трубных решетках и перегородках при двух ходах по трубам
для аппаратов типов КН, КК

Черт. 16
Таблица 25
Размещение
отверстий под трубы в трубных решетках и перегородках при двух ходах по трубам
для аппаратов типов КН, КК
Размеры
в мм
Внутренний
диаметр кожуха
|
Давление
в кожухе Ру, МПа, не более
|
Наружный
диаметр труб
|
D0
|
2R
|
Сектор
|
Число
отверстий под трубы в трубных решетках и перегородках, не менее
|
по
рядам
|
1
|
2
|
3
|
4
|
5
|
6
|
7
|
8
|
9
|
10
|
11
|
12
|
13
|
600
6301)
|
1,0;
1,6
|
25
|
590
|
583
|
А
|
18
|
17
|
16
|
17
|
16
|
15
|
10
|
-
|
-
|
-
|
-
|
-
|
-
|
Б
|
12
|
11
|
6
|
-
|
-
|
-
|
-
|
2,5
|
А
|
18
|
17
|
16
|
17
|
16
|
15
|
12
|
9
|
-
|
-
|
-
|
-
|
-
|
Б
|
11
|
6
|
-
|
-
|
-
|
-
|
800
|
1,0
|
788
|
780
|
А
|
24
|
23
|
24
|
23
|
20
|
21
|
20
|
19
|
18
|
15
|
-
|
-
|
-
|
Б
|
17
|
14
|
7
|
-
|
1,6;
2,5
|
А
|
24
|
23
|
24
|
23
|
20
|
21
|
20
|
19
|
18
|
17
|
12
|
-
|
-
|
Б
|
14
|
7
|
-
|
1000
|
0,6;
1,0;
|
988
|
981
|
А
|
30
|
29
|
30
|
29
|
28
|
29
|
26
|
27
|
26
|
25
|
24
|
21
|
20
|
1,6;
2,5
|
Б
|
1200
|
0,6;
1,0
|
1188
|
1182
|
А
|
36
|
37
|
36
|
35
|
36
|
35
|
34
|
31
|
32
|
31
|
30,
|
29
|
28
|
Б
|
1,6;
2.5
|
А
|
36
|
37
|
36
|
35
|
36
|
35
|
34
|
31
|
32
|
31
|
30
|
29
|
28
|
Б
|
1400
|
0,6;
1,0
|
1386
|
1380
|
А
|
42
|
43
|
42
|
41
|
42
|
41
|
40
|
41
|
40
|
37
|
38
|
37
|
36
|
Б
|
1,6,
2,5
|
А
|
42
|
43
|
42
|
41
|
42
|
41
|
40
|
41
|
40
|
37
|
38
|
37
|
36
|
Продолжение
таблицы 25
Размеры
в мм
Внутренний
диаметр кожуха
|
Давление
в кожухе Ру, МПа, не более
|
Наружный
диаметр труб
|
Число
отверстий под трубы в трубных решетках и перегородках, не менее:
|
по рядам
|
общее
|
14
|
15
|
16
|
17
|
18
|
19
|
20
|
21
|
22
|
в секторе
|
в решетке
|
1,0, 1,6
|
25
|
А
|
-
|
-
|
-
|
-
|
-
|
-
|
-
|
-
|
-
|
109
|
237
|
Б
|
128
|
2,5
|
А
|
-
|
-
|
-
|
-
|
-
|
-
|
-
|
-
|
-
|
120
|
248
|
Б
|
128
|
1,0
|
А
|
-
|
-
|
-
|
-
|
-
|
-
|
-
|
-
|
-
|
207
|
437
|
Б
|
230
|
1,6; 2,5
|
А
|
-
|
-
|
-
|
-
|
-
|
-
|
-
|
-
|
-
|
221
|
451
|
Б
|
17
|
12
|
230
|
0,6; 1,0;
|
А
|
15
|
-
|
-
|
-
|
-
|
-
|
-
|
-
|
-
|
359
|
741
|
1,6; 2,5
|
Б
|
17
|
14
|
7
|
382
|
0,6; 1,0
|
А
|
27
|
26
|
21
|
-
|
-
|
-
|
-
|
-
|
-
|
504
|
1059
|
Б
|
23
|
22
|
17
|
10
|
555
|
1,6; 2,5
|
А
|
27
|
26
|
23
|
18
|
-
|
-
|
-
|
-
|
-
|
524
|
1079
|
Б
|
22
|
17
|
10
|
555
|
|
А
|
35
|
34
|
33
|
30
|
29
|
26
|
23
|
-
|
-
|
730
|
1499
|
0,6; 1,0
|
Б
|
25
|
22
|
15
|
769
|
1,6; 2,5
|
А
|
35
|
34
|
33
|
30
|
29
|
26
|
25
|
20
|
-
|
752
|
1521
|
Б
|
22
|
15
|
769
|
_____________
1) Наружный диаметр
кожуха (при изготовлении из трубы)
|
Размещение
отверстий под труды в трубных решетках и перегородках при четырех ходах по
трубам для аппаратов типов КН, КК

Черт. 17
Таблица 26
Размещение
отверстий под трубы в трубных решетках и перегородках при четырех ходах по
трубам для аппаратов типов КН, КК
Размеры
в мм
Внутренний
диаметр кожуха
|
Давление
в кожухе Ру, МПа, не более
|
Наружный
диаметр труб
|
D0
|
2R
|
h1
|
Сектор
|
Число
отверстий под трубы в трубных решетках и перегородках, не менее:
|
по
рядам
|
1
|
2
|
3
|
4
|
5
|
6
|
7
|
8
|
9
|
10
|
11
|
600;
6301)
|
1,0;
1,6
|
25
|
590
|
583
|
110,8
|
А
|
-
|
-
|
-
|
-
|
16
|
15
|
10
|
-
|
-
|
-
|
-
|
Б
|
18
|
17
|
16
|
-
|
-
|
-
|
-
|
-
|
-
|
-
|
-
|
В
|
-
|
-
|
-
|
-
|
16
|
15
|
12
|
11
|
6
|
-
|
-
|
2,5
|
А
|
-
|
-
|
-
|
-
|
16
|
15
|
12
|
9
|
-
|
-
|
-
|
Б
|
18
|
17
|
16
|
-
|
-
|
-
|
-
|
-
|
-
|
-
|
-
|
В
|
-
|
-
|
-
|
-
|
16
|
15
|
12
|
11
|
6
|
-
|
-
|
800
|
1,0
|
788
|
780
|
138,5
|
А
|
-
|
-
|
-
|
-
|
-
|
21
|
20
|
19
|
18
|
15
|
-
|
Б
|
24
|
23
|
24
|
23
|
-
|
-
|
-
|
-
|
-
|
-
|
-
|
В
|
-
|
-
|
-
|
-
|
-
|
21
|
20
|
19
|
18
|
17
|
14
|
1,6;
2.5
|
А
|
-
|
-
|
-
|
-
|
-
|
21
|
20
|
19
|
18
|
17
|
12
|
Б
|
24
|
23
|
24
|
23
|
-
|
-
|
-
|
-
|
-
|
-
|
-
|
В
|
-
|
-
|
-
|
-
|
-
|
21
|
20
|
19
|
18
|
17
|
14
|
1000
|
0,6;
1,0; 1,6; 2,5
|
988
|
981
|
193,9
|
А
|
-
|
-
|
-
|
-
|
-
|
-
|
-
|
27
|
26
|
25
|
24
|
Б
|
30
|
29
|
30
|
29
|
28
|
29
|
-
|
-
|
-
|
-
|
-
|
В
|
-
|
-
|
-
|
-
|
-
|
-
|
-
|
27
|
26
|
25
|
24
|
1200
|
0,6;
1,0
|
25
|
1188
|
1182
|
221,6
|
А
|
-
|
-
|
-
|
-
|
-
|
-
|
-
|
-
|
32
|
31
|
30
|
Б
|
36
|
37
|
36
|
35
|
36
|
35
|
34
|
-
|
-
|
-
|
-
|
В
|
-
|
-
|
-
|
-
|
-
|
-
|
-
|
-
|
32
|
31
|
30
|
1,6;
2,5
|
А
|
-
|
-
|
-
|
-
|
-
|
-
|
-
|
-
|
32
|
31
|
30
|
Б
|
36
|
37
|
36
|
35
|
36
|
35
|
34
|
-
|
-
|
-
|
-
|
В
|
-
|
-
|
-
|
-
|
-
|
-
|
-
|
-
|
32
|
31
|
30
|
1400
|
0,6;
1,0
|
1386
|
1380
|
277,0
|
А
|
-
|
-
|
-
|
-
|
-
|
-
|
-
|
-
|
-
|
-
|
38
|
Б
|
42
|
43
|
42
|
41
|
42
|
41
|
40
|
41
|
40
|
-
|
-
|
В
|
-
|
-
|
-
|
-
|
-
|
-
|
-
|
-
|
-
|
-
|
38
|
1,6;
2,5
|
А
|
-
|
-
|
-
|
-
|
-
|
-
|
-
|
-
|
-
|
-
|
38
|
Б
|
42
|
43
|
42
|
41
|
42
|
41
|
40
|
41
|
40
|
-
|
-
|
В
|
-
|
-
|
-
|
-
|
-
|
-
|
-
|
-
|
-
|
-
|
38
|
Продолжение
табл. 26
Размеры
в мм
Внутренний
диаметр кожуха
|
Давление
в кожухе Ру, МПа, не более
|
Наружный
диаметр труб
|
Сектор
|
Число
отверстий под трубы в трубных решетках и перегородках, не менее:
|
по
рядам
|
общее
|
12
|
13
|
14
|
15
|
16
|
в
секторе
|
в
решетке
|
600;
6301)
|
1,0;
1,6
|
25
|
А
|
-
|
-
|
-
|
-
|
-
|
41
|
203
|
Б
|
-
|
-
|
-
|
-
|
-
|
51
|
В
|
-
|
-
|
-
|
-
|
-
|
60
|
2,5
|
А
|
-
|
-
|
-
|
-
|
-
|
52
|
214
|
Б
|
-
|
-
|
-
|
-
|
-
|
51
|
В
|
-
|
-
|
-
|
-
|
-
|
60
|
800
|
1,0
|
А
|
-
|
-
|
-
|
-
|
-
|
93
|
397
|
Б
|
-
|
-
|
-
|
-
|
-
|
94
|
В
|
7
|
-
|
-
|
-
|
-
|
109
|
1,6;
2,5
|
А
|
-
|
-
|
-
|
-
|
-
|
107
|
411
|
Б
|
-
|
-
|
-
|
-
|
-
|
94
|
В
|
7
|
-
|
-
|
-
|
-
|
116
|
1000
|
0,6;
1,0; 1,6; 2,5
|
А
|
21
|
20
|
15
|
-
|
-
|
158
|
689
|
Б
|
-
|
-
|
-
|
-
|
-
|
175
|
В
|
21
|
20
|
17
|
14
|
7
|
181
|
Продолжение
таблицы 26
Размеры
в мм
Внутренний
диаметр кожуха
|
Давление
в кожухе Ру, МПа, не более
|
Наружный
диаметр труб
|
Сектор
|
Число
отверстия под трубы в трубных решетках и перегородках, не менее
|
по
рядам
|
общее
|
12
|
13
|
14
|
15
|
16
|
17
|
18
|
19
|
20
|
21
|
22
|
в
секторе
|
в
решетке
|
1200
|
0,6; 1,0
|
25
|
А
|
29
|
28
|
27
|
26
|
21
|
-
|
-
|
-
|
-
|
-
|
-
|
224
|
997
|
Б
|
-
|
-
|
-
|
-
|
-
|
-
|
-
|
-
|
-
|
-
|
-
|
249
|
В
|
29
|
28
|
27
|
26
|
23
|
22
|
17
|
10
|
-
|
-
|
-
|
275
|
1,6; 2,5
|
А
|
29
|
28
|
27
|
26
|
23
|
18
|
-
|
-
|
-
|
-
|
-
|
244
|
1017
|
Б
|
-
|
-
|
-
|
-
|
-
|
-
|
-
|
-
|
-
|
-
|
-
|
249
|
В
|
29
|
28
|
27
|
26
|
23
|
22
|
17
|
10
|
-
|
-
|
-
|
275
|
1400
|
0,6; 1,0
|
А
|
37
|
36
|
35
|
34
|
33
|
30
|
29
|
26
|
23
|
-
|
-
|
321
|
1425
|
Б
|
-
|
-
|
-
|
-
|
-
|
-
|
-
|
-
|
-
|
-
|
-
|
372
|
В
|
37
|
36
|
35
|
34
|
33
|
30
|
29
|
26
|
25
|
22
|
15
|
360
|
1,6; 2,5
|
А
|
37
|
36
|
35
|
34
|
33
|
30
|
29
|
26
|
25
|
20
|
-
|
343
|
1447
|
Б
|
-
|
-
|
-
|
-
|
-
|
-
|
-
|
-
|
-
|
-
|
-
|
372
|
В
|
37
|
36
|
35
|
34
|
33
|
30
|
29
|
26
|
25
|
22
|
15
|
360
|
______________
1) Наружный диаметр кожуха (при изготовлении из трубы).
|
Размещение
отверстий под трубы в трубных решетках и перегородках при шести ходах по трубам
для аппаратов типов КН, КК

Черт. 18
Таблица 27
Размещение
отверстий под трубы в трубных решетках и перегородках при шести ходах по трубам
для
аппаратов типов КН , КК
Размеры
в мм
Внутренний
диаметр кожуха
|
Давление
в кожухе Ру, МПа, не более
|
Наружный
диаметр труб
|
D0
|
2R
|
h1
|
Сектор
|
Число
отверстий под трубы в трубных решетках и перегородках, не менее:
|
по
рядам
|
1
|
2
|
3
|
4
|
5
|
6
|
7
|
8
|
9
|
10
|
11
|
600;
6301)
|
1,0;
1,6
|
25
|
590
|
583
|
138,5
|
А
|
-
|
-
|
-
|
-
|
-
|
15
|
10
|
-
|
-
|
-
|
-
|
Б
|
8
|
8
|
7
|
8
|
-
|
-
|
-
|
-
|
-
|
-
|
-
|
В
|
-
|
-
|
-
|
-
|
-
|
15
|
12
|
11
|
6
|
-
|
-
|
2,5
|
А
|
-
|
-
|
-
|
-
|
-
|
15
|
12
|
9
|
-
|
-
|
-
|
Б
|
8
|
8
|
7
|
8
|
-
|
-
|
-
|
-
|
-
|
-
|
-
|
В
|
-
|
-
|
-
|
-
|
-
|
15
|
12
|
11
|
6
|
-
|
-
|
800
|
1,0
|
788
|
780
|
193,9
|
А
|
-
|
-
|
-
|
-
|
-
|
-
|
-
|
19
|
18
|
15
|
-
|
Б
|
11
|
11
|
11
|
11
|
10
|
10
|
-
|
-
|
-
|
-
|
-
|
В
|
-
|
-
|
-
|
-
|
-
|
-
|
-
|
19
|
18
|
17
|
14
|
1,6;
2,5
|
А
|
-
|
-
|
-
|
-
|
-
|
-
|
-
|
19
|
18
|
17
|
12
|
Б
|
11
|
11
|
11
|
11
|
10
|
10
|
-
|
-
|
-
|
-
|
-
|
В
|
-
|
-
|
-
|
-
|
-
|
-
|
-
|
19
|
18
|
17
|
14
|
1000
|
0,6;
1,0; 1,6; 2,5
|
988
|
981
|
249,3
|
А
|
-
|
-
|
-
|
-
|
-
|
-
|
-
|
-
|
-
|
25
|
24
|
Б
|
14
|
14
|
14
|
14
|
13
|
14
|
12
|
13
|
-
|
-
|
-
|
В
|
-
|
-
|
-
|
-
|
-
|
-
|
-
|
-
|
-
|
25
|
24
|
1200
|
0,6;
1,0
|
25
|
1188
|
1182
|
304,7
|
А
|
-
|
-
|
-
|
-
|
-
|
-
|
-
|
-
|
-
|
-
|
-
|
Б
|
17
|
18
|
17
|
17
|
17
|
17
|
16
|
16
|
15
|
15
|
-
|
В
|
-
|
-
|
-
|
-
|
-
|
-
|
-
|
-
|
-
|
-
|
-
|
1,6;
2,5
|
А
|
-
|
-
|
-
|
-
|
-
|
-
|
-
|
-
|
-
|
-
|
-
|
Б
|
17
|
18
|
17
|
17
|
17
|
17
|
16
|
16
|
15
|
15
|
-
|
В
|
-
|
-
|
-
|
-
|
-
|
-
|
-
|
-
|
-
|
-
|
-
|
1400
|
0,6;
1,0
|
1386
|
1380
|
360,1
|
А
|
-
|
-
|
-
|
-
|
-
|
-
|
-
|
-
|
-
|
-
|
-
|
Б
|
20
|
21
|
20
|
20
|
20
|
20
|
19
|
20
|
19
|
19
|
18
|
В
|
-
|
-
|
-
|
-
|
-
|
-
|
-
|
-
|
-
|
-
|
-
|
1,6;
2,5
|
А
|
-
|
-
|
-
|
-
|
-
|
-
|
-
|
-
|
-
|
-
|
-
|
Б
|
20
|
21
|
20
|
20
|
20
|
20
|
19
|
20
|
19
|
19
|
18
|
В
|
-
|
-
|
-
|
-
|
-
|
-
|
-
|
-
|
-
|
-
|
-
|
Продолжение
таблицы 27
Размеры
в мм
Внутренний
диаметр кожуха
|
Давление
в кожухе Ру, МПа, не более
|
Наружный
диаметр труб
|
Сектор
|
Число
отверстий под трубы в трубных решетках и перегородках, не менее:
|
по
рядам
|
общее
|
12
|
13
|
14
|
15
|
16
|
в
секторе
|
в
решетке
|
600;
6301)
|
1,0;
1,6
|
25
|
А
|
-
|
-
|
-
|
-
|
-
|
25
|
193
|
Б
|
-
|
-
|
-
|
-
|
-
|
31
|
В
|
-
|
-
|
-
|
-
|
-
|
44
|
2,5
|
А
|
-
|
-
|
-
|
-
|
-
|
36
|
204
|
Б
|
-
|
-
|
-
|
-
|
-
|
31
|
В
|
-
|
-
|
-
|
-
|
-
|
44
|
800
|
1,0
|
А
|
-
|
-
|
-
|
-
|
-
|
52
|
383
|
Б
|
-
|
-
|
-
|
-
|
-
|
64
|
В
|
7
|
-
|
-
|
-
|
-
|
75
|
1,6;
2,5
|
А
|
-
|
-
|
-
|
-
|
-
|
66
|
397
|
Б
|
-
|
-
|
-
|
-
|
-
|
64
|
В
|
7
|
-
|
-
|
-
|
-
|
75
|
1000
|
0,6;
1,0; 1,6; 2,5
|
А
|
21
|
20
|
15
|
-
|
-
|
105
|
665
|
Б
|
-
|
-
|
-
|
-
|
-
|
108
|
В
|
21
|
20
|
17
|
14
|
7
|
128
|
Продолжение
таблицы 27
Размеры
в мм
Внутренний
диаметр кожуха
|
Давление
в кожухе Ру, МПа, не более
|
Наружный
диаметр труб
|
Сектор
|
Число
отверстия под трубы в трубных решетках и перегородках, не менее
|
по
рядам
|
общее
|
12
|
13
|
14
|
15
|
16
|
17
|
18
|
19
|
20
|
21
|
22
|
в
секторе
|
в
решетке
|
1200
|
0,6; 1,0
|
25
|
А
|
29
|
28
|
27
|
26
|
21
|
-
|
-
|
-
|
-
|
-
|
-
|
131
|
973
|
Б
|
-
|
-
|
-
|
-
|
-
|
-
|
-
|
-
|
-
|
-
|
-
|
165
|
В
|
29
|
28
|
27
|
26
|
23
|
22
|
17
|
10
|
-
|
-
|
-
|
182
|
1,6; 2,5
|
А
|
29
|
28
|
27
|
26
|
23
|
18
|
-
|
-
|
-
|
-
|
-
|
151
|
993
|
Б
|
-
|
-
|
-
|
-
|
-
|
-
|
-
|
-
|
-
|
-
|
-
|
165
|
В
|
29
|
28
|
27
|
26
|
23
|
22
|
17
|
10
|
-
|
-
|
-
|
182
|
1400
|
0,6; 1,0
|
А
|
-
|
-
|
35
|
34
|
33
|
30
|
29
|
26
|
23
|
-
|
-
|
210
|
1395
|
Б
|
18
|
-
|
-
|
-
|
-
|
-
|
-
|
-
|
-
|
-
|
-
|
234
|
В
|
-
|
-
|
35
|
34
|
33
|
30
|
29
|
26
|
25
|
22
|
15
|
249
|
1,6; 2,5
|
А
|
-
|
-
|
35
|
34
|
33
|
30
|
29
|
26
|
25
|
20
|
-
|
232
|
1417
|
Б
|
18
|
-
|
-
|
-
|
-
|
-
|
-
|
-
|
-
|
-
|
-
|
234
|
В
|
-
|
-
|
35
|
34
|
33
|
30
|
29
|
26
|
25
|
22
|
15
|
249
|
______________
1) Наружный диаметр кожуха (при изготовлении из трубы).
|
Размещение
отверстий под трубы в трубных решетках и перегородках при одном ходе по трубам
для аппаратов типов ИН-2, ИК-2.

Черт. 19
(Измененная редакция. Изм. № 1, № 3).
Таблица 28
Размещение
отверстий под трубы в трубных решетках и перегородках для аппаратов типов ИН и
ИК
Размеры
в мм
Обозначение
аппарата
|
Внутренний
диаметр кожуха
|
Давление
в кожухе, Ру, МПа, не более
|
D0
|
Наружный
диаметр труб
|
2R
|
h2
|
Число
отверстий под трубы в трубных решетках и перегородках, не менее:
|
по
рядам
|
0
|
1
|
2
|
3
|
4
|
5
|
6
|
7
|
8
|
ИН-1,
ИК-1
|
600;
6301)
|
1,0;
1,6; 2,5; 4,0
|
590
|
25
|
583
|
138,5
|
17
|
18
|
17
|
16
|
17
|
16
|
15
|
12
|
9
|
11
|
ИН-2,
ИК-2
|
1,0;
1,6
|
96,0
|
17
|
18
|
17
|
16
|
17
|
16
|
15
|
10
|
-
|
12
|
11
|
2,5;
4,0
|
17
|
18
|
17
|
16
|
17
|
16
|
15
|
12
|
9
|
11
|
ИН-1,
ИК-1
|
800
|
1,0;
1,6; 2,5; 4,0
|
788
|
780
|
193,9
|
23
|
24
|
23
|
24
|
23
|
20
|
21
|
20
|
19
|
ИН-2,
ИК-2
|
1,0
|
96,0
|
23
|
24
|
23
|
24
|
23
|
20
|
21
|
20
|
19
|
1,6;
2,5; 4,0
|
23
|
24
|
23
|
24
|
23
|
20
|
21
|
20
|
19
|
ИН-1,
ИК-1
|
1000
|
0,6;
1,0; 1,6; 2,5; 4,0
|
988
|
981
|
221,6
|
29
|
30
|
29
|
30
|
29
|
28
|
29
|
26
|
27
|
ИН-2,
ИК-2
|
0,6;
1,0;
|
96,0
|
29
|
30
|
29
|
30
|
29
|
28
|
29
|
26
|
27
|
1,6;
2,5; 4,0
|
29
|
30
|
29
|
30
|
29
|
28
|
29
|
26
|
27
|
ИН-1;
ИК-1
|
1200
|
0,6;
1,0; 1,6; 2,5
|
1188
|
25
|
1182
|
249,3
|
35
|
36
|
37
|
36
|
35
|
36
|
35
|
34
|
31
|
ИН-2;
ИК-2
|
0,6;
1,0
|
96,0
|
35
|
36
|
37
|
36
|
35
|
36
|
35
|
34
|
31
|
1,6;
2,5
|
35
|
36
|
37
|
36
|
35
|
36
|
35
|
34
|
31
|
ИН-1;
ИК-1
|
1400
|
0,6;
1,0; 1,6; 2,5
|
1387
|
1380
|
304,7
|
41
|
42
|
43
|
42
|
41
|
42
|
41
|
40
|
41
|
ИН-2;
ИК-2
|
0,6;
1,0
|
96,0
|
41
|
42
|
43
|
42
|
41
|
42
|
41
|
40
|
41
|
1,6;
2,5
|
41
|
42
|
43
|
42
|
41
|
42
|
41
|
40
|
41
|
Продолжение
таблицы 28
Размеры
в мм
Обозначение
аппарата
|
Внутренний
диаметр кожуха
|
Давление
в кожухе Ру, МПа, не более
|
Число
отверстий под трубы в трубных решетках и перегородках, не менее:
|
по
рядам
|
общее
в решетке
|
9
|
10
|
11
|
12
|
13
|
14
|
15
|
16
|
17
|
18
|
19
|
20
|
21
|
ИН-1;
ИК-1
|
600;
6301)
|
1,0;
1,6; 2,5; 4,0
|
-
|
-
|
-
|
-
|
-
|
-
|
-
|
-
|
-
|
-
|
-
|
-
|
-
|
265
|
6
|
ИН-2;
ИК-2
|
1,0;
1,6
|
-
|
-
|
-
|
-
|
-
|
-
|
-
|
-
|
-
|
-
|
-
|
-
|
-
|
254
|
6
|
2,5;
4,0
|
-
|
-
|
-
|
-
|
-
|
-
|
-
|
-
|
-
|
-
|
-
|
-
|
-
|
265
|
6
|
ИН-1,
ИК-1
|
800
|
1,0;
1,6; 2,5; 4,0
|
18
|
17
|
12
|
-
|
-
|
-
|
-
|
-
|
-
|
-
|
-
|
-
|
-
|
474
|
14
|
7
|
ИН-2,
ИК-2
|
1,0
|
18
|
15
|
-
|
-
|
-
|
-
|
-
|
-
|
-
|
-
|
-
|
-
|
-
|
460
|
17
|
14
|
7
|
1,6;
2,5; 4,0
|
18
|
17
|
12
|
-
|
-
|
-
|
-
|
-
|
-
|
-
|
-
|
-
|
-
|
474
|
14
|
7
|
ИН-1,
ИК-1, ИН-2, ИК-2
|
1000
|
0,6;
1,0; 1,6; 2,5; 4,0
|
26
|
25
|
24
|
21
|
20
|
15
|
-
|
-
|
-
|
-
|
-
|
-
|
-
|
770
|
17
|
14
|
7
|
Продолжение
таблицы 28
Размеры
в мм
Обозначение
аппарата
|
Внутренний
диаметр кожуха
|
Давление
в кожухе Ру, МПа, не более
|
Число
отверстий под трубы в трубных решетках и перегородках, не менее:
|
по
рядам
|
общее
в решетке
|
9
|
10
|
11
|
12
|
13
|
14
|
15
|
16
|
17
|
18
|
19
|
20
|
21
|
22
|
ИН-1,
ИК-1
|
1200
|
0,6;
1,0; 1,6; 2,5
|
32
|
31
|
30
|
29
|
28
|
27
|
26
|
23
|
18
|
-
|
-
|
-
|
-
|
-
|
1114
|
22
|
17
|
10
|
ИН-2, ИК-2
|
0,6;
1,0
|
32
|
31
|
30
|
29
|
28
|
27
|
26
|
21
|
-
|
-
|
-
|
-
|
-
|
-
|
1094
|
23
|
22
|
17
|
10
|
1,6;
2,5
|
32
|
31
|
30
|
29
|
28
|
27
|
26
|
23
|
18
|
-
|
-
|
-
|
-
|
-
|
1114
|
22
|
17
|
10
|
ИН-1,
ИК-1
|
1400
|
0,6;
1,0; 1,6; 2,5
|
40
|
37
|
38
|
37
|
36
|
35
|
34
|
33
|
30
|
29
|
26
|
25
|
20
|
-
|
1562
|
22
|
15
|
ИН-2, ИК-2
|
0,6;
1,0
|
40
|
37
|
38
|
37
|
36
|
35
|
34
|
33
|
30
|
29
|
26
|
23
|
-
|
-
|
1540
|
25
|
22
|
15
|
1,6;
2,5
|
40
|
37
|
38
|
37
|
36
|
35
|
34
|
33
|
30
|
29
|
26
|
25
|
20
|
-
|
1562
|
22
|
15
|
______________
1) Наружный диаметр кожуха (при изготовлении из трубы).
|
(Измененная редакция. Изм. № 3).
Примечания:
1. Аппараты типов ИК-1, ИК-2
применять до давления Ру ≤ 1,6 МПа.
2.
Дробные значения означают: верхнее - число труб со стороны входа продукта в межтрубное
пространство; нижнее - число труб со стороны выхода продукта из межтрубного
пространства.
Схема
расположения теплообменных труб в трубных решетках и перегородках и размеры
отверстий под трубы для аппаратов типов ТН, ТК, ХН, ХК, КН, КК, ИН, ИК

Черт. 20
Таблица 29
Размеры
в мм
Наружный
диаметр труб
|
Класс
точности соединения труб с трубной решеткой по ОСТ 26-02-1015
|
Диаметр
трубного отверстия, d
|
Шаг
размещения отверстий под трубы, t
|
в
решетках
|
в
перегородках
|
20
|
1
|
20,15+0,13
|
20,8+0,21
|
26
|
2
|
20,25+0,13
|
3
|
20,35+0,13
|
4
|
20,50+0,13
|
25
|
1
|
25,15+0,13
|
25,8+0,21
|
32
|
2
|
25,25+0,13
|
3
|
25,35+0,13
|
4
|
25,50+0,13
|
1.3.
ТРЕБОВАНИЯ К ИЗГОТОВЛЕНИЮ
(Раздел 1.3 новая редакция. Изм. № 1, №
3).
1.3.1 Проектирование и конструкция
аппаратов должны соответствовать требованиям раздела 5 ГОСТ
31842, ГОСТ Р
52630, технических регламентов Таможенного союза ТР
ТС 010/2011 «О безопасности машин и оборудования» и ТР
ТС 032/2013 «О безопасности оборудования, работающего под избыточным
давлением».
(Измененная редакция. Изм. № 1, №
3, № 5).
1.3.2 Назначенный срок службы аппаратов
- 12 лет.
Для аппаратов, отработавших назначенный срок службы, он
может быть продлен в установленном порядке по результатам технического
диагностирования и определения остаточного ресурса.
(Измененная редакция. Изм. № 4).
1.3.3 При проведении расчета аппарата на прочность следует
учитывать нагрузки на штуцера от внешних сил и моментов, действующих от
трубопроводной обвязки. Величины внешних нагрузок должны быть представлены
заказчиком.
1.3.4 Аппараты должны быть
герметичными. Класс герметичности - 5 по ОСТ
26.260.14. По требованию потребителя - 4 по ОСТ
26.260.14.
1.3.5 Расчетное число циклов нагружения за весь период
работы аппаратов должно быть не более 1000.
1.3.6 В зависимости от расчетного
давления, температуры стенки и характера среды аппараты подразделяют на группы,
определяющие объем контроля сварных соединений. Группа сосудов - по ГОСТ Р
52630.
1.3.7 Фланцы на аппаратах и штуцерах на
условное давление Ру ≥ 1,0 МПа независимо от температуры, а также при
температуре рабочей среды одной или двух полостей аппарата ≥ 300 °С
независимо от давления, должны быть выполнены приварными встык.
Фланцы на аппаратах должны быть выполнены с уплотнительной
поверхностью «выступ-впадина» на Ру ≤ 4,0 МПа по ГОСТ
28759.3 и с уплотнительной поверхностью под прокладку восьмиугольного
сечения на Ру ≥ 6,3 МПа по ГОСТ
28759.4.
Фланцы на штуцерах должны быть выполнены с уплотнительной
поверхностью «выступ-впадина» на Ру ≤ 4,0 МПа и с уплотнительной
поверхностью под прокладку овального сечения на Ру ≥ 6,3 МПа по ГОСТ
12815, ГОСТ
12821.
Фланцы на штуцерах могут выполняться с гладкой
уплотнительной поверхностью при применении спирально-навитых прокладок с
ограничительными кольцами.
1.3.8 Толщины основных элементов
аппарата определяют расчетом на прочность и должны быть не менее приведенных в
разделе 5 ГОСТ
31842-2012 (ISO 16812:2007).
(Измененная редакция. Изм. № 5)
1.3.9 Расстояние между поперечными перегородками трубного
пучка следует устанавливать в соответствии с результатами теплотехнического,
гидравлического и прочностного расчетов с учетом требований, изложенных в ГОСТ
31842-2012 (ISO 16812:2007).
(Измененная редакция. Изм. № 5)
1.3.10 Диаметры поперечных перегородок трубного пучка должны
соответствовать значениям, приведенным в таблице 4 ГОСТ
31842-2012 (ISO 16812:2007).
(Измененная редакция. Изм. № 5)
1.3.11 Противоударная защита трубного пучка от воздействия
потока на входе в аппарат должна быть обеспечена установкой противоударной
пластины либо стержневых элементов. Требования к ней должны соответствовать
пункту 5.4 ГОСТ
31842-2012 (ISO 16812:2007).
(Измененная редакция. Изм. № 5)
1.3.12 Необходимость установки
противобайпасных устройств следует определять технологическим расчетом для
неизотермических условий эксплуатации, или, если байпасные зазоры превышают 16
мм. Расположение противобайпасных устройств должно соответствовать требованию
пункта 5.5 ГОСТ
31842-2012 (ISO 16812:2007).
(Измененная редакция. Изм. № 5)
1.4 ТРЕБОВАНИЯ К МАТЕРИАЛАМ
(Раздел «ТРЕБОВАНИЯ К МАТЕРИАЛАМ» введен впервые. Изм. № 3).
1.4.1 При выборе материалов для изготовления теплообменных аппаратов
следует учитывать расчетные давления, температуру стенок, химический состав и
характер сред, наличие коррозионных компонентов, климатическую температуру,
технологические свойства и коррозионную стойкость материалов.
(Измененная редакция. Изм. № 5)
1.4.2 Требования к основным материалам,
их пределы применения, назначение, условия применения, виды испытаний должны
соответствовать ГОСТ Р
52630 (раздел 5), ГОСТ
31842, ПБ
03-576-03, техническим регламентам Таможенного союза ТР
ТС 010/2011 «О безопасности машин и оборудования» и ТР
ТС 032/2013 «О безопасности оборудования, работающего под избыточным
давлением».
Аппараты изготавливаются из материалов и полуфабрикатов,
предусмотренных проектной документацией и обеспечивающих соответствие аппаратов
требованиям безопасности на протяжении всего срока службы.
(Измененная редакция. Изм. № 5)
1.4.3 Качество и характеристики материалов должны
подтверждаться предприятием-поставщиком в соответствующих сертификатах.
Материалы и полуфабрикаты должны иметь предусмотренную договором маркировку (без
повреждений), обеспечивающую возможность их идентификации с данными
документации изготовителя материалов и полуфабрикатов.
(Измененная редакция. Изм. № 5)
1.5 ТРЕБОВАНИЯ К ИЗГОТОВЛЕНИЮ
(Раздел «ТРЕБОВАНИЯ К ИЗГОТОВЛЕНИЮ» введен впервые. Изм. № 3).
1.5.1 Изготовление аппаратов должно
соответствовать требованиям раздела 7 ГОСТ
31842, раздела 6 ГОСТ Р
52630, ПБ
03-576-03, технических регламентов Таможенного союза ТР
ТС 010/2011 «О безопасности машин и оборудования» и ТР
ТС 032/2013 «О безопасности оборудования, работающего под избыточным
давлением», а также требованиям настоящих технических условий.
(Измененная редакция. Изм. № 5)
1.5.2 При установке штуцеров должны
соблюдаться требования ГОСТ Р
52630, при этом отклонение по высоте штуцеров - ГОСТ
31842-2012 (ISO 16812:2007).
(Измененная редакция. Изм. № 5)
1.5.3 Узел соединения трубной решетки с
концевой обечайкой должен соответствовать требованиям ГОСТ
31842-2012 (ISO 16812:2007).
(Измененная редакция. Изм. № 5)
1.5.4 Трубные решетки должны
изготавливаться, как правило, без сварных швов. Допускается изготовление
трубных решеток сварными из частей с учетом требований ГОСТ
31842-2012 (ISO 16812:2007), ГОСТ Р
52630.
(Измененная редакция. Изм. № 5)
1.5.5 Трубная решетка, как правило,
должна выполняться из поковки. Поковка из углеродистой или низколегированной
стали должна быть проконтролирована ультразвуковым методом в объеме 100 %.
Методика контроля и оценка качества должны соответствовать требованиям ОСТ
26-11-09. Допускается по согласованию с ОАО «ВНИИНЕФТЕМАШ» трубную решетку
изготавливать из листового проката. Листовая сталь должна подвергаться контролю
ультразвуковым методом согласно требованиям ГОСТ Р
52630 в объеме 100 % с оценкой металла по 1-у классу сплошности ГОСТ
22727.
(Измененная редакция. Изм. № 5)
1.5.6 Требования к сварке, сварочным
материалам и сварным соединениям должны удовлетворять требованиям ГОСТ
31842-2012 (ISO 16812:2007), ГОСТ Р
52630, ПБ
03-576-03 и настоящих технических условий.
(Измененная редакция. Изм. № 5)
1.5.7 Технология сварки аппаратов 1, 2,
3, 4 групп должна быть аттестована в соответствии с РД
03-615-03.
1.5.8 Сварка корпусов и приварка к ним
деталей аппаратов, а также сварка внутренних устройств аппаратов 1, 2, 3, 4
групп, должна производиться сварщиками, аттестованными в соответствии с
«Правилами аттестации сварщиков и специалистов сварочного производства» ПБ
03-273-99 и имеющими удостоверение установленной формы.
Сварщики могут производить сварочные работы тех видов,
которые указаны в их удостоверении.
1.5.9 Механические свойства сварных
соединений должны быть не ниже норм, указанных в таблице 14 ГОСТ Р
52630.
1.5.10 Крепление труб в трубных
решетках должно производиться сваркой с развальцовкой, либо развальцовкой с
ограничением крутящего момента с учетом требований ГОСТ
31842-2012 (ISO 16812:2007), ОСТ 26-02-1015, ОСТ
26-17-01 и СТО
00220368-014. Тип соединения труб с трубными решетками и класс точности
соединения выбираются по ОСТ 26-02-1015. При отсутствии
указания тип соединения труб с трубными решетками выбирает
предприятие-изготовитель.
(Измененная редакция. Изм. № 5)
1.5.11 Последовательность сварки и развальцовки труб должна
исключать появление остаточных напряжений и искривлений трубных решеток,
приводящих к разгерметизации фланцевых разъемов.
1.5.12 Аттестация технологии
развальцовки труб в трубных решетках должна производиться в соответствии с СТО
00220368-018.
1.5.13 Требования к днищам должны
удовлетворять требованиям ГОСТ Р
52630, ПБ
03-576-03 и настоящим техническим условиям.
(Измененная редакция. Изм. № 5)
1.5.14 Горизонтальные аппараты должны быть установлены на
седловые опоры.
Угол охвата седловой опорой аппарата должен быть не менее
120°.
При наличии температурных расширений в продольном
направлении в горизонтальных аппаратах следует выполнять жесткой лишь одну
седловую опору, остальные опоры - свободными с указанием об этом в технической
документации.
1.5.15 Вертикальные аппараты должны быть установлены на
опоры-лапы.
1.5.16 Материал элементов опор, привариваемых
непосредственно к корпусу аппарата, должен быть тот же, что и материал корпуса,
или удовлетворять требованиям, предъявляемым к материалу корпуса.
1.5.17 Опоры из углеродистых сталей допускается применять
для аппаратов из коррозионностойких сталей при условии, что к аппарату
приваривается подкладной лист из коррозионностойкой стали.
1.5.18 Технические требования к
фланцам аппаратов и фланцам арматуры должны соответствовать ГОСТ Р
52630 и настоящим техническим условиям.
(Измененная редакция. Изм. № 5)
1.5.19 Облицовка уплотнительных
поверхностей фланцев коррозионно-стойким слоем должна производиться наплавкой в
соответствии с ГОСТ Р
52630. Приварка облицовочных колец не допускается.
1.5.20 Прокладки для корпусных фланцев
должны изготавливаться по ГОСТ
28759.7.
Допускается применение прокладок из паронита по ГОСТ
28759.6 с пределами применения по ГОСТ 481.
Прокладки для фланцев штуцеров должны изготавливаться по ОСТ
26.260.463. Допускается применение прокладок из паронита по ГОСТ 15180
с пределами применения по ГОСТ 481.
1.5.21 Крепежные детали фланцевых
соединений должны соответствовать ОСТ 26-2040
- ОСТ 26-2042.
Технические требования для болтов, шпилек, гаек и шайб для фланцевых соединений
должны соответствовать СТП
26.260.2043.
1.5.22 Все трубы должны быть бесшовными и не должны иметь
поперечных сварных швов.
1.5.23 Требования к термообработке
должны соответствовать ГОСТ Р
52630, ГОСТ
31842-2012 (ISO 16812:2007), ПБ
03-576-03 и конструкторской документации.
(Измененная редакция. Изм. № 5)
1.5.24 Предельные отклонения
геометрических размеров, а также поля допусков деталей и привалочных
поверхностей аппаратов должны соответствовать требованиям п. 7.6 и 7.7 ГОСТ
31842-2012 (ISO 16812:2007).
(Измененная редакция. Изм. № 5)
1.5.25 Размещение деталей для
крепления теплоизоляции должно производиться в соответствии с ГОСТ
17314.
1.5.26 На аппаратах должны
предусматриваться элементы для строповки. Строповые устройства должны
соответствовать требованиям ГОСТ
31842-2012 (ISO 16812:2007), ГОСТ
13716 или ГОСТ
14114, ГОСТ
14115.
(Измененная редакция. Изм. № 5)
1.5.27 Гидравлическое испытание на
прочность и герметичность следует проводить в соответствии с требованиями ГОСТ
31842-2012 (ISO 16812:2007), ГОСТ Р
52630, ПБ
03-576-03.
Допускается проводить гидравлическое испытание по
технологии, принятой на предприятии-изготовителе, обеспечивающей выявление
возможных дефектов при испытании на прочность и герметичность элементов
(деталей) и сборочных узлов аппарата.
(Измененная редакция. Изм. № 5)
1.6 КОМПЛЕКТНОСТЬ
(Раздел «КОМПЛЕКТНОСТЬ» новая редакция. Изм. № 3).
1.6.1 Комплектность аппарата.
1.6.1.1 В комплект поставки аппарата входит:
- аппарат в собранном виде, шт. - 1;
- ответные фланцы для штуцеров с рабочими прокладками и
крепежными деталями, не требующими замены при монтаже, комплект - 1;
- запасные прокладки к ответным фланцам, комплект - 1.
1.6.1.2 К аппарату должна быть
приложена следующая товаросопроводительная документация:
- паспорт, составленный в соответствии с требованиями ПБ
03-576-03;
- руководство по эксплуатации (АТК-РЭ) - 1 экземпляр;
- обоснование безопасности - 1 экземпляр;
- упаковочные листы (на каждое отправляемое место) - 2
экземпляра;
- комплектовочная ведомость - 1 экземпляр;
- документы, подтверждающие соответствие аппарата
требованиям технических регламентов Таможенного союза ТР
ТС 010/2011 «О безопасности машин и оборудования» и ТР
ТС 032/2013 «О безопасности оборудования, работающего под избыточным
давлением»;
- свидетельство о консервации.
По требованию заказчика изготовитель должен обеспечить
поставку дополнительных запасных комплектов прокладок на каждую позицию.
(Измененная редакция. Изм. № 4, №
5).
1.7
МАРКИРОВКА
Маркировка аппаратов должна соответствовать требованиям ГОСТ
31842, ГОСТ Р
52630, технических регламентов Таможенного союза ТР
ТС 010/2011 «О безопасности машин и оборудования» и ТР
ТС 032/2013 «О безопасности оборудования, работающего под избыточным
давлением» и конструкторской документации, утвержденной в установленном
порядке.
Аппараты, соответствующие требованиям безопасности и
прошедшие процедуру подтверждения соответствия, должны иметь маркировку знаком
обращения продукции на рынке государств-членов Таможенного союза, который
свидетельствует о соответствии оборудования требованиям всех распространяющихся
на него технических регламентов Таможенного союза - ТР
ТС 010/2011 «О безопасности машин и оборудования» и ТР
ТС 032/2013 «О безопасности оборудования, работающего под избыточным
давлением».
Аппарат должен иметь хорошо различимую четкую и нестираемую
идентификационную надпись, содержащую:
- наименование изготовителя и (или) его товарный знак;
- наименование и (или) обозначение аппарата (тип, марка,
модель (при наличии));
- заводской номер;
- месяц и год изготовления.
Если эти сведения невозможно нанести непосредственно на
аппараты, то они могут быть указаны только в руководстве по эксплуатации.
На листах, плитах, трубах и поковках, используемых для
изготовления аппаратов, должна сохраняться маркировка изготовителя, причем при
раскрое полуфабрикатов на части идентичная маркировка должна наноситься на каждую
из частей.
Транспортная маркировка аппаратов должна соответствовать ГОСТ 14192. Содержание
маркировки, место нанесения, способ выполнения - по технической документации
предприятия-изготовителя.
(Измененная редакция. Изм. № 3, №
5).
1.8 КОНСЕРВАЦИЯ И ОКРАСКА
(Раздел «КОНСЕРВАЦИЯ И ОКРАСКА» новая редакция. Изм. № 3).
1.8.1 Консервации и окраске подлежат аппараты, принятые
отделом технического контроля.
1.8.2 Консервация и окраска должна
соответствовать требованиям ГОСТ Р
52630.
(Измененная редакция. Изм. № 5)
1.8.3 Все обработанные неокрашенные
поверхности аппаратов должны быть законсервированы по технологии
предприятия-изготовителя с учетом условий транспортирования и хранения по ГОСТ
9.014 для группы II-4.
1.8.4 Внутренние
поверхности аппаратов должны подвергаться процессу консервации, совмещенному с
гидроиспытаниями согласно программе и методике испытаний, согласно
нормативно-технической документации, утвержденной в установленном порядке.
Допускается консервация внутренних поверхностей другими
методами по ГОСТ
9.014.
1.8.5 Подготовка
поверхностей под окраску должна производиться по технологии
предприятия-изготовителя с учетом требований ГОСТ
9.402.
1.8.6 На наружную
поверхность аппаратов должно быть нанесено покрытие: грунт ГФ-021 по ГОСТ 25129
или ФЛ-03К по ГОСТ 9109 в один
слой.
Эмаль серая марки ХВ-110 по ТУ 10-1301 или эмаль серая марки
ПФ-115 по ГОСТ
6465 в два слоя. Окрашенные поверхности должны соответствовать VI классу
покрытия по ГОСТ
9.032. Группа условий эксплуатации У1 по ГОСТ 9.104.
Допускается покрытие наружных поверхностей теплоизолируемых
аппаратов производить нанесением грунта ГФ-021 ГОСТ 25129 или ФЛ-03К ГОСТ
9109 в два слоя.
Аппараты, изготовленные из нержавеющей стали, (исполнения по
материалу М8, М9) допускается не окрашивать. По требованию заказчика окраску
производить грунтом ГФ-021 по ГОСТ 25129 или ФЛ-03К по ГОСТ
9109 в два слоя.
При поставке на экспорт наружные поверхности аппаратов
должны иметь покрытия:
- эмаль ПФ-115 по ГОСТ 6465 в два слоя по грунту
ГФ-021 по ГОСТ
25129 или грунту ФЛ-03К, ФЛ-03Ж, АК-070 по ГОСТ 9109 в один
слой для исполнения «У»;
- эмаль ХВ-124 по ГОСТ 10144 в три слоя по двум
слоям грунта ФЛ-03К, ФЛ-03Ж, АК-070 по ГОСТ 9109 для исполнения
«Т».
Окрашенные поверхности должны соответствовать VI классу
покрытия по ГОСТ
9.032, группа условий эксплуатации «У1» или «Т1» по ГОСТ 9.104.
Допускается применение других систем покрытий и
лакокрасочных материалов, применяемых в зависимости от условий эксплуатации,
категории размещения, транспортирования, хранения, монтажа и других условий.
1.8.7 Аппараты до покраски должны быть освобождены от
жидкости, используемой для очистки или испытаний, а также посторонних
материалов с последующей продувкой сжатым воздухом.
1.8.8 Все отверстия в аппаратах должны быть соответствующим
образом заглушены, чтобы предотвратить их повреждение и возможное проникновение
воды или других посторонних материалов.
1.8.9 Все уплотнительные поверхности фланцев должны быть
покрыты легко удаляемой, предохраняющей от коррозии смазкой, и должны быть
соответствующим образом защищены надежными заглушками.
1.8.10 Открытые резьбовые части болтов должны быть защищены
легко удаляемой смазкой для предотвращения коррозии во время испытаний,
отгрузки и хранения. Технологические отверстия должны быть заглушены
консистентной смазкой.
1.9 УПАКОВКА
(Раздел «УПАКОВКА» новая редакция. Изм. № 3).
1.9.1 Аппараты транспортируются без упаковки на подкладных
брусьях с креплением согласно погрузочному чертежу.
1.9.2 Требования к упаковке должны
соответствовать ГОСТ Р
52630.
(Измененная редакция. Изм. № 5)
1.9.3 Сопроводительная документация
должна быть упакована в соответствии с ГОСТ Р
52630 и помещена в верхний штуцер распределительной камеры аппарата или в
специальный карман на упаковке.
Место нахождения документации должно быть обозначено
надписью «Техдокументация здесь».
Допускается по согласованию с потребителем отправка
документации почтой в течение 2-х недель после отгрузки аппаратов.
1.9.4 Запасные прокладки следует
завернуть в водонепроницаемую бумагу по ГОСТ
8828, а затем упаковать в ящики с пометкой «Запасные прокладки». Типы и
размеры ящиков, технические требования к ним должны соответствовать ГОСТ
5959.
По согласованию с заказчиком допускается транспортировать
запасные прокладки другими способами, гарантирующими их сохранность.
При поставке на экспорт ящики должны соответствовать ГОСТ
24634.
1.9.5 Запасные прокладки перед
упаковкой должны подвергаться консервации в соответствии с ГОСТ
9.014 для группы изделий 1 - 2, вариант временной защиты ВЗ-4, вариант
внутренней упаковки для макроклиматических районов с умеренным климатом ВУ-1, с
тропическим климатом ВУ-4.
1.9.6 Отдельно отправляемые сборочные единицы, детали,
запасные части должны быть упакованы в ящики или собраны в пакеты (стопы)
отдельным грузовым местом.
1.9.7 Запасные части и крепежные детали
при отправке их в ящиках должны быть законсервированы по технологии
предприятия-изготовителя, а шпильки (болты) фланцевых соединений дополнительно
упакованы в водонепроницаемую бумагу по ГОСТ
8828. Детали в ящике должны быть закреплены.
1.9.8 Фланцевые соединения штуцеров и муфты должны быть
закрыты металлическими или деревянными заглушками на транспортных прокладках
(допускается применять заглушки из других материалов). Перед пуском аппаратов в
эксплуатацию транспортные прокладки подлежат замене па рабочие.
1.9.9 Каждое грузовое место должно иметь свой упаковочный
лист, который размещается в специальном кармане и крепится около маркировки
груза.
Второй экземпляр упаковочного листа или комплектовочной
ведомости вместе с технической документацией упаковывают в первое грузовое
место.
2 ТРЕБОВАНИЯ БЕЗОПАСНОСТИ И ЭКОЛОГИИ
2.1 Аппараты должны соответствовать
требованиям Технических регламентов Таможенного союза ТР
ТС 010/2011 «О безопасности машин и оборудования» и ТР
ТС 032/2013 «О безопасности оборудования, работающего под избыточным
давлением», «Технического регламента «О требованиях пожарной безопасности»,
«Правил устройства и безопасной эксплуатации сосудов, работающих под давлением»
(ПБ
03-576-03), Федеральных норм и правил в области промышленной безопасности
«Общие правила взрывобезопасности для взрывопожароопасных химических,
нефтехимических и нефтеперерабатывающих производств», «Правил промышленной
безопасности для нефтеперерабатывающих производств» (ПБ
09-563-03), ГОСТ Р
52630, Федеральных норм и правил в области промышленной безопасности
«Правила безопасности в нефтяной и газовой промышленности», «Правил защиты от
статического электричества в производствах химической, нефтехимической и
нефтеперерабатывающей промышленности», ГОСТ
12.1.004, ГОСТ
12.1.010, ГОСТ
12.2.003, «Руководства по эксплуатации» (АТК-РЭ) ОАО «ВНИИНЕФТЕМАШ»,
требованиям, изложенным в настоящих технических условиях и других
нормативно-технических документах, регламентирующих безопасность эксплуатации
теплообменной аппаратуры.
(Измененная редакция. Изм. № 3, №
5).
2.2 В соответствии с технологическим
регламентом, на аппаратах или технологической линии должны быть предусмотрены
защитные устройства КИПиА для предотвращения повышения давления или температуры
в аппаратах выше разрешенных технической характеристикой. Предохранительные
устройства должны устанавливаться на патрубках или трубопроводах, непосредственно
присоединенных к сосуду и соответствовать требованиям ПБ
03-576-03. В случае необходимости установки предохранительного устройства
на самом аппарате это следует оговорить при заказе.
Расчет пропускной способности предохранительного клапана
должен производиться по ГОСТ
12.2.085 с учетом конкретных условий эксплуатации аппарата.
Выбор предохранительного клапана осуществляет заказчик,
исходя из конкретных условий эксплуатации аппарата.
(Измененная редакция. Изм. № 3).
2.3 Аппараты не являются экологически
опасными, источниками опасных и вредных производственных факторов,
предусмотренных ГОСТ
12.0.003 (шума, вибрации и загазованности), в зоне их обслуживания при
соблюдении требований и правил монтажа и эксплуатации.
(Измененная редакция. Изм. № 3).
(Раздел 3 новая редакция. Изм. № 3).
3.1 Правила приемки должны
соответствовать требованиям ГОСТ
15.309, ГОСТ Р
52630 и настоящих технических условий.
(Измененная редакция. Изм. № 5)
3.2 Приемка и контроль качества аппарата
(сборочных единиц и деталей, материалов, комплектующих изделий и отдельных
операций) должны осуществляться ОТК предприятия-изготовителя на соответствие
требованиям настоящих технических условий, ГОСТ Р
52630, ПБ
03-576-03 и конструкторской документации, утвержденной в установленном
порядке.
(Измененная редакция. Изм. № 5)
3.2.1 К изготовлению и сборке должны допускаться материалы и
детали, качество которых отвечает требованиям технической документации и
которые приняты ОТК предприятия-изготовителя.
3.2.2 В процессе изготовления и приемки деталей, сборочных
единиц и аппарата в целом должны проводиться следующие виды контроля:
- входной;
- операционный.
3.2.2.1 Входному контролю должны
подвергаться материалы и покупные изделия. Входной контроль должен проводиться в
соответствии с ГОСТ 24297.
3.2.2.2 Операционному контролю должны
подвергаться сборочные единицы и детали аппарата в процессе их изготовления на
предприятии-изготовителе, качество которых подтверждается путем соответствия
требованиям технических условий, ГОСТ Р
52630, ПБ
03-576-03 и конструкторской документации, утвержденной в установленном
порядке.
(Измененная редакция. Изм. № 5)
3.2.2.3 При операционном контроле должны проверяться:
- качество и соответствие материалов требованиям
конструкторской документации;
- шероховатость механически обработанных поверхностей;
- размеры деталей и сборочных единиц;
- качество резьб;
- качество сварных соединений;
- масса аппарата;
- режимы термообработки;
- качество подготовки поверхностей.
3.3 Для контроля качества и приемки изготовленной продукции
аппараты должны подвергаться следующим видам испытаний:
- приемо-сдаточным;
- периодическим;
- сертификационным.
3.4 Испытания на предприятии-изготовителе проводятся
заводской комиссией, назначенной приказом по заводу, с привлечением при
необходимости представителей Ростехнадзора, заказчика, потребителя,
разработчика и других заинтересованных лиц.
3.5 Объем испытаний включает проверку:
- габаритных и присоединительных размеров;
- прочности и герметичности;
- соответствия примененных материалов предусмотренным
материалам в спецификации рабочей документации;
- качества сварных соединений;
- качества поверхности;
- качества покрытия;
- комплектности изделия;
- комплектности сопроводительной документации;
- маркировки;
- консервации;
- упаковки.
3.6 При периодических и сертификационных
испытаниях дополнительно проводится проверка:
- стабильности технологического процесса;
- показателей надежности;
3.7 Приемо-сдаточным испытаниям на предприятии-изготовителе
должен подвергаться каждый аппарат.
3.8 Периодическим испытаниям на предприятии-изготовителе
должен подвергаться один аппарат не реже одного раза в пять лет, прошедший
приемо-сдаточные испытания и принятый ОТК предприятия-изготовителя.
Допускается не проводить периодические испытания в тех
случаях, когда требования стандартов проверяют при приемо-сдаточных испытаниях,
объем которых достаточен для контроля качества и приемки продукции, а также
если не требуется периодическое подтверждение качества изготовленной продукции.
3.9 Сертификационные испытания проводятся во время
проведения процедуры сертификации продукции в объеме согласно п. 3.5 и 3.6, если нет
иных утвержденных программ испытаний.
3.10 Испытание аппаратов следует проводить на испытательном
оборудовании, аттестованном в установленном порядке, укомплектованном
средствами защиты и приборами, имеющем эксплуатационную документацию и паспорт.
Испытание аппаратов должен проводить обученный и
аттестованный персонал по утвержденной технологии в соответствии с программами
и методиками (технологическим процессом) на испытания.
3.11 Аппараты считаются выдержавшими испытания, если
полностью подтверждено соответствие аппаратов требованиям настоящих технических
условий и комплекту конструкторской документации.
3.12 Если при испытаниях выявлены несоответствия аппаратов
требованиям настоящих технических условий хотя бы по одному пункту, а также в
случае обнаружения дефектов, аппараты должны быть возвращены в производство для
устранения дефектов. После устранения дефектов, а также причин их вызывающих,
аппараты повторно подвергаются испытанию в полном объеме.
При положительных результатах повторных испытаний аппарат
считается принятым.
Если при повторных испытаниях вновь будет обнаружено
несоответствие аппарата хотя бы по одному из проверяемых параметров, то он
подлежит окончательной отбраковке.
3.13 Результаты испытаний оформляют в
соответствии с требованиями ГОСТ
15.309 и отражают в сопроводительной документации на продукцию.
3.14 Подтверждение показателей надежности (эксплуатационной
работоспособности) аппарата производится сбором отзывов с мест эксплуатации.
(Раздел 4 новая редакция. Изм. № 3).
4.1 Методы и объем контроля качества
изготовления аппаратов должны соответствовать требованиям ГОСТ Р
52630, ПБ
03-576-03 и рабочей конструкторской документации.
(Измененная редакция. Изм. № 5)
4.2 Технический контроль качества
изготовления аппаратов должен осуществляться следующими методами:
- материалов - проверкой сертификатов
предприятий-поставщиков или результатов химических анализов и механических
испытаний, проводимых предприятием-изготовителем на соответствие требованиям
технической документации, ГОСТ Р
52630.
Материалы, качество которых не подтверждено сертификатами
или отсутствуют данные на отдельные виды испытаний, должны быть подвергнуты
необходимым испытаниям и приняты ОТК до запуска материала в производство;
- термообработки - проверкой на соответствие
требованиям ГОСТ Р
52630, ПБ
03-576-03;
- размеров (присоединительных и габаритных) -
измерением стандартизованным инструментом и калибрами. Число измерений каждого
размера должно быть не менее двух. Измерения должны производить не менее двух
человек.
Внутренний диаметр аппарата должен определяться путем замера
длины окружности по наружной поверхности обечайки и вычисления по формуле:
Двн
= L/π - 2S, мм, где:
L - длина окружности наружной поверхности обечайки,
мм,
S - номинальная толщина стенки, мм.
Средства измерения и контроля, применяемые при контроле и
испытаниях, должны отвечать требованиям ГОСТ Р
52630, ПБ
03-576-03 и должны быть поверены, а испытательное оборудование аттестовано
в установленном порядке, укомплектовано средствами защиты и приборами и должно
иметь эксплуатационную документацию и паспорт;
- массы - взвешиванием на соответствие требованиям
конструкторской документации. Допускается определение массы производить
расчетом по номинальным размерам деталей аппарата;
- прочности и герметичности - гидравлическим
испытанием. Требования при проведении гидравлических испытаний должны
соответствовать ГОСТ
31842-2012 (ISO 16812:2007), ГОСТ Р
52630, ПБ
03-576-03;
- качества сварных соединений - проверкой на
соответствие требованиям ПБ
03-576-03, ГОСТ Р
52630 и настоящих технических условий.
Объем и методы контроля качества сварных соединений должны
быть указаны в конструкторской документации.
Визуальный контроль и измерения должны проводиться в
соответствии с требованиями РД 03-606-03
«Инструкция по визуальному и измерительному контролю».
Контроль механических свойств сварных соединений, виды
испытаний и количество образцов должны соответствовать п. 8.3 ГОСТ Р
52630.
Испытания сварного соединения на стойкость против
межкристаллитной коррозии следует проводить по ГОСТ
6032 или соответствующему НД.
Металлографические макро- и микро исследования должны
проводиться в соответствии с РД
24.200.04 на одном образце от каждого контрольного сварного соединения.
Стилоскопирование сварных швов должно проводиться для
установления марочного соответствия примененных сварочных материалов
требованиям проекта и инструкций по сварке, РД
26.260.15-2001 или настоящих технических условий.
Для выявления внутренних дефектов сварные соединения должны
подлежать контролю ультразвуковой дефектоскопией или радиографическим методом.
Ультразвуковая дефектоскопия сварных соединений должна
проводиться в соответствии с ГОСТ
14782, СТО 00220256-005.
Радиографический контроль сварных соединений должен
проводиться в соответствии с ГОСТ
7512, ОСТ 26-11-03.
Метод контроля качества стыковых и угловых сварных
соединений должен определяться согласно ОСТ
26-2079.
При невозможности осуществления контроля сварных соединений
радиографическим или ультразвуковым методом из-за их недоступности контроль
качества этих сварных соединений должен проводиться по РД
26-11-01-85 в объеме 100 %.
Цветная дефектоскопия сварных соединений должна проводиться в
соответствии с ОСТ
26-5. Объем контроля определяется в соответствии с требованиями РД
26-11-01-85 или требованиями конструкторской документации.
- качества поверхностей деталей, сборочных единиц и
элементов аппарата визуальным осмотром;
- качества механически обработанных поверхностей -
визуально, внешним осмотром на соответствие требованиям конструкторской
документации и сравнением с образцами шероховатости по ГОСТ
9378;
- качества уплотнительных поверхностей фланцев -
визуальным осмотром на отсутствие трещин, вмятин, пор;
- качества поверхности аппарата под нанесение защитного
противокоррозионного покрытия - проверкой на соответствие требованиям ГОСТ
9.402.
Контроль качества внутреннего (наружного)
противокоррозионного покрытия аппарата должен проводиться в соответствии с
требованиями стандартов, НД на данное покрытие;
- качество резьбы - визуальным осмотром и измерением,
резьбовыми шаблонами, калибрами и другими средствами измерения на отсутствие
задиров, заусенцев, царапин, срывов. Гайка должна навертываться на всю резьбу
шпильки или винта вручную, с небольшим усилием. Торцы гаек фланцевых соединений
должны плотно прилегать к опорной поверхности;
- качества окраски - визуальным осмотром, методом
сравнения с эталоном по ГОСТ
9.407;
- комплектности изделия - визуально по
комплектовочной ведомости, прилагаемой к паспорту аппарата;
- комплектности сопроводительной документации -
наличием паспорта и упаковочного листа;
- маркировки, консервации, упаковки - визуальным
осмотром. Маркировка, консервация и упаковка должны производиться в
соответствии с требованиями настоящих технических условий и конструкторской
документации.
(Измененная редакция. Изм. № 5)
4.3 Контроль стабильности технологического процесса
производится проверкой полноты и качества выполнения всех технологических операций.
4.4 Контроль показателей надежности производится сбором
отзывов с мест эксплуатации. При отсутствии отзывов надежность аппарата
определяется справкой ОТК об отсутствии рекламаций с мест эксплуатации.
Требования пункта 1.3.2
контролю на заводе-изготовителе не подлежат. Требования данного пункта
обеспечиваются за счет прибавки на коррозию при расчете элементов аппарата на
прочность и контролируются в процессе эксплуатации.
(Раздел 5 новая редакция. Изм. № 3).
5.1 Транспортирование и хранение
аппаратов производят в соответствии с требованиями ГОСТ Р
52630, при этом должна обеспечиваться сохранность от механических
повреждений штуцеров, опор и других узлов аппаратов.
При хранении должны быть созданы условия, обеспечивающие
сохранность аппаратов и передачу их на монтаж без дополнительных работ по
очистке, ревизии и ремонту.
(Измененная редакция. Изм. № 5)
5.2 Аппараты транспортируются
железнодорожным, морским, речным и автомобильным транспортом на открытых
платформах в соответствии с «Правилами перевозки грузов» и «Техническими
условиями погрузки и крепления грузов», действующими на каждом виде
транспорта.
5.3 Погрузка аппаратов на подвижном железнодорожном составе
должна соответствовать требованиям МПС, а крепление - по документации
предприятия-изготовителя.
5.4 Условия транспортирования аппарата в
части воздействия климатических факторов должны соответствовать группе 9 (ОЖ1)
по ГОСТ
15150.
5.5 Условия транспортирования аппарата в
части воздействия механических факторов должны соответствовать жестким условиям
(Ж) по ГОСТ 23170.
5.6 Условия хранения аппарата в части
воздействия климатических факторов должны соответствовать группе 6 (ОЖ2) по ГОСТ
15150. При хранении аппаратов должны быть соблюдены следующие условия:
- защита от механических повреждений, деформаций и
атмосферных осадков;
- установка на подкладки, исключающие непосредственное
соприкосновение с землей.
5.7 При выполнении
погрузочно-разгрузочных работ должны выполняться требования ГОСТ
12.3.009.
5.8 Транспортирование и хранение аппаратов, поставляемых на
экспорт, должны осуществляться в соответствии с контрактом (договором).
(Раздел 6 новая редакция. Изм. № 3).
6.1.1 Монтаж и установка аппаратов должны осуществляться на
подготовленную бетонную площадку или металлоконструкцию, при этом должна быть
обеспечена возможность свободного скольжения подвижной опоры при температурных
расширениях и сжатиях аппаратов. Монтаж должен производиться
специализированными организациями, располагающими техническими средствами,
необходимыми для качественного выполнения работ.
6.1.2 Перед монтажом и установкой
аппараты должны быть подвергнуты наружному осмотру без разборки, при этом
проверяются:
- комплектность - по комплектовочной ведомости;
- соответствие аппаратов требованиям настоящих технических
условий, рабочим чертежам, ГОСТ Р
52630, ПБ
03-576-03;
- отсутствие повреждений, поломок и других видимых дефектов;
- качество и целостность внутреннего (наружного)
антикоррозионного покрытия (при наличии);
- наличие ответных фланцев, рабочих прокладок и крепежных
деталей;
- наличие окраски, маркировки и консервации согласно
требованиям настоящих технических условий;
- наличие отметок (знаков), указывающих положение центра
масс аппарата;
- наличие на вертикальных аппаратах отличительной окраски
строповых устройств, а на горизонтальных аппаратах - отличительной окраски мест
расположения строп;
- наличие накладок под площадки обслуживания и деталей для
крепления теплоизоляции.
(Измененная редакция. Изм. № 5)
6.1.3 Монтаж аппаратов должен
производиться по проекту производства монтажных работ с учетом конкретных
условий монтажа, требований «Руководства по эксплуатации», ГОСТ
24444 и настоящих технических условий.
6.1.4 Запрещается производить монтаж аппаратов в случае их
несоответствия паспортам предприятия-изготовителя, а также требованиям
действующей нормативно -технической документации и настоящих технических
условий.
6.1.5 При установке горизонтальных аппаратов в проектное
положение должен обеспечиваться их уклон 0,002 - 0,003 в сторону штуцера,
расположенного в нижней части корпуса.
6.1.6 При установке вертикальных аппаратов в проектное
положение отклонение от вертикальности должно быть не более 0,1 % от высоты
аппарата, но не более 10 мм.
6.1.7 После окончания установочных и
монтажных работ для аппаратов, подведомственных Ростехнадзору, должно быть
составлено удостоверение о качестве монтажа, проведена регистрация аппарата и
получено разрешение на ввод в эксплуатацию в органах Ростехнадзора в
соответствии с требованиями раздела 6 ПБ
03-576-03.
6.2.1 Эксплуатация аппаратов должна
осуществляться в соответствии с Техническими регламентами Таможенного союза ТР
ТС 010/2011 «О безопасности машин и оборудования» и ТР
ТС 032/2013 «О безопасности оборудования, работающего под избыточным
давлением», технологическим регламентом, «Руководством по эксплуатации»
(АТК-РЭ) и с параметрами, не превышающими указанные в паспорте аппарата.
(Измененная редакция. Изм. № 5)
6.2.2 Пуск, остановка и испытания на
герметичность в зимнее время аппаратов, установленных на открытом воздухе или в
неотапливаемом помещении, должны производиться в соответствии с «Регламентом»
(Приложение М ГОСТ Р
52630).
6.2.3 При эксплуатации аппаратов должны выполняться требования
безопасности, указанные в разделе 2 настоящих технических условий.
6.2.4 Предприятие-потребитель аппаратов
обязано с учетом требований «Руководства по эксплуатации» (АТК-РЭ),
приложенного к паспорту аппарата, действующих Правил и Норм, составить свою
инструкцию по эксплуатации и технике безопасности для данного аппарата,
принимая во внимание особенности своего производства и технологического режима.
6.2.5 К аппаратам со взрывопожароопасными средами должны
быть подведены линии воды, пара, инертного газа. Каждая линия должна иметь
запорную и запорно-регулирующую арматуру.
6.2.6 При выполнении теплоизоляции аппаратов должны
предусматриваться меры защиты от попадания в нее горючих продуктов.
Температура наружной поверхности аппаратов или кожухов
теплоизоляционных покрытий не должна превышать температуры самовоспламенения
взрывопожароопасного продукта, а в местах, доступных для обслуживающего
персонала, должна быть не более плюс 60 °С (при наружной установке).
6.2.7 Аппараты на месте монтажа должны
быть заземлены в соответствии с ГОСТ
12.2.007.0 и защищены от статического электричества согласно «Правилам
защиты от статического электричества в производствах химической,
нефтехимической и нефтеперерабатывающей промышленности».
Заземление должно быть выполнено в соответствии с
требованиями «Правил устройства электроустановок (ПУЭ)».
Присоединение заземляющих проводников к аппаратам должно
быть выполнено сваркой, место заземления должно быть зачищено до металлического
блеска, а после сварки окрашено для защиты от коррозии.
6.2.8 Молниезащита аппаратов должна
выполняться в соответствии с «Инструкцией по устройству молниезащиты зданий,
сооружений и промышленных коммуникаций» СО
153-34.21.122.
6.2.9 Воздух рабочей зоны при
эксплуатации аппаратов не должен содержать вредных веществ, превышающих
предельно допустимые концентрации, установленные ГОСТ
12.1.005 для веществ с классом опасности по ГОСТ
12.1.007.
6.2.10 К обслуживанию аппаратов допускается персонал,
обученный и аттестованный в установленном порядке.
(Измененная редакция. Изм. № 4).
6.2.11 Методы и средства противоаварийной автоматической
защиты должны определяться проектной документацией с учетом особенностей
технологического процесса и категории взрывоопасности технологического блока, в
который входит аппарат.
6.2.12 Запрещается эксплуатация с неисправными
противоаварийными устройствами.
6.2.13 Состояние средств противоаварийной защиты должно
периодически контролироваться. Периодичность и методы контроля определяются
проектной документацией.
6.2.14 Порядок и сроки проверки
исправности действия предохранительных клапанов в зависимости от условий технологического
процесса должны быть указаны в «Инструкции по эксплуатации предохранительных
устройств», утвержденной владельцем аппарата в установленном порядке, с учетом
требований раздела 2 ГОСТ
12.2.085 и раздела 5 ПБ
03-576-03.
6.2.15 Порядок и сроки проверки исправности манометров
обслуживающим персоналом в процессе эксплуатации должны определяться
«Инструкцией по режиму работы и безопасному обслуживанию аппаратов»,
утвержденной руководством организации - владельца аппаратов.
6.2.16 Указатели уровня должны быть снабжены арматурой для
их отключения от аппарата и продувки с отводом рабочей среды в безопасное
место.
6.2.17 Аппараты должны подвергаться
техническому освидетельствованию после монтажа до пуска в работу, периодически
в процессе эксплуатации и в необходимых случаях - внеочередному
освидетельствованию. Объем, методы и периодичность технического
освидетельствования аппаратов должны соответствовать требованиям раздела 6 ПБ
03-576-03 и быть указаны в руководстве по эксплуатации.
6.2.18 Порядок контроля за степенью коррозионного износа
аппаратов с использованием неразрушающих методов, способы, периодичность и
места проведения контрольных замеров должны определяться в производственной
инструкции с учетом конкретных условий эксплуатации.
6.2.19 После отработки назначенного срока службы дальнейшая
эксплуатация аппаратов возможна только после проведения технического диагностирования
и определения остаточного ресурса.
6.2.20 Аппараты перед отправкой на
утилизацию (на вторичную переработку) освободить от рабочих сред по технологии
владельца аппаратов, обеспечивающей безопасное ведение работ, а также
осуществить разборку и разделку аппаратов с сортировкой металла по типам и
маркам.
Утилизация аппарата, отработавшего свой срок, производится в
сроки и способом, принятым на предприятии-потребителе аппарата, в соответствии
с требованием ГОСТ
30167.
(Раздел 7 новая редакция. Изм. № 3).
7.1 Предприятие-изготовитель должно
гарантировать соответствие аппаратов требованиям настоящих технических условий,
технических регламентов Таможенного союза ТР
ТС 010/2011 «О безопасности машин и оборудования» и ТР
ТС 032/2013 «О безопасности оборудования, работающего под избыточным
давлением», ГОСТ Р
52630, ГОСТ
31842 при соблюдении потребителем условий монтажа, эксплуатации,
транспортирования и хранения.
(Измененная редакция. Изм. № 5)
7.2 Гарантийный срок эксплуатации - 18 месяцев со дня ввода
аппаратов в эксплуатацию, но не более 24 месяцев после отгрузки с
предприятия-изготовителя.
7.3 Гарантийный срок консервации - 2 года.
7.4 Гарантийный срок эксплуатации аппаратов, поставляемых на
экспорт, устанавливается 12 месяцев со дня пуска в эксплуатацию, но не более 24
месяцев с даты проследования через государственную границу РФ, если иное не
оговорено в контракте.
Ссылочные нормативно-технические документы
Обозначение
НТД, на который дана ссылка
|
Номер
пункта, приложения
|
Обозначение
НТД, на который дана ссылка
|
Номер
пункта, приложения
|
ГОСТ
9.014-78
|
1.8.3, 1.8.4, 1.9.5
|
ГОСТ
13716-73
|
1.5.26
|
ГОСТ
9.032-74
|
1.8.6
|
ГОСТ
13726-97
|
Табл.
9
|
ГОСТ
9.104-79
|
1.8.6
|
ГОСТ
14114-85
|
1.5.26
|
ГОСТ
9.401-91
|
1.1
|
ГОСТ
14115-85
|
1.5.26
|
ГОСТ
9.402-2004
|
1.8.5, 4.2
|
ГОСТ 14192-96
|
1.7
|
ГОСТ
9.407-84
|
4.2
|
ГОСТ
14637-89
|
Табл.
9
|
ГОСТ
12.0.003-74
|
2.3
|
ГОСТ
14782-86
|
4.2
|
ГОСТ
12.1.004-91
|
2.1
|
ГОСТ
15150-69
|
Введение, 5.4,
5.6
|
ГОСТ
12.1.005-88
|
6.2.9
|
ГОСТ
15151-69
|
1.1
|
ГОСТ
12.1.007-76
|
6.2.9
|
ГОСТ
15180-86
|
1.5.20
|
ГОСТ
12.1.010-76
|
2.1
|
ГОСТ
15527-2004
|
Табл.
9
|
ГОСТ
12.2.003-91
|
2.1
|
ГОСТ
17314-81
|
1.5.25
|
ГОСТ
12.2.007.0-75
|
6.2.7
|
ГОСТ
19281-89
|
Табл.
9
|
ГОСТ
12.2.085-2002
|
2.2, 6.2.14
|
ГОСТ
21646-2003
|
Табл.
9
|
ГОСТ
12.3.009-76
|
5.7
|
ГОСТ
22727-88
|
1.5.5
|
ГОСТ
Р 15.201-2000
|
Введение
|
ГОСТ 23170-78
|
5.5
|
ГОСТ
15.309-98
|
3.1, 3.13
|
ГОСТ 24297-87
|
3.2.2.1
|
ГОСТ
380-2005
|
Табл.
9
|
ГОСТ
24444-87
|
6.1.3
|
ГОСТ 481-80
|
Табл.
9, 1.5.20
|
ГОСТ
24634-81
|
1.9.4
|
ГОСТ
550-75
|
Табл.
9
|
ГОСТ
25054-81
|
Табл.
9
|
ГОСТ
1050-88
|
Табл.
9
|
ГОСТ 25129-82
|
1.8.6
|
ГОСТ
2208-2007
|
Табл.
9
|
ГОСТ
26296-84
|
1.2.13
|
ГОСТ 2850-95
|
Табл.
9
|
ГОСТ
28759.3-90
|
1.3.7
|
ГОСТ
4986-79
|
Табл.
9
|
ГОСТ
28759.4-90
|
1.3.7
|
ГОСТ
5520-79
|
Табл.
9
|
ГОСТ
28759.6-90
|
1.5.20
|
ГОСТ
5632-72
|
Табл.
9
|
ГОСТ
28759.7-90
|
1.5.20
|
ГОСТ
5959-80
|
1.9.4
|
ГОСТ
30167-95
|
6.2.20
|
ГОСТ
6032-2003
|
4.2
|
ГОСТ Р
52630-2012
|
1.1, примеч. 1 и 2 к табл. 9, 1.3.6, 1.4.2, 1.5.2, 1.5.6,
1.5.9, 1.5.13, 1.5.18,
1.5.19, 1.5.23, 1.5.27,
1.8.2, 1.9.2, 1.9.3,
3.1, 3.2,
3.2.2.2, 4.1, 4.2, 5.1, 6.1.2,
6.2.2, 7.1
|
ГОСТ 6465-76
|
1.8.6
|
ГОСТ
7350-77
|
Табл.
9
|
ГОСТ
7512-82
|
4.2
|
ГОСТ
8479-70
|
Табл.
9
|
ГОСТ
8731-74
|
Табл.
9
|
ГОСТ
8733-74
|
Табл.
9
|
ГОСТ
8828-89
|
1.9.4, 1.9.7
|
ГОСТ 9109-81
|
1.8.6
|
ГОСТ
9378-93
|
4.2
|
ГОСТ
31842-2012 (ISO 16812:2007)
|
Введение, 1.1,
1.3.1, 1.3.8 - 1.3.12,
1.4.2, 1.5.1, 1.5.3,
1.5.4, 1.5.6, 1.5.10,
1.5.23, 1.5.24, 1.5.26,
1.5.27, 1.6.1.2, 1.7, 4.2, 7.1
|
ГОСТ
9940-81
|
Табл.
9
|
ГОСТ
9941-81
|
Табл.
9
|
ГОСТ 10144-89
|
1.8.6
|
ГОСТ
12815-80
|
1.3.7
|
ГОСТ
12821-80
|
1.3.7
|
Продолжение
Обозначение
НТД, на который дана ссылка
|
Номер
пункта, приложения
|
Обозначение
НТД, на который дана ссылка
|
Номер
пункта, приложения
|
АТК-РЭ-2013
|
1.6.1.2, 2.1, 6.2.1, 6.2.4
|
ОСТ 26.2.60.14-2001
|
1.3.4
|
ПБ
03-273-99
|
1.5.8
|
ОСТ
26-2079-80
|
4.2
|
ПБ
03-576-03
|
1.1, 1.4.2,
1.5.1, 1.5.6, 1.5.13,
1.5.23, 1.5.27, 1.6.1.2,
2.1, 2.2,
3.2, 4.1,
4.2, 6.1.2, 6.1.7,
6.2.14, 6.2.17
|
ТУ 10-1301-83
|
1.8.6
|
ТУ 14-3-1905-93
|
Табл.
9
|
РД 03-606-03
|
4.2
|
РД
03-615-03
|
1.5.7
|
ПБ
09-563-03
|
2.1
|
РД
09-167-97
|
Введение
|
ОСТ
26-5-99
|
4.2
|
РД
26-11-01-85
|
4.2
|
ОСТ 26-11-03-84
|
4.2
|
РД
24.200.04-90
|
4.2
|
ОСТ
26-11-09-85
|
1.5.5
|
РД
26.260.15-2001
|
4.2
|
ОСТ 26-02-1015-85
|
1.5.10
|
СТП
26.260.2043-2004
|
1.5.21
|
ОСТ
26-17-01-83
|
1.5.10
|
СТО
00220368-014-2009
|
1.5.10
|
ОСТ
26-2040-96
|
1.5.21
|
СТО 00220368-018-2010
|
1.5.12
|
ОСТ
26-2041-96
|
1.5.21
|
СТО 00220256-005-2005
|
4.2
|
ОСТ 26-2042-96
|
1.5.21
|
СО
153-34.21.122-2003
|
6.2.8
|
ОСТ
26-2091-93
|
1.2.12
|
СНиП II-7-81
|
Введение
|
ОСТ
26.260.454-99
|
Примечание
4 к табл. 9
|
|
|
ОСТ
26.260.463-99
|
1.5.20
|
|
|
(Измененная редакция. Изм. № 4, № 5).
Окончание
Обозначение
НТД, на который дана ссылка
|
Номер
пункта, приложения
|
Федеральные
нормы и правила в области промышленной безопасности «Правила безопасности в
нефтяной и газовой промышленности»
|
2.1
|
Федеральные
нормы и правила в области промышленной безопасности «Общие правила
взрывобезопасности для взрывопожароопасных химических, нефтехимических и
нефтеперерабатывающих производств»
|
2.1
|
«Правила
защиты от статического электричества в производствах химической,
нефтехимической и нефтеперерабатывающей промышленности» (ВСН 10-72)
|
2.1
|
Технические регламенты Таможенного союза ТР
ТС 010/2011 «О безопасности машин и оборудования» и ТР
ТС 032/2013 «О безопасности оборудования, работающего под избыточным
давлением»
|
2.1
|
Технический
регламент «О требованиях пожарной безопасности»
|
2.1
|
«Правила устройства электроустановок» (ПУЭ)
|
6.2.7
|
«Правила перевозки грузов», изд.
«Транспорт», Москва, 1977 г.
|
5.2
|
«Сборник правил перевозки грузов на
железнодорожном транспорте». Книга 1, МПС РФ, Москва, 2001 г.
|
«Технические условия
погрузки и крепления грузов», изд. «Транспорт», Москва, 1988 г.
|
5.2
|
(Измененная редакция. Изм. № 1, № 2, № 3,
№ 5).
Приложение 1 (Исключено. Изм. № 3).
Приложение 2 (Исключено. Изм. № 3).
Приложение А
(Измененная редакция. Изм. № 3).
Обязательное
Предельное расчетное давление в зависимости от
расчетной температуры среды для аппаратов типов ТН, ТК, ХН, ХК, КН, КК, ИН, ИК
Давление в кожухе, Ру МПа, не более
|
Предельное
расчетное давление, МПа, при расчетной температуре среды, °С
|
до
100
|
200
|
2501)
|
3001)
|
3501)
|
0,6
|
0,6
|
0,56
|
0,54
|
0,48
|
0,40
|
1,0
|
1,00
|
0,93
|
0,90
|
0,75
|
0,66
|
1,6
|
1,60
|
1,49
|
1,40
|
1,20
|
1,10
|
2,5
|
2,50
|
2,32
|
2,25
|
1,90
|
1,70
|
4,0
|
4,00
|
3,72
|
3,50
|
3,00
|
2,60
|
______________
1) Только для аппаратов
со стальными трубами.
|
Приложение Б
(Измененная редакция. Изм. № 3).
Справочное
Масса воды в объеме аппаратов типов ТН, ТК, ХН, ХК, КН,
КК, ИН, ИК
Диаметр
кожуха, мм
|
Наружный диаметр труб, мм
|
Масса
воды в объеме аппарата, кг, при длине труб, не более
|
наружный
|
внутренний
|
1000
|
1500
|
2000
|
3000
|
4000
|
6000
|
9000
|
159
|
-
|
20
|
20
|
30
|
35
|
50
|
-
|
-
|
-
|
25
|
20
|
30
|
35
|
50
|
-
|
-
|
-
|
273
|
-
|
20
|
55
|
75
|
100
|
145
|
-
|
-
|
-
|
25
|
60
|
80
|
105
|
150
|
-
|
-
|
-
|
325
|
-
|
20
|
-
|
110
|
140
|
210
|
275
|
-
|
-
|
25
|
-
|
150
|
180
|
250
|
315
|
-
|
-
|
426
|
400
|
20
|
-
|
-
|
310
|
420
|
525
|
750
|
-
|
25
|
-
|
-
|
320
|
430
|
540
|
760
|
-
|
630
|
600
|
20
|
-
|
-
|
750
|
1000
|
1240
|
1730
|
-
|
25
|
-
|
-
|
760
|
1020
|
1270
|
1770
|
-
|
-
|
800
|
20
|
-
|
-
|
1450
|
1880
|
2310
|
3180
|
-
|
25
|
-
|
-
|
1470
|
1920
|
2360
|
3250
|
-
|
-
|
1000
|
20
|
-
|
-
|
-
|
2980
|
3650
|
4980
|
6880
|
25
|
-
|
-
|
2500
|
3030
|
3730
|
5100
|
7060
|
-
|
1200
|
20
|
-
|
-
|
-
|
-
|
5240
|
7060
|
10010
|
25
|
-
|
-
|
-
|
4790
|
5260
|
7030
|
10070
|
-
|
1400
|
20
|
-
|
-
|
-
|
-
|
-
|
-
|
-
|
25
|
-
|
-
|
-
|
6230
|
7550
|
10200
|
-
|
ЛИСТ
РЕГИСТРАЦИИ ИЗМЕНЕНИЙ
Изм.
|
Номера
листов (страниц)
|
Всего
листов (страниц) в документе
|
№
документа
|
Входящий
№ сопроводительного документа и дата
|
Подпись
|
Дата
|
Измененных
|
Замененных
|
Новых
|
Аннулированных
|
1
|
|
|
|
Все
|
|
ИИ
|
-
|
|
20.09.2004
|
2
|
|
|
|
Все
|
|
ИИ
|
-
|
|
03.10.2007
|
3
|
2, 3, 4, 5, 21, 24, 25, 36 - 39, 42, 64,
84, 88, 109, 110
|
61, 90 - 104, 111, 112
|
|
105, 106, 107, 108
|
29
|
ИИ
|
-
|
|
16.12.2010
|
4
|
2, 90, 94, 112, 113, 114 (ИИ № 3)
|
|
|
|
|
ИИ
|
-
|
|
13.10.2011
|
СОДЕРЖАНИЕ
1. Технические требования. 4
1.2. Основные параметры и размеры.. 4
1.3. Требования к изготовлению.. 71
1.4 Требования к материалам.. 72
1.5 Требования к изготовлению.. 72
1.6 Комплектность. 74
2 Требования безопасности и экологии. 76
3 Правила приемки. 77
4 Методы контроля. 79
5 Транспортирование и хранение. 81
6 Указания по монтажу и эксплуатации. 81
6.1 Указания по установке и монтажу. 81
6.2 Указания по эксплуатации. 82
7 Гарантии изготовителя. 84
Ссылочные нормативно-технические документы.. 84
Приложение 1. (Исключено. Изм. № 3). 86
Приложение 2. (Исключено. Изм. № 3). 86
Приложение А. Обязательное
Предельное расчетное давление в зависимости от
расчетной температуры среды для аппаратов типов ТН, ТК, ХН, ХК, КН, КК, ИН,
ИК. 86
Приложение Б. Справочное Масса воды в объеме аппаратов типов ТН, ТК, ХН, ХК, КН,
КК, ИН, ИК.. 86
|
|